Скачать Руководство по строительству башенных копров с применением скользящей опалубки

Дата актуализации: 01.01.2021

Руководство по строительству башенных копров с применением скользящей опалубки

Статус:справочные материалы, мп, тпр
Название рус.:Руководство по строительству башенных копров с применением скользящей опалубки
Дата добавления в базу:01.01.2019
Дата актуализации:01.01.2021
Область применения:Руководство предназначено для работников шахтостроительных и проектных организаций угольной и горнорудной промышленности. Освещает вопросы производства работ по сооружению монолитных железобетонных башенных копров в увязке с прохождением вертикальных стволов
Оглавление:Введение
   Общие положения
   Состав технической документации и требования к ней
   Последовательность возведения башенного копра
   Подготовительные работы
Возведение подземной части копра
   Земляные работы
   Бетонирование фундамента под башенный копер
Конструкция и монтаж скользящей опалубки
   Конструктивная характеристика форм скользящей опалубки
   Инвентарная металлическая опалубка
   Деревометаллическая опалубка
   Устройство рабочего пола
   Устройство подвесных лесов
   Сборка скользящей опалубки
   Монтаж домкратов и оборудования
   Заготовка и монтаж домкратных стержней
Возведение надземной части копра
   Транспортирование материалов
   Установка арматуры
   Бетонирование стен копра в скользящей опалубке
   Контроль за движением опалубки
   Раскрепление домкратных стержней
   Установка оконных и дверных блоков и временных коробок
   Устройство лестниц
   Устройство перекрытий
   Устройство фундаментов подъемных машин и консолей
   Устройство бункеров
   Устройство машинного зала
   Особенности остановки подвижной опалубки
   Отделка выходящего из форм бетона
   Утепление стен копра
   Разборка скользящей опалубки
   Бетонирование в зимних условиях
Правила по технике безопасности
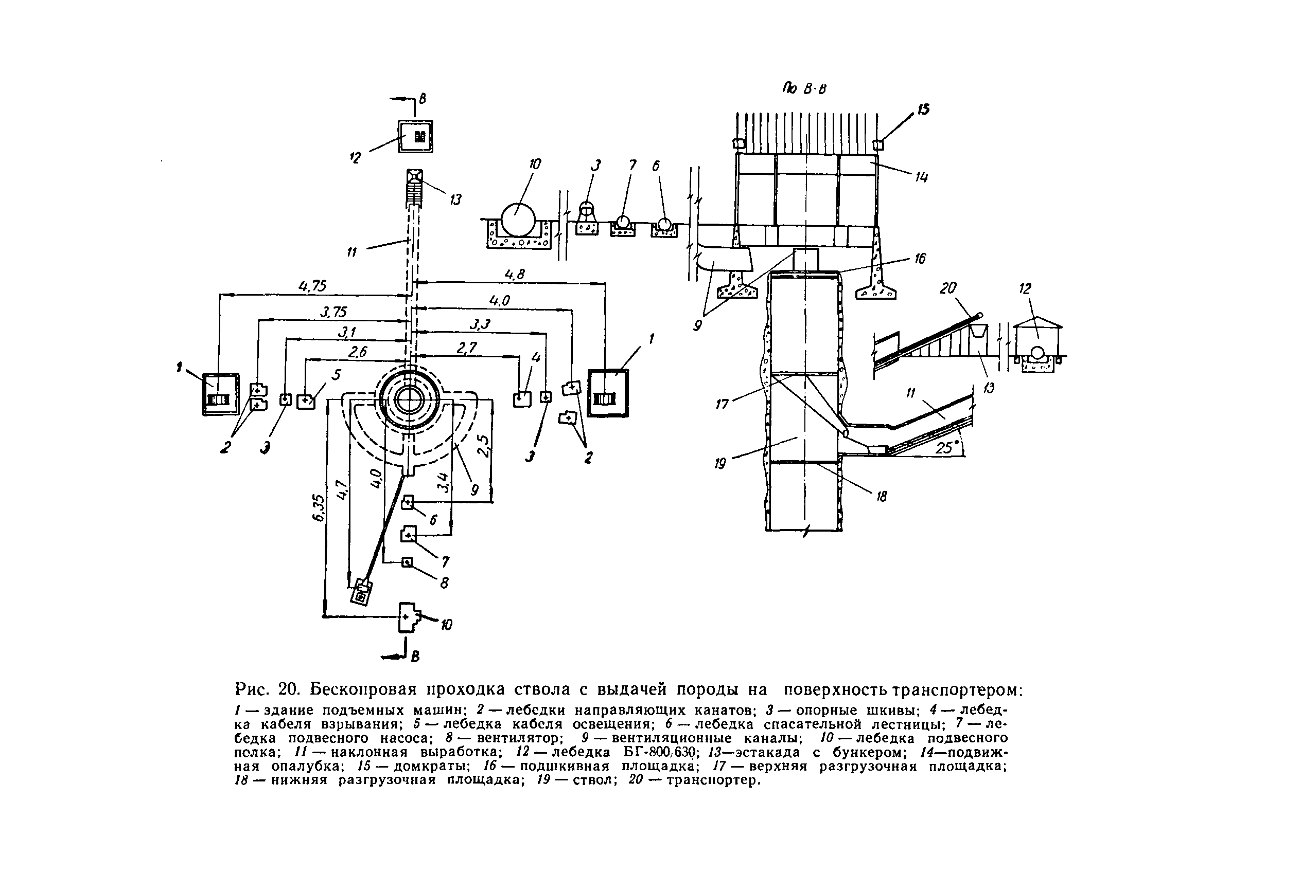
Одновременное ведение работ по строительству башенного копра и проходки ствола
Приложение 1. Акт технического осмотра скользящей опалубки башенного копра
Приложение 2. Журнал производства работ по возведению башенного копра в скользящей опалубке
Приложение 3. Строительно-монтажное управление
Разработан: Донецкий Промстройниипроект
Союзметаллургстройниипроект
Утверждён: Госстрой СССР
Издан: Издательство Будiвельник (1965 г. )