Скачать Руководство по дегазации угольных шахтДата актуализации: 01.01.2021 |
| Статус: | отменен |
| Название рус.: | Руководство по дегазации угольных шахт |
| Дата добавления в базу: | 01.01.2019 |
| Дата актуализации: | 01.01.2021 |
| Область применения: | В руководстве дано описание способов и схем дегазации, приведены их параметры и эффективность, изложены общие положения по проектированию дегазации, вопросы организации и технологии ведения дегазационных работ, техники безопасности, контроля эффективности дегазации и определения объемов каптируемого в шахтах метана |
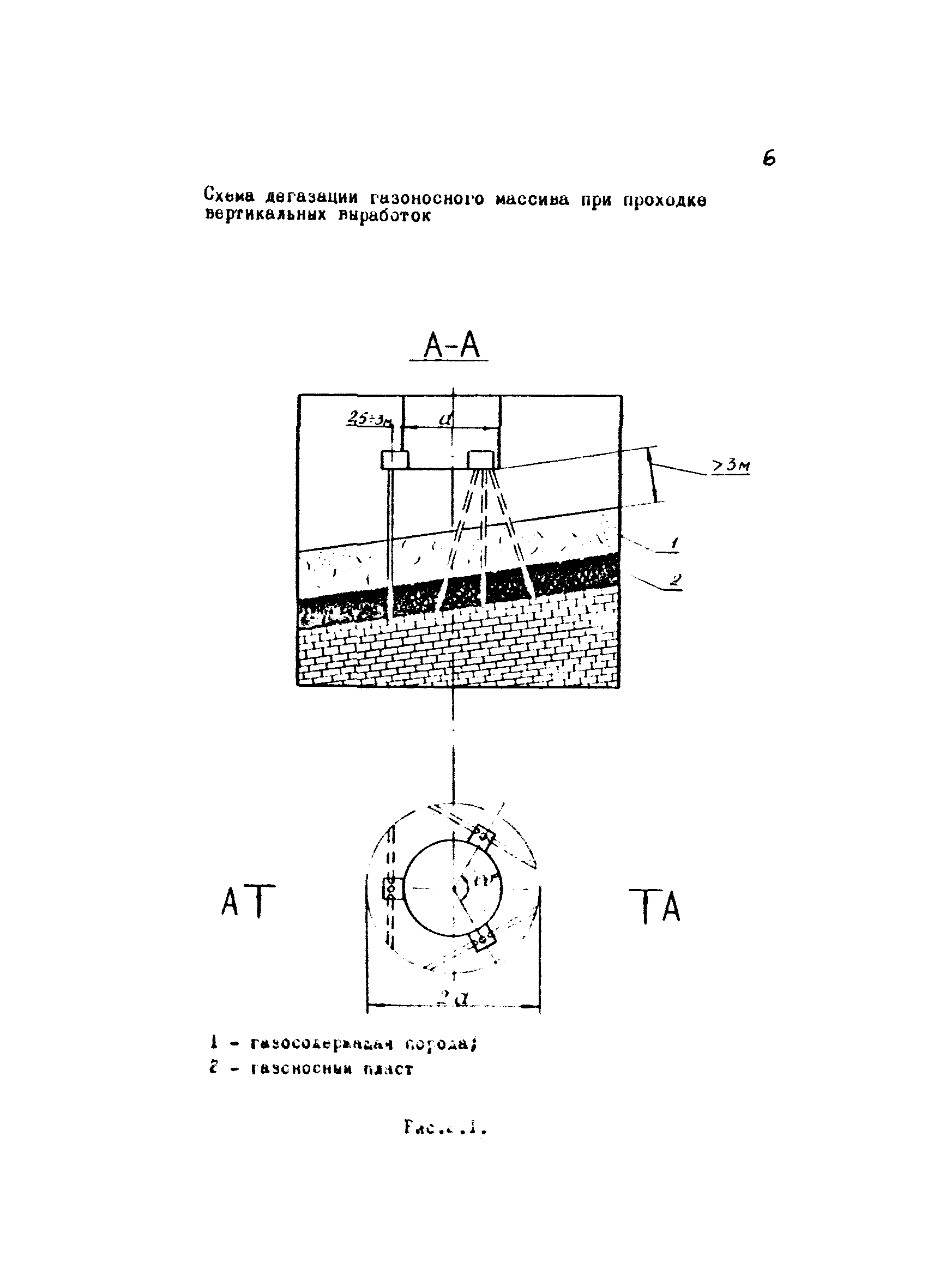
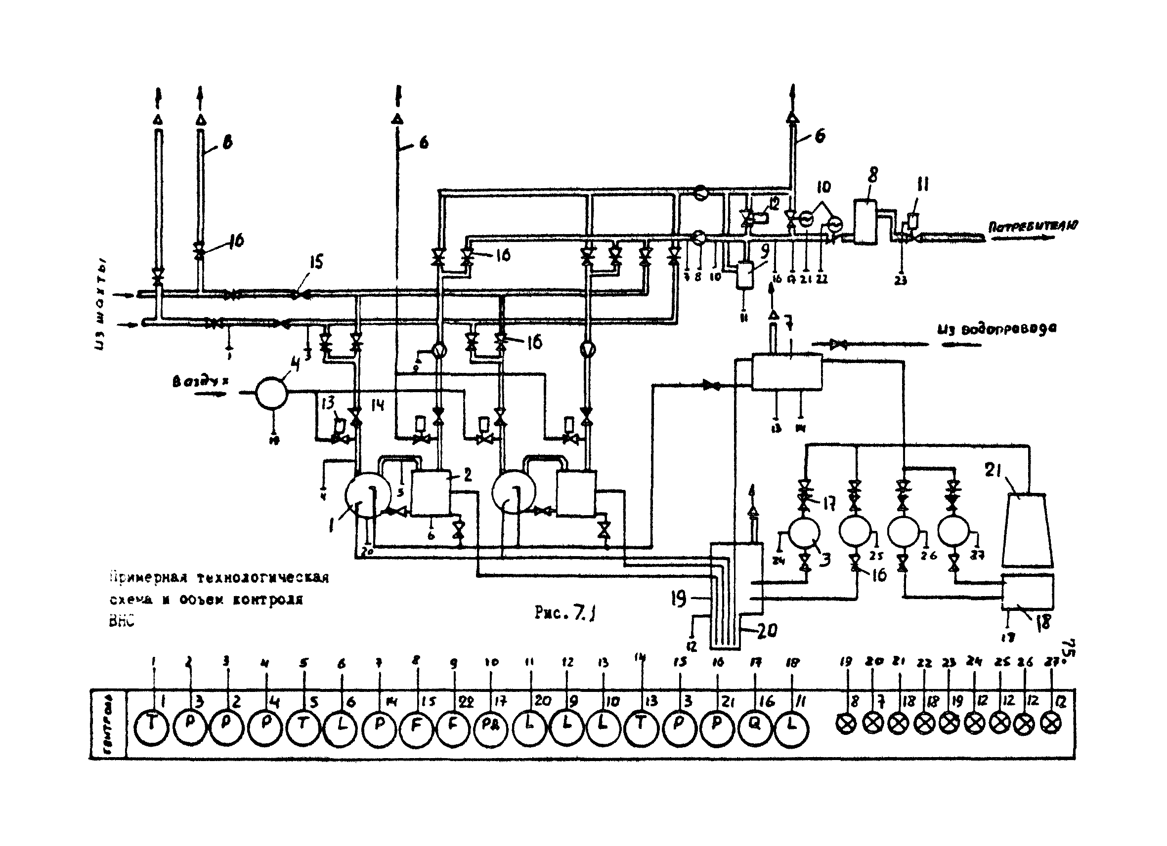
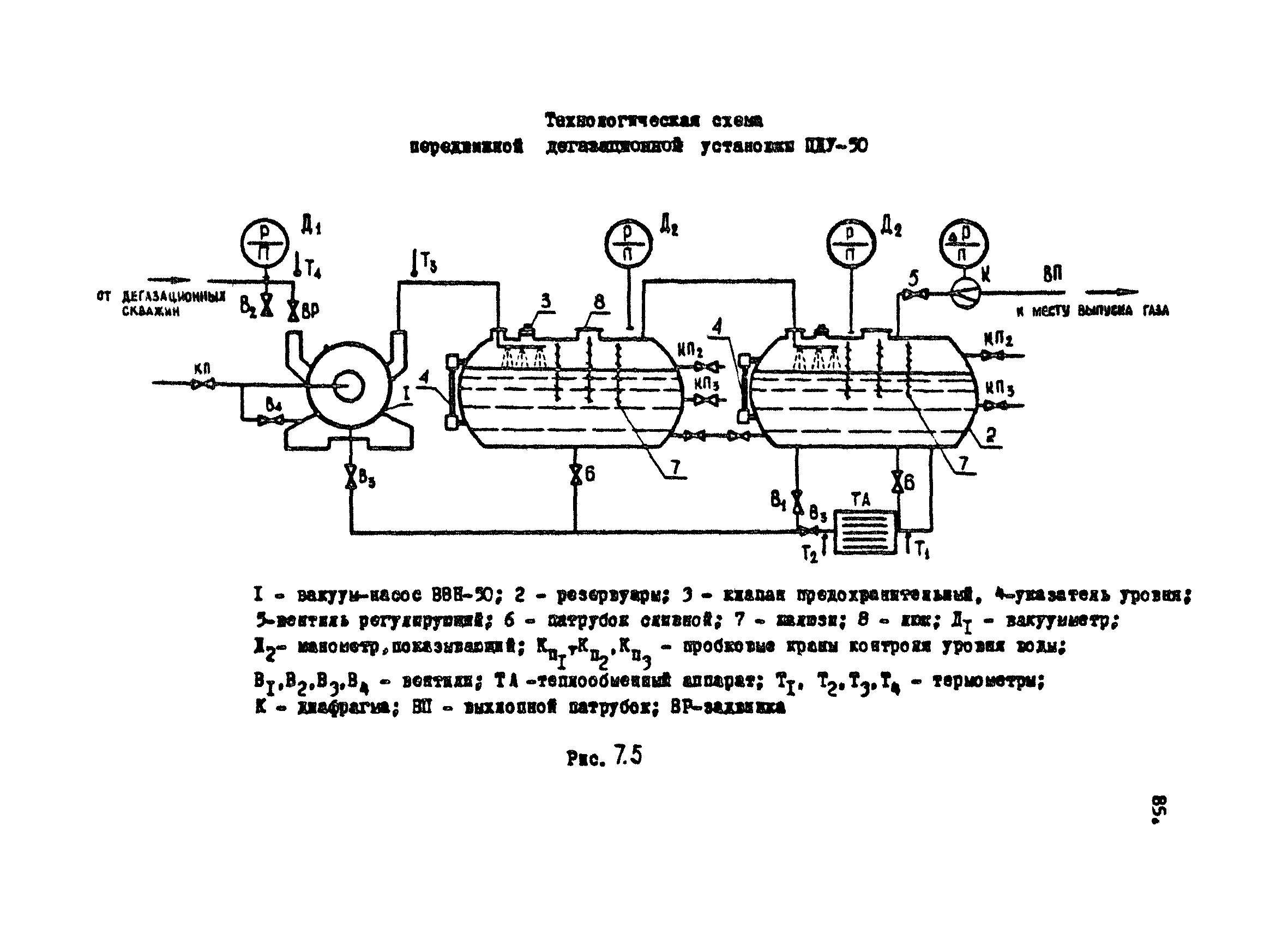
| Оглавление: | 1. Общие положения по дегазации угольных шахт 2. Способы дегазации неразгруженных угольных пластов 2.1. Дегазация при проведении горных выработок 2.2. Дегазация разрабатываемых угольных пластов скважинами, пробуренными из выработок 2.3. Дегазация разрабатываемых пластов скважинами с применением гидроразрыва 2.4. Дегазация угольных пластов скважинами гидрорасчленения, пробуренными с поверхности 3. Дегазация сближенных угольных пластов и вмещающих пород 3.1. Дегазация подрабатываемых пологих и наклонных пластов скважинами из выработок 3.2. Дегазация подрабатываемых пологих и наклонных пластов скважинами с поверхности 3.3. Дегазация надрабатываемых пологих и наклонных пластов 3.4. Дегазация подрабатываемых и надрабатываемых крутых пластов 4. Дегазация выработанного пространства 4.1. Дегазация выработанного пространства скважинами из подземных выработок 4.2. Дегазация выработанного пространства скважинами с поверхности 5. Метод предупреждения борьбы с суфлярами 6. Технология и организация ведения дегазационных работ 6.1. Бурение и герметизация скважин 6.2. Газопроводы 6.3. Контроль работы дегазационной сети 6.4. Организация службы дегазации 7. Вакуум-насосные станции (ВНС) 7.1. Общие положения 7.2. Стационарная вакуум-насосная станция на поверхности 7.3. Передвижные поверхностные вакуум-насосные станции 7.4. Передвижная подземная дегазационная установка Инструкция по безопасному ведению дегазационных работ на шахтах I. Общие положения II. Вакуум-насосные станции III. Газопроводы IV. Бурение дегазационных скважин V. Обслуживание дегазационной системы Приложение 1. Указания по определению параметров дегазации 1. Эффективность дегазации и ее контроль 2. Параметры дегазации при проведении подготовительных выработок 3. Параметры дегазации разрабатываемых пластов скважинами 4. Параметры гидроразрыва пласта через скважины, пробуренные из выработок 5. Параметры гидрорасчленения пластов Карагандинского бассейна через скважины, пробуренные с поверхности 6. Параметры дегазации подрабатываемых пологих и наклонных пластов 7. Параметры дегазации надрабатываемых пологих и наклонных пластов скважинами, пробуренными из выработок 8. Параметры дегазации подрабатываемых и надрабатываемых крутых пластов скважинами, пробуренными из выработок 9. Параметры дегазации выработанного пространства 10. Расчет газопроводов, выбор вакуум-насосов 11. Определение объемов каптируемого в шахтах метана 12. Приближенное определение необходимого количества скважин и разрежения в них при дегазации подрабатываемого массива Приложение 2. Методические указания по проведению вакуумно-газовой съемки в дегазационном трубопроводе Приложение 3. Определение мест подсосов воздуха в скважины, выбор способов их снижения Условные обозначения к приложениям |
| Разработан: | ИПКОН АН СССР ВостНИИ (Восточный научно-исследовательский институт по безопасности работ в горной промышленности) Днепрогипрошахт Карагандагипрошахт ПечорНИИпроект Донгипрошахт ДонУГИ ИГД им. А.А. Скочинского ВНИИОМШС МакНИИ |
| Утверждён: | 15.03.1990 Госгортехнадзор СССР (USSR Gosgortekhnadzor ) 29.05.1990 Министерство угольной промышленности СССР (USSR Ministry of the Coal Industry ) |
| Принят: | 15.02.1990 Госстрой СССР |
| Заменяет собой: |
|
































































































































































































