Скачать Руководство по контролю параметров пылегазовых потоков на предприятиях угольной промышленностиДата актуализации: 01.01.2021 |
| Статус: | справочные материалы, мп, тпр |
| Название рус.: | Руководство по контролю параметров пылегазовых потоков на предприятиях угольной промышленности |
| Дата добавления в базу: | 01.01.2019 |
| Дата актуализации: | 01.01.2021 |
| Область применения: | В руководстве даны основные характеристики источников выбросов вредных веществ в атмосферу на предприятиях угольной промышленности, рассмотрены требования к пылеулавливающим установкам, выбору оборудования и мест замеров; приведен порядок определения параметров пылегазовых потоков; даны методики и примеры расчета, включены номограммы, упрощающие расчеты. Руководство предназначено для работников санитарно-профилактических лабораторий производственных объединений и промышленных предприятий, занимающихся вопросами обследования источников загрязнения атмосферы и контроля эффективности работы пылеулавливающих установок предприятий угольной промышленности |
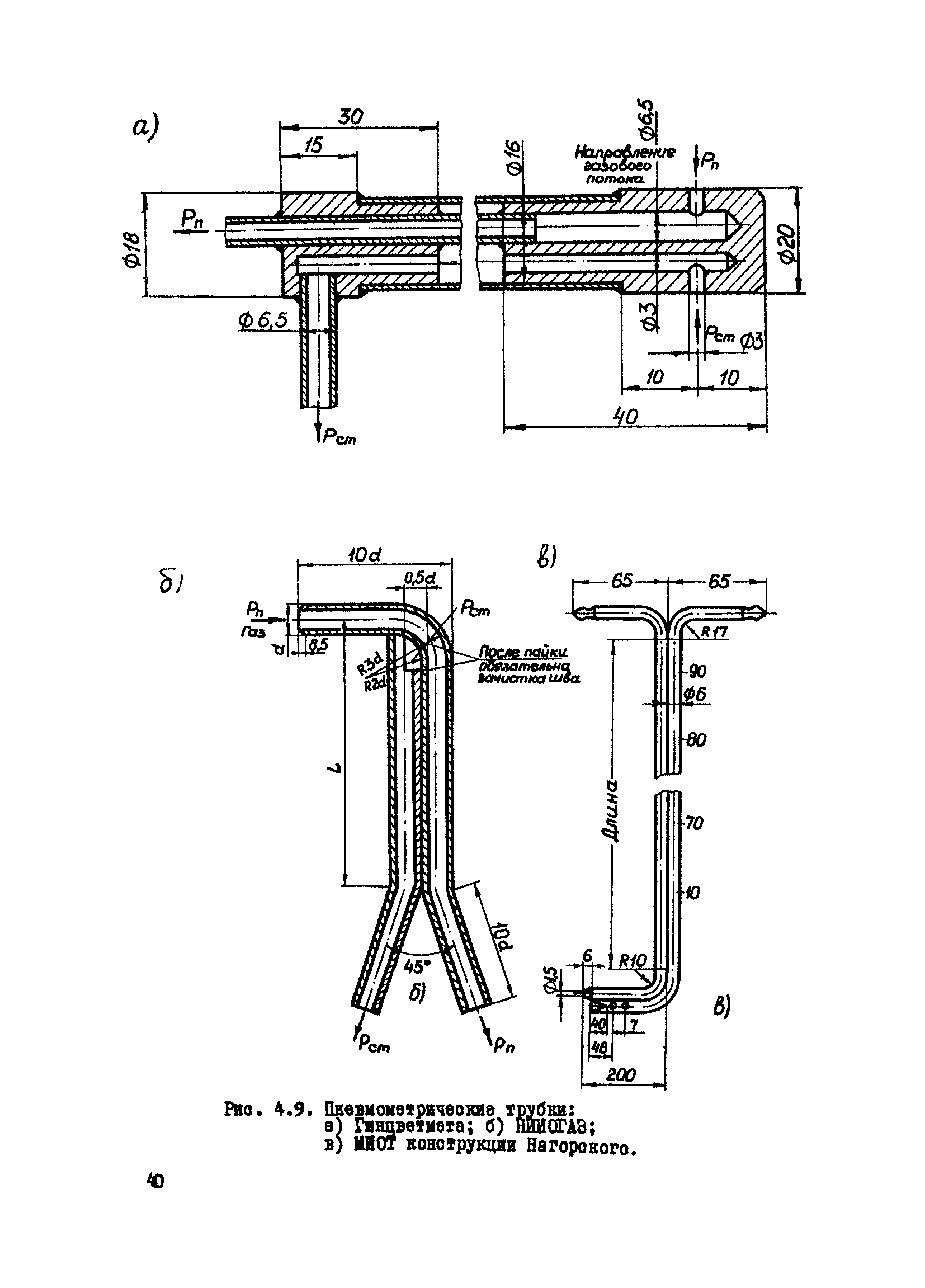
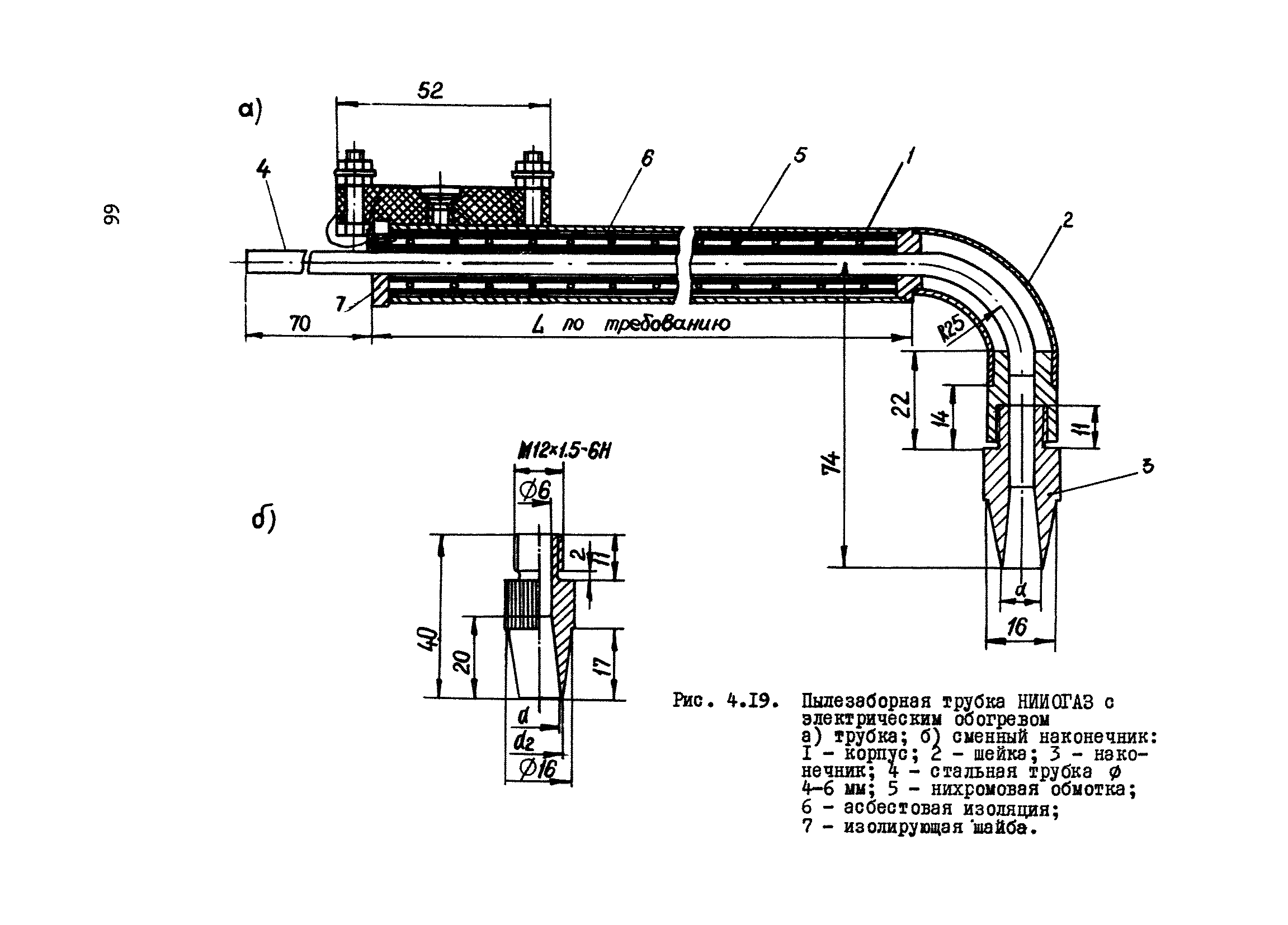
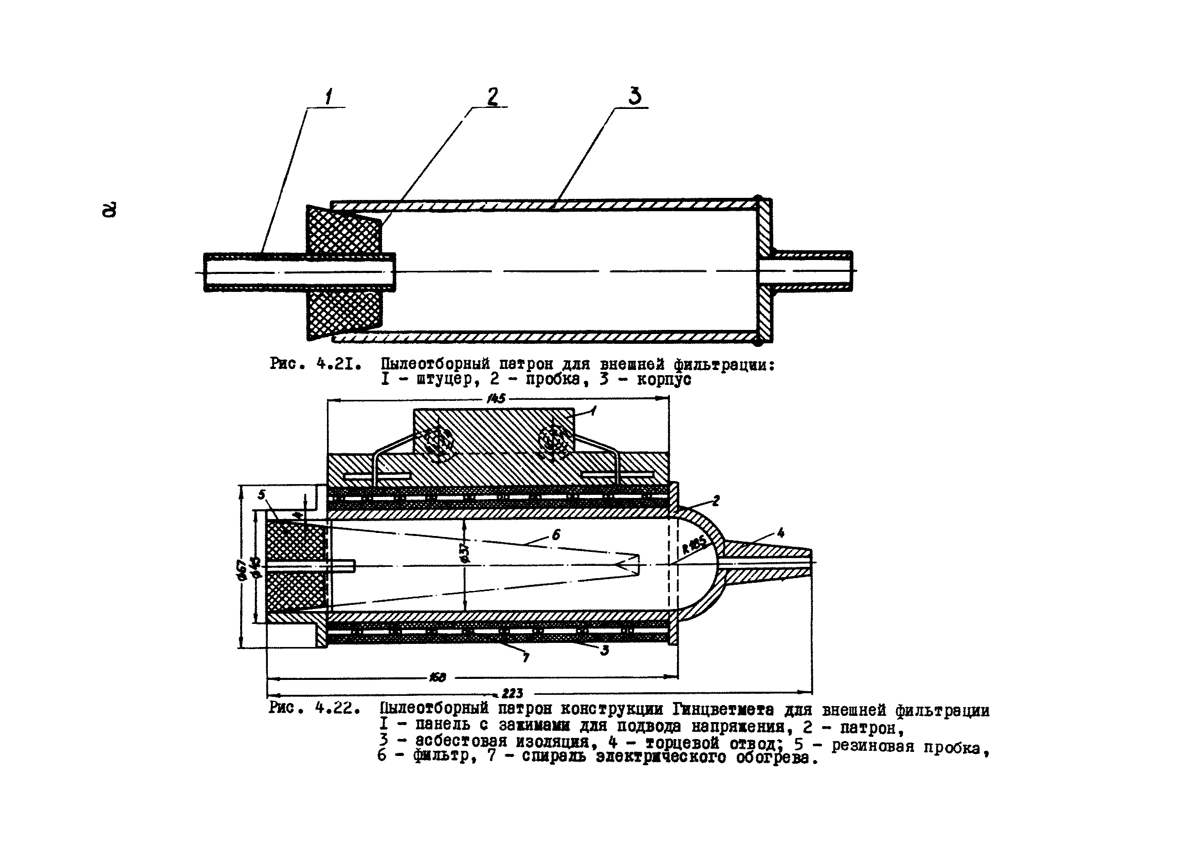
| Оглавление: | Введение 1. Характеристика основных источников выбросов вредных веществ в атмосферу на предприятиях угольной промышленности 1.1. Котельные установки и тепловые электростанции 1.2. Обогатительные фабрики 1.3. Брикетные фабрики 1.4. Машиностроительные заводы и ремонтно-механические заводы 2. Требования к пылеулавливающим установкам в период проверки эффективности 3, Выбор и оборудование мест замера параметров пылегазовых потоков 4. Определение основных параметров пылегазовых потоков 4.1. Измерение температуры газов 4.2. Измерение влажности газов 4.3. Определение плотности 4.4. Измерение давления 4.5. Определение скорости и расхода газов 4.6. Определение запыленности 5. Расчет эффективности работы пылеулавливающего оборудования 6. Техника безопасности при определении параметров пылегазовых потоков 7. Литература 8. Приложение. Графики и таблицы для определения параметров пылегазовых потоков |
| Разработан: | ВНИИОСуголь |
| Утверждён: | Министерство угольной промышленности СССР (USSR Ministry of the Coal Industry ) |
| Заменяет собой: |
|
| Нормативные ссылки: |
|




























































































































