Скачать Руководство по использованию комплекса техногенных мероприятий для профилактики и тушения пожаров на разрезахДата актуализации: 01.01.2021
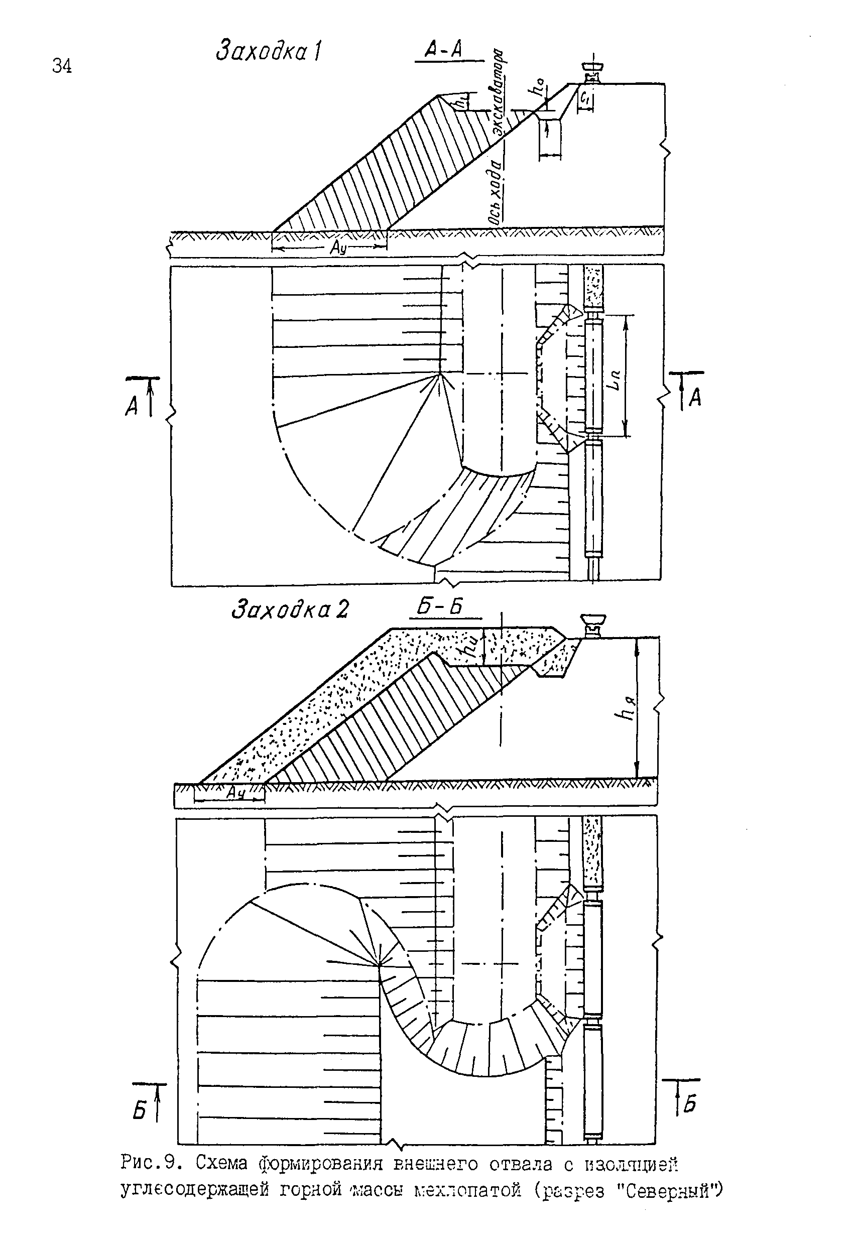
Руководство по использованию комплекса техногенных мероприятий для профилактики и тушения пожаров на разрезах| Статус: | справочные материалы, мп, тпр | | Название рус.: | Руководство по использованию комплекса техногенных мероприятий для профилактики и тушения пожаров на разрезах | | Дата добавления в базу: | 01.01.2019 | | Дата актуализации: | 01.01.2021 | | Область применения: | В руководстве предложены классификация разрезов по степени пожароопасности и общие мероприятия по снижению пожароопасности; рекомендованы способы и средства борьбы с эндогенными и экзогенными пожарами в целиках, породно-угольных скоплениях, складах угля и породных отвалах; приведены принципиальные технологические схемы профилактики и тушения пожаров, технические характеристики оборудования, предназначенного для механизации профилактических работ, мероприятия по технике безопасности при тушении пожаров с использованием антипирогенов и рекомендации по организации службы по профилактике и тушению пожаров на разрезах | | Оглавление: | Введение 1. Общие сведения 2. Классификация разрезов по степени пожароопасности 3. Общие положения комплексной борьбы с пожарами на разрезах 4. Способы и средства обнаружения эндогенных пожаров 5. Комплекс техногенных мероприятий для профилактики и тушения пожаров на разрезах 6. Средства механизации работ при выполнении комплекса техногенных мероприятий 7. Техника безопасности при профилактике и тушении пожаров 8. Организация службы профилактики и тушения пожаров на разрезах Приложение 1. Методика определения суммарного числового значения пожароопасных факторов по разрезам Приложение 2. Продолжительность инкубационного периода самонагревания угля на потенциально пожароопасных объектах разрезов различной категории пожароопасности Приложение 3. Перечень мероприятий по профилактике и тушению эндогенных пожаров на разрезах Приложение 4. План профилактики и тушения пожаров Приложение 5. Книга инструктажа рабочих и ИТР по безопасности работ Приложение 6. Измерение температуры электротермометрами и термопарами Приложение 7. Измерение энергии тепловых излучений индикатором "Квант-РТ" (Пировидикон-3) Приложение 8. Обнаружение эндогенных пожаров путем замера содержания СО индикатором ГХ-4 (ГХ-5) Приложение 9. Книга регистрации эндогенных пожаров Приложение 10. Периодичность замера температуры в зависимости от инкубационного периода Приложение 11. Техническая характеристик профилактических, пламегасящих и огнезащитных химических веществ и составов Приложение 12. Спецификация элементов конструкции устройства для разделки исходных компонентов антипирогена Приложение 13. Техническая характеристика СПА-2 Приложение 14. Перечень оборудования, приборов, материалов для оснащения участка ВПТБ Приложение 15. Сведения о заводах-изготовителях оборудования и приборов для участка ВПТБ Приложение 16. Примерная структура, норматив численности и режим работы ГПТК (участка ВПТБ) | | Разработан: | НИИОГР
| | Утверждён: | 18.11.1993 Росуголь
| | Принят: | 15.11.1993 Минтопэнерго России (Russian Federation Mintopenergo )
|
                                                                                  
|