Скачать Методические положения формирования и экономической оценки шахтовариантов с помощью математического моделирования

Дата актуализации: 01.01.2021

Методические положения формирования и экономической оценки шахтовариантов с помощью математического моделирования

Статус:справочные материалы, мп, тпр
Название рус.:Методические положения формирования и экономической оценки шахтовариантов с помощью математического моделирования
Дата добавления в базу:01.01.2019
Дата актуализации:01.01.2021
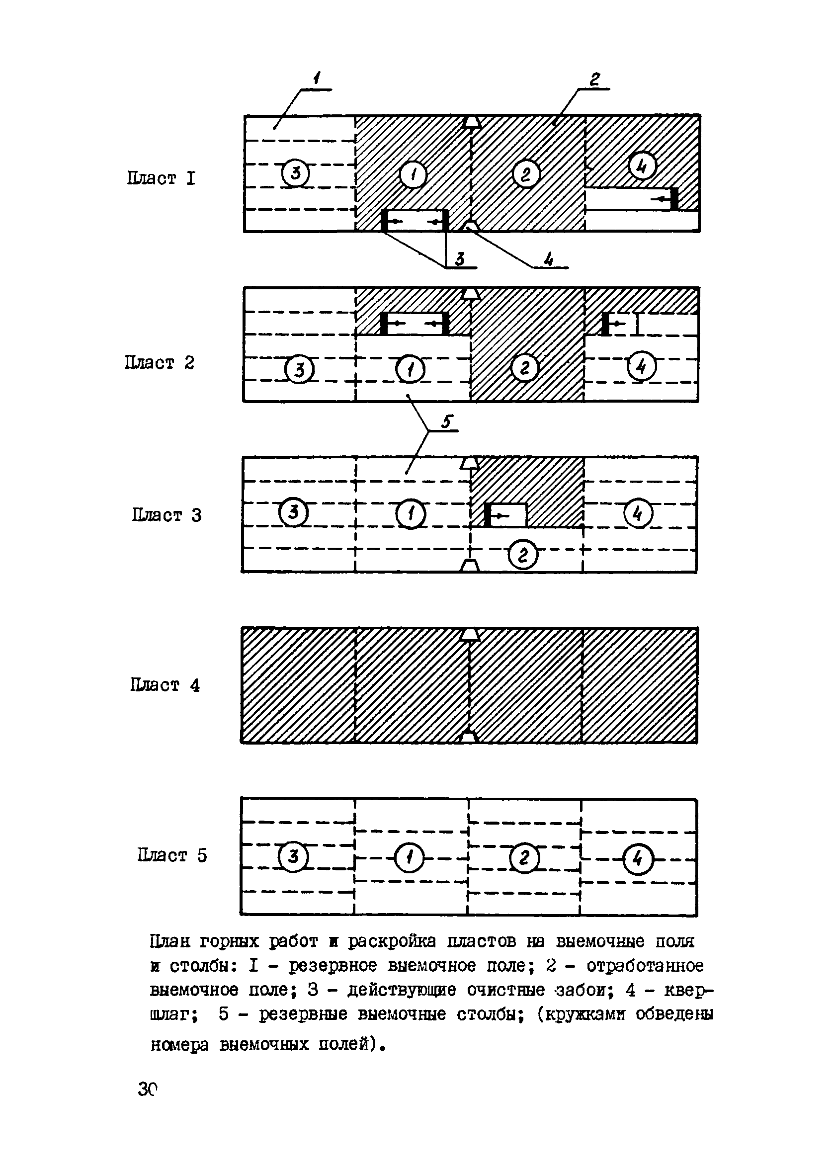
Область применения:Методические положения предназначены для использования их в проектных и научно-исследовательских организациях Минуглепрома СССР при разработке экономико-математических моделей действующих и строящихся шахт. Помимо структурных построений экономико-математических моделей шахт в работе приводится решение наиболее сложных задач, составляющих основу плановых расчетов
Оглавление:Введение
1. Общие положения формирования шахтовариантов и построения экономико-математической модели шахты
2. Постановка задачи
3. Информационная база задачи
4. Принципы формализации основных технологических процессов шахты
   4.1. Календарный план развития очистных и подготовительных работ
   4.2. Основные положения расчета пропускной способности вентиляционных звеньев шахты
   4.3. Основные положения расчета пропускной способности транспортных звеньев шахты
   4.4. Проверка соответствия шахтовариантов требованиям правил эксплуатация и безопасности
   4.5. Определение зольности добываемого шахтой угля
Литература
Разработан: ЦНИЭИуголь
Утверждён:29.12.1983 Министерство угольной промышленности СССР (USSR Ministry of the Coal Industry )
Нормативные ссылки: