Скачать Руководство по обогащению угля в магнетитовой суспензии (основные параметры)

Дата актуализации: 01.01.2021

Руководство по обогащению угля в магнетитовой суспензии (основные параметры)

Статус:справочные материалы, мп, тпр
Название рус.:Руководство по обогащению угля в магнетитовой суспензии (основные параметры)
Дата добавления в базу:01.01.2019
Дата актуализации:01.01.2021
Область применения:В работе изложены основные параметры технологического процесса обогащения крупного и мелкого угля в магнетитовой суспензии, разработанные на основе обобщения промышленного опыта работы отечественных обогатительных фабрик и установок. Даны принципиальные технологические схемы обогащения угля и регенерации суспензии и помещена краткая характеристика основного и вспомогательного оборудования; изложены нормы расчета нагрузок на оборудование. Параметры и нормативные рекомендации предназначены для использования при проектировании фабрик и установок с применением технологии обогащения угля в магнетитовой суспензии, а также при контроле и регулировании процесса на действующих предприятиях
Оглавление:1. Введение
2. Требования, предъявляемые к магнетитовому утяжелителю, и расчет компонентов суспензии
   2.1. Характеристика магнетита
   2.2. Реологические параметры суспензии и нормы содержания в ней шлама
   2.3. Основные формулы для расчета параметров суспензии
   2.4. Расчет компонентов суспензий, загрязненных шламом
   2.5. Улучшение свойств суспензий
3. Схемы технологического процесса обогащения угля в магнетитовой суспензии
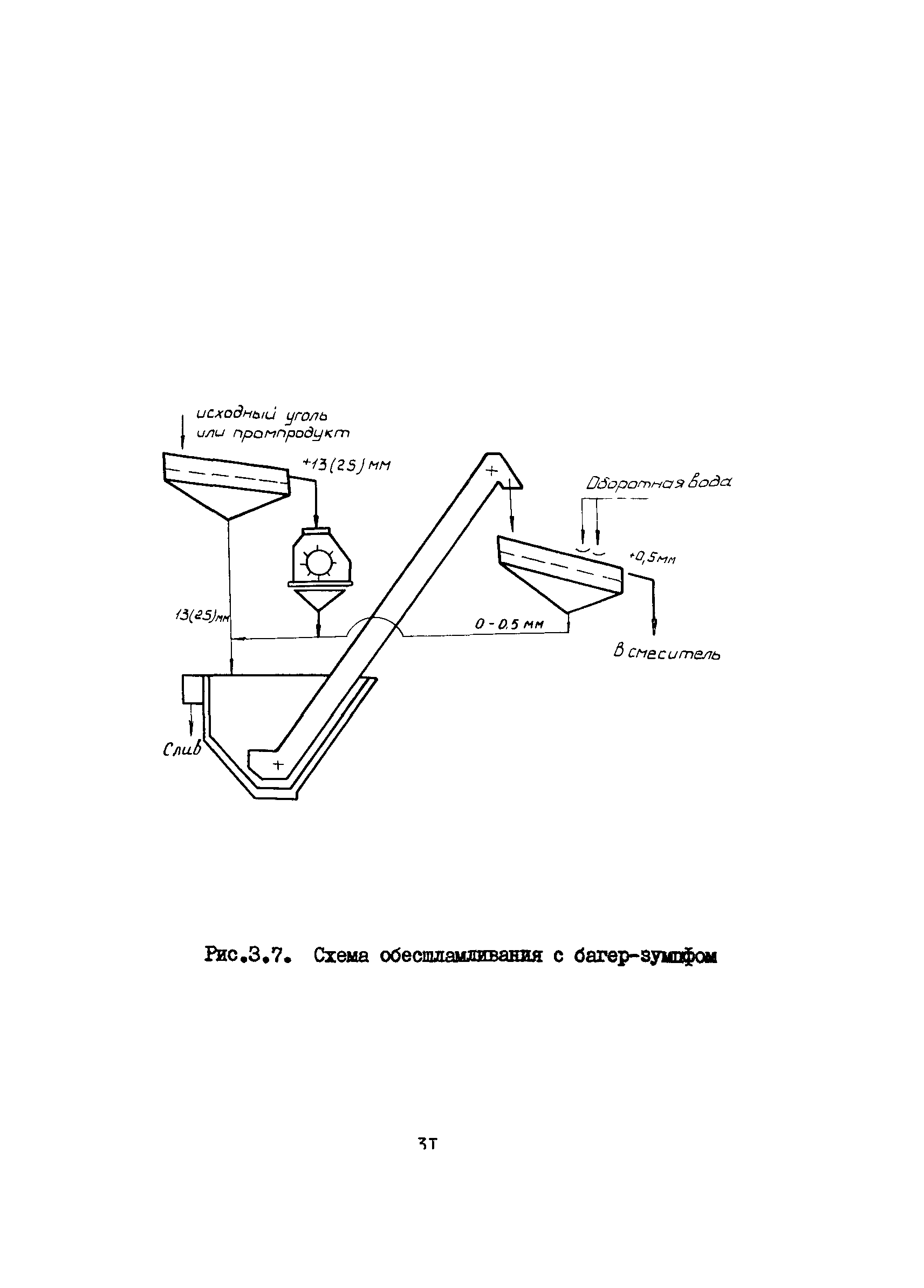
   3.1. Схемы подготовки угля. Классификация и обесшламливание
   3.2. Приготовление магнетитовой суспензии
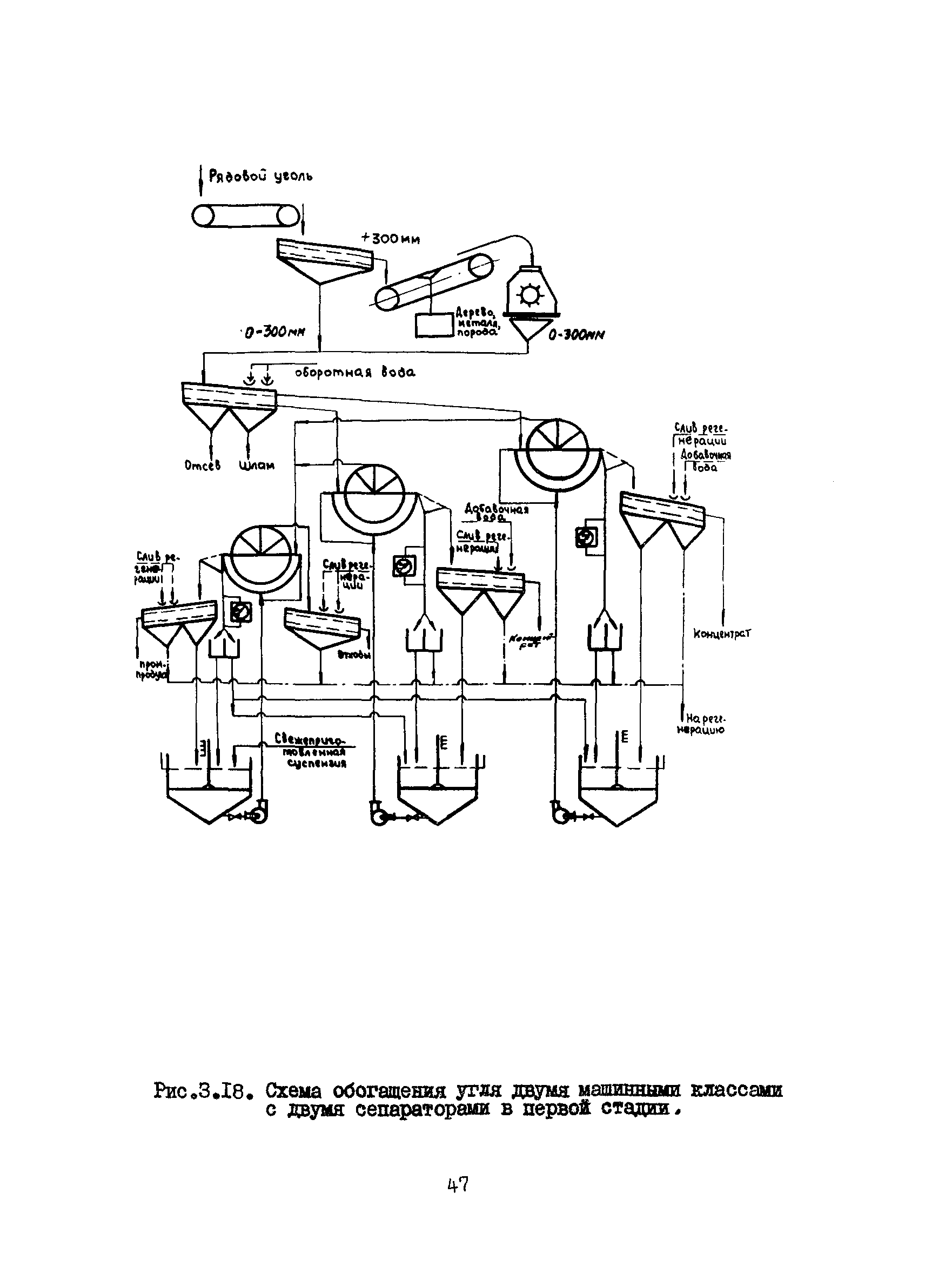
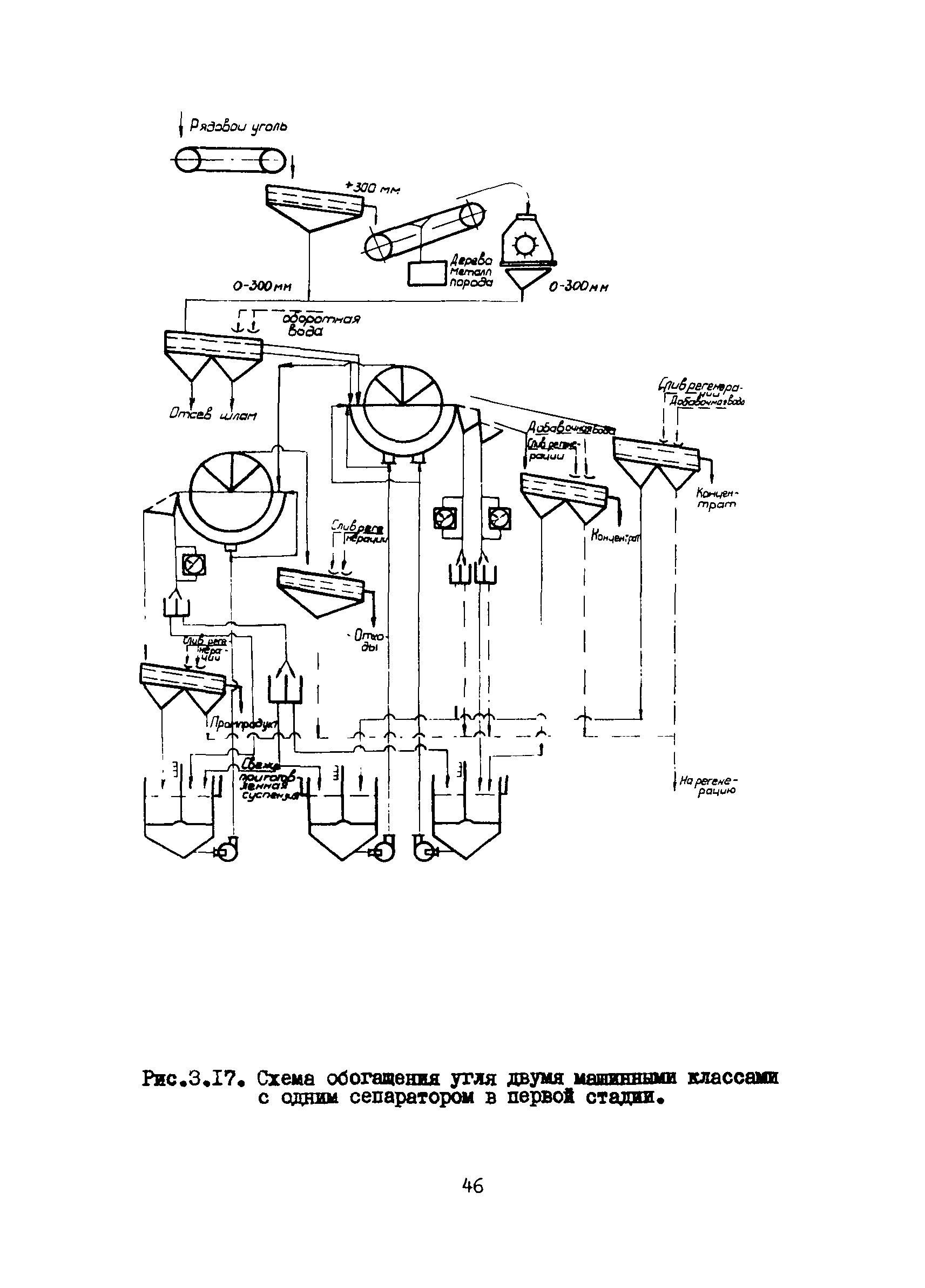
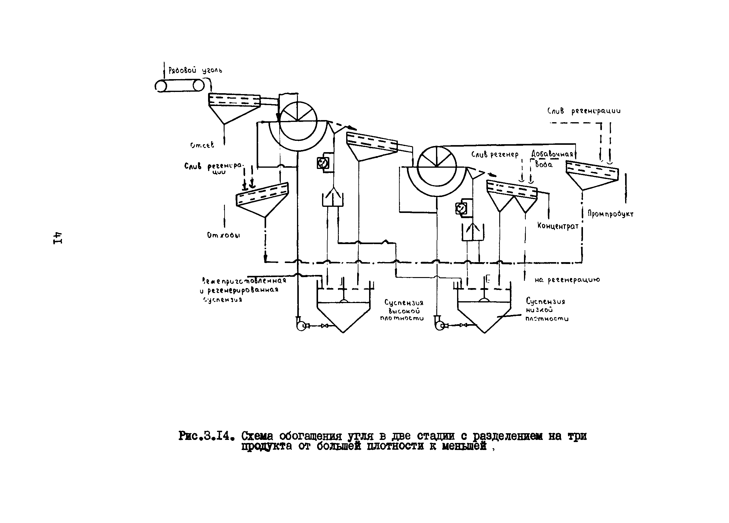
   3.3. Схемы обогащения угля в сепараторах
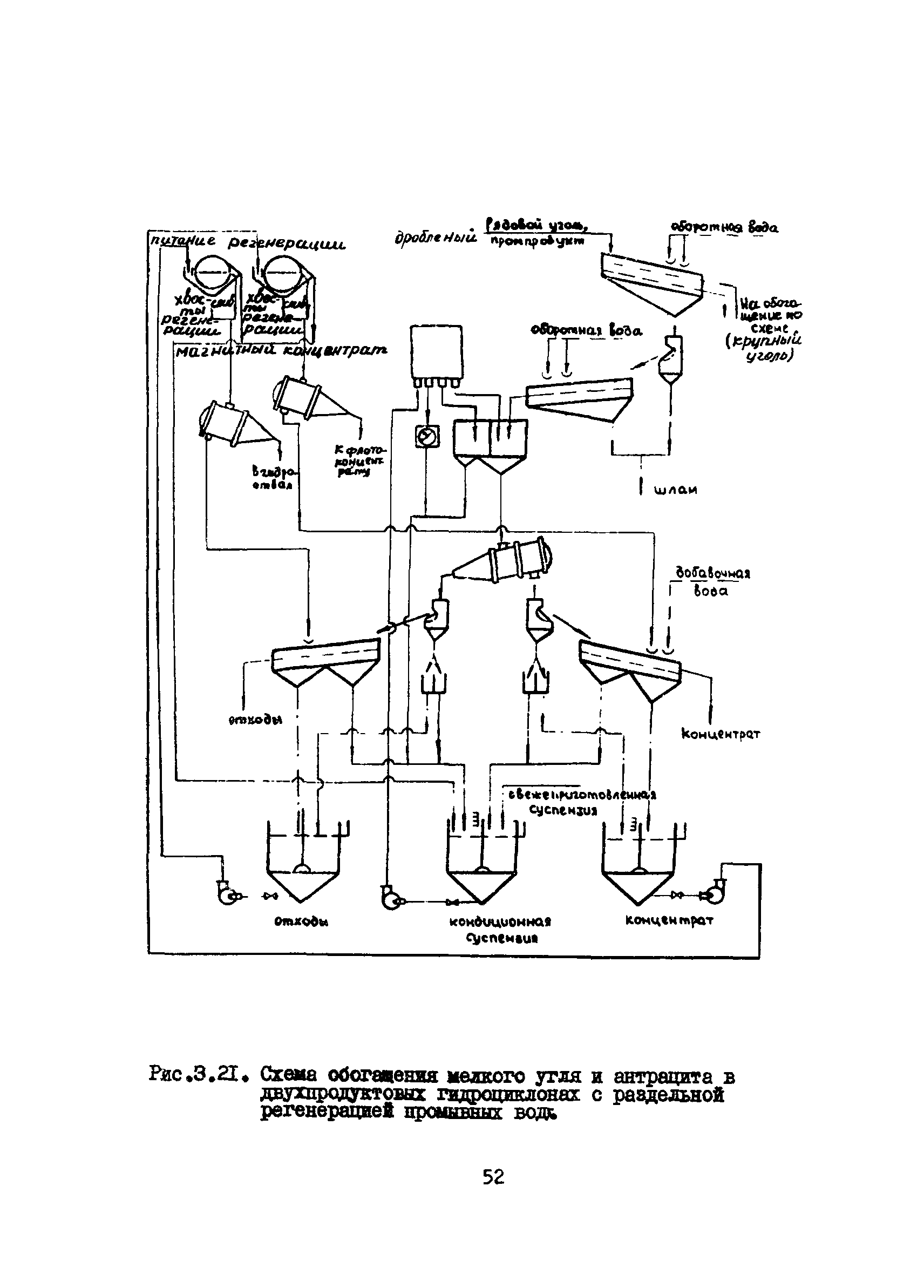
   3.4. Схемы обогащения мелкого угля и переобогащения промпродукта в гидроциклонах
4. Технологические схемы регенерации суспензии
   4.1. Схема регенерации суспензии в одну стадию
   4.2. Двухстадиальная схема регенерации суспензии
   4.3. Комбинированная схема регенерации суспензии
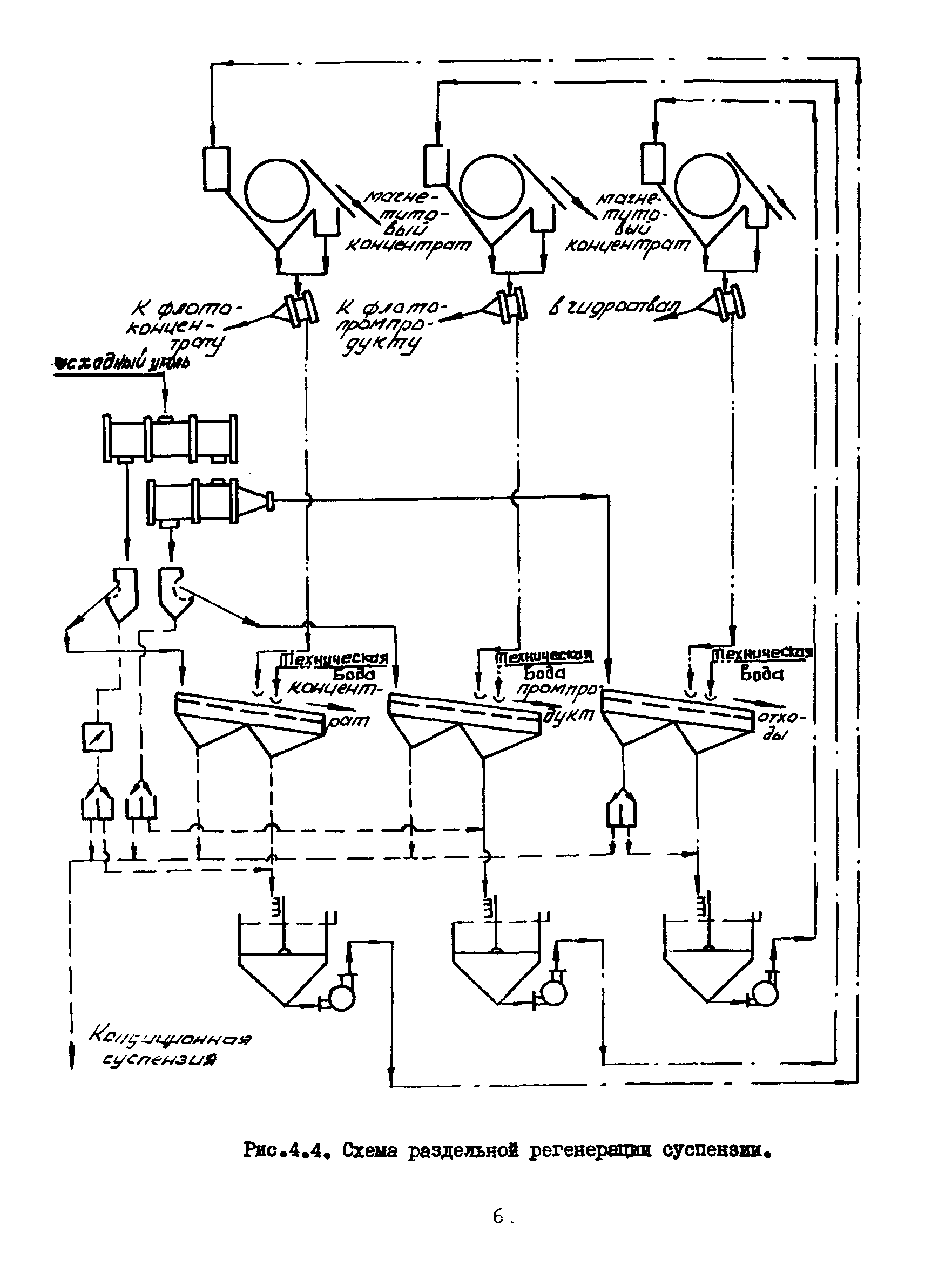
   4.4. Схема раздельной регенерации суспензии
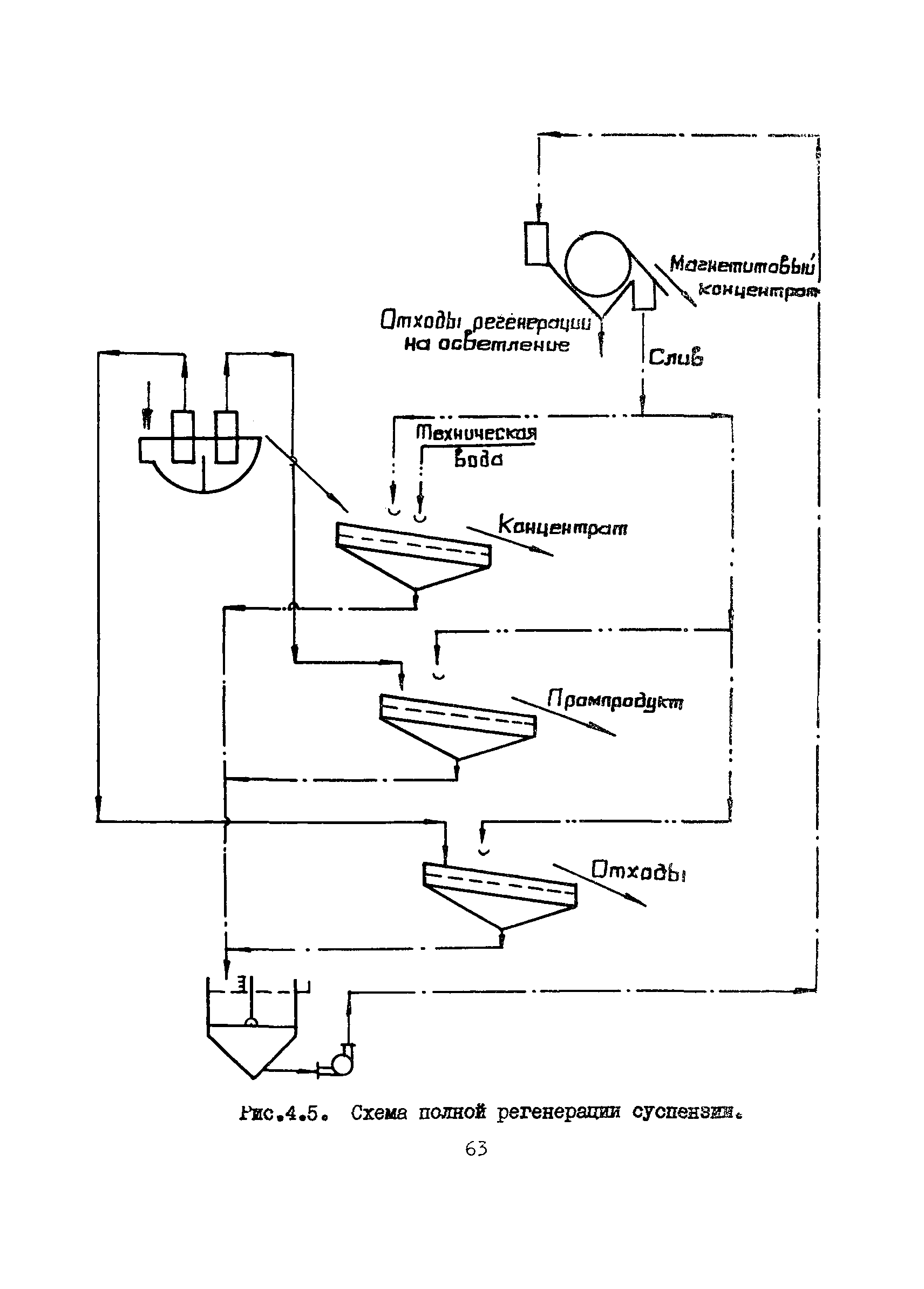
   4.5. Схема полной регенерации суспензии
5. Оборудование, применяемое для обогащения в тяжелых средах
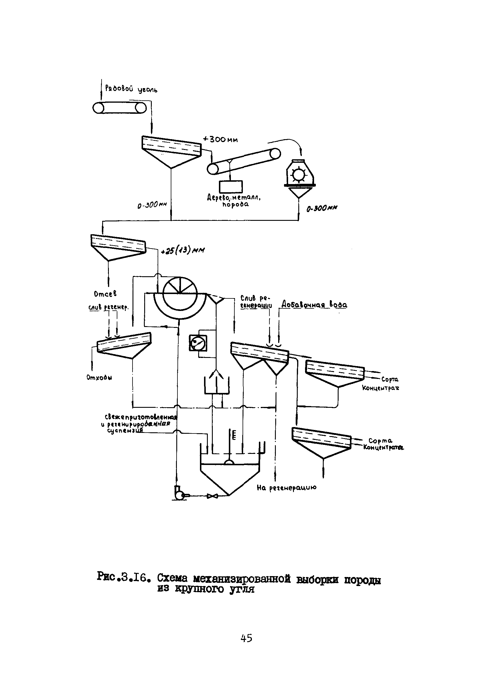
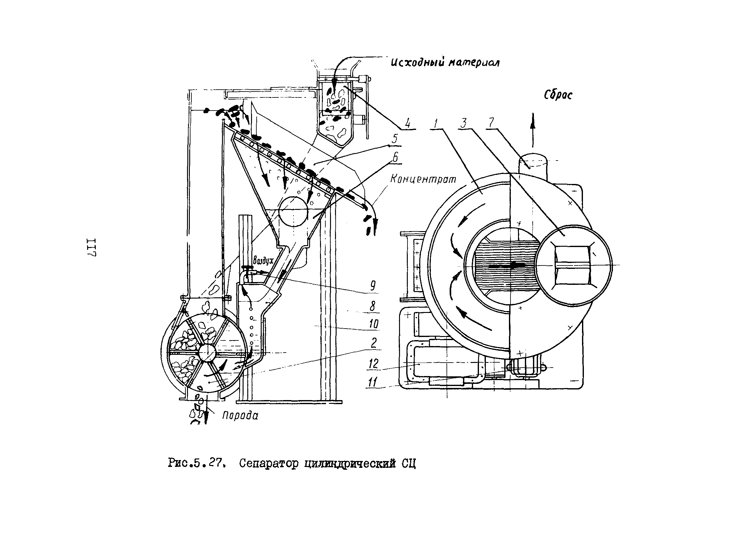
   5.1. Сепараторы для обогащения крупного угля
   5.2. Оборудование для обогащения мелкого угля
   5.3. Сепараторы для регенерации магнетитовой суспензии
   5.4. Вспомогательное оборудование
   5.5. Средства контроля и регулирования
   5.6. Опытные образцы тяжелосредного оборудования
6. Основные параметры расчета технологических схем обогащения угля в магнетитовой суспензии
   6.1. Подготовка угля
   6.2. Обогащение крупного угля в сепараторах
   6.3. Обогащение мелкого угля в гидроциклонах
   6.4. Эффективность обогащения в магнетитовой суспензии
   6.5. Промывка и обезвоживание продуктов обогащения на грохотах
   6.6. Регенерация магнетитовой суспензии
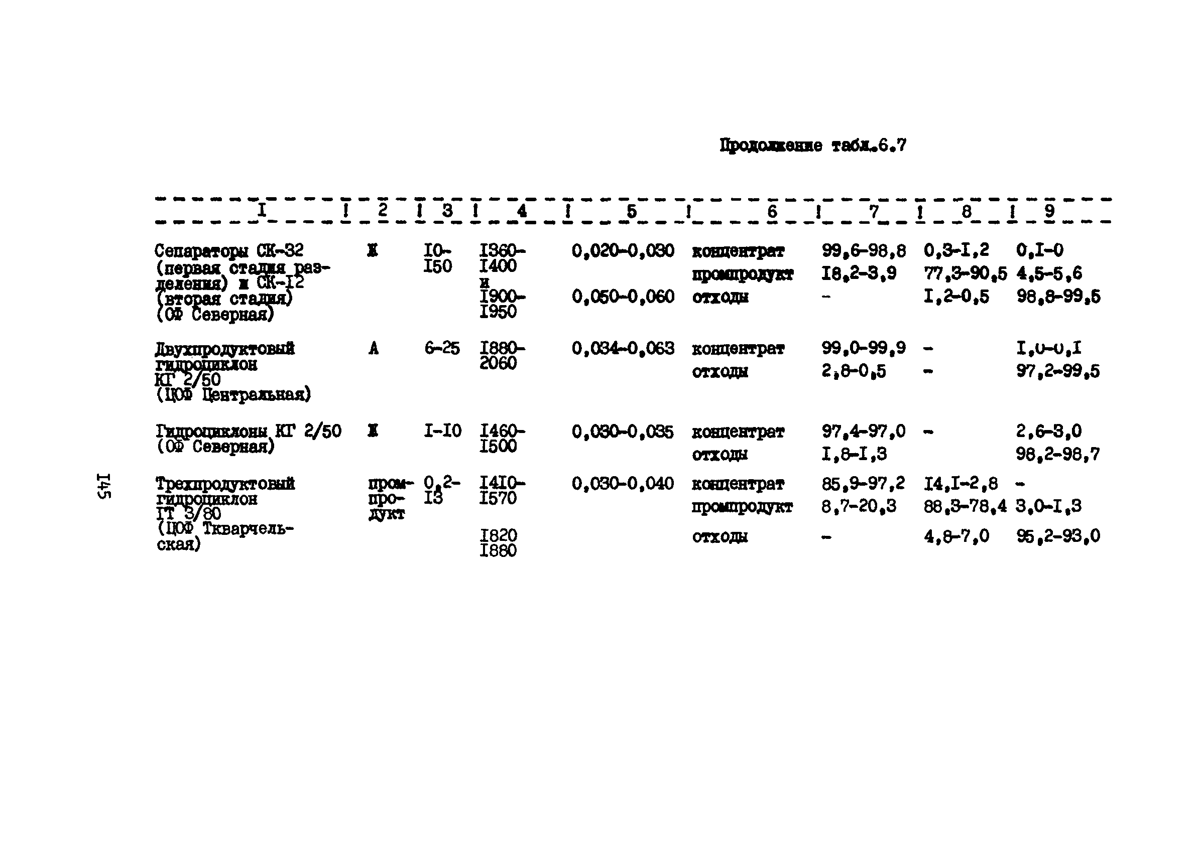
   6.7. Расход утяжелителя
7. Рекомендации по компоновке тяжелосредных установок
8. Заключение
Литература и использованные материалы
Разработан: ИОТТ
УкрНИИуглеобогащение
Утверждён:25.03.1976 Министерство угольной промышленности СССР (USSR Ministry of the Coal Industry )