Скачать Рекомендации по применению основного оборудования, средств механизации и автоматизации на обогатительных и брикетных фабриках. Том 1Дата актуализации: 01.01.2021
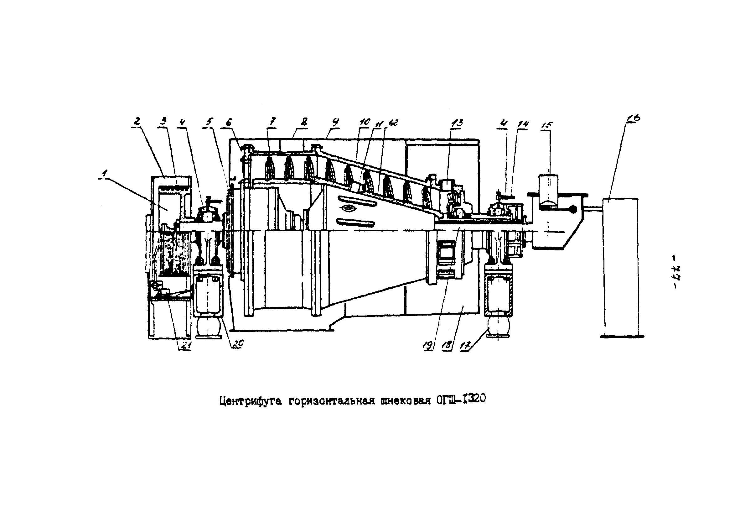
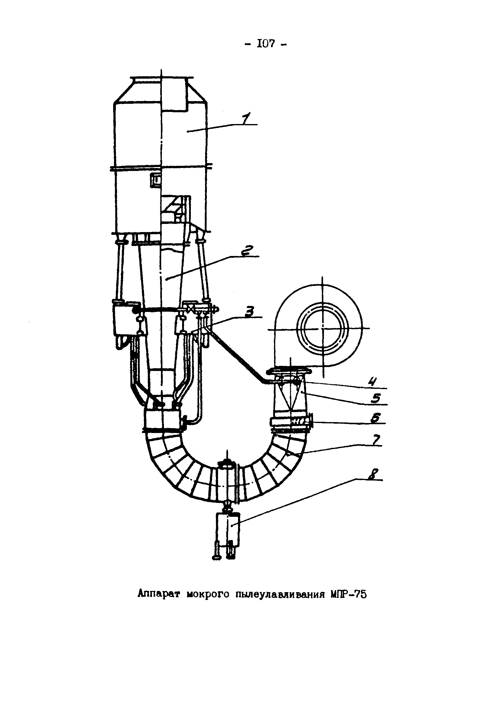
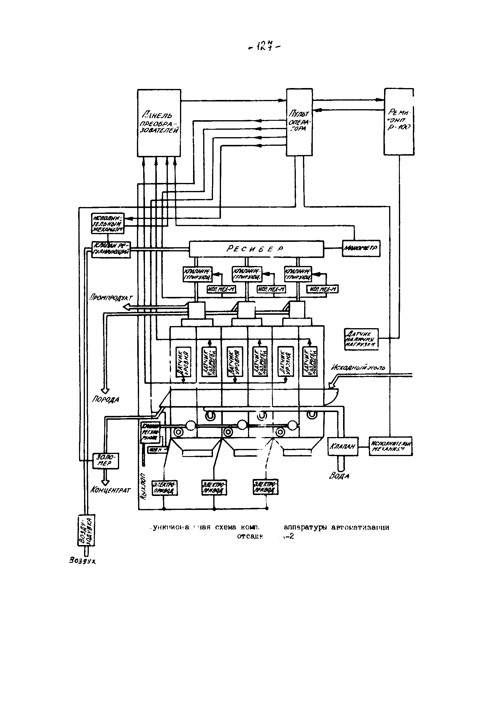
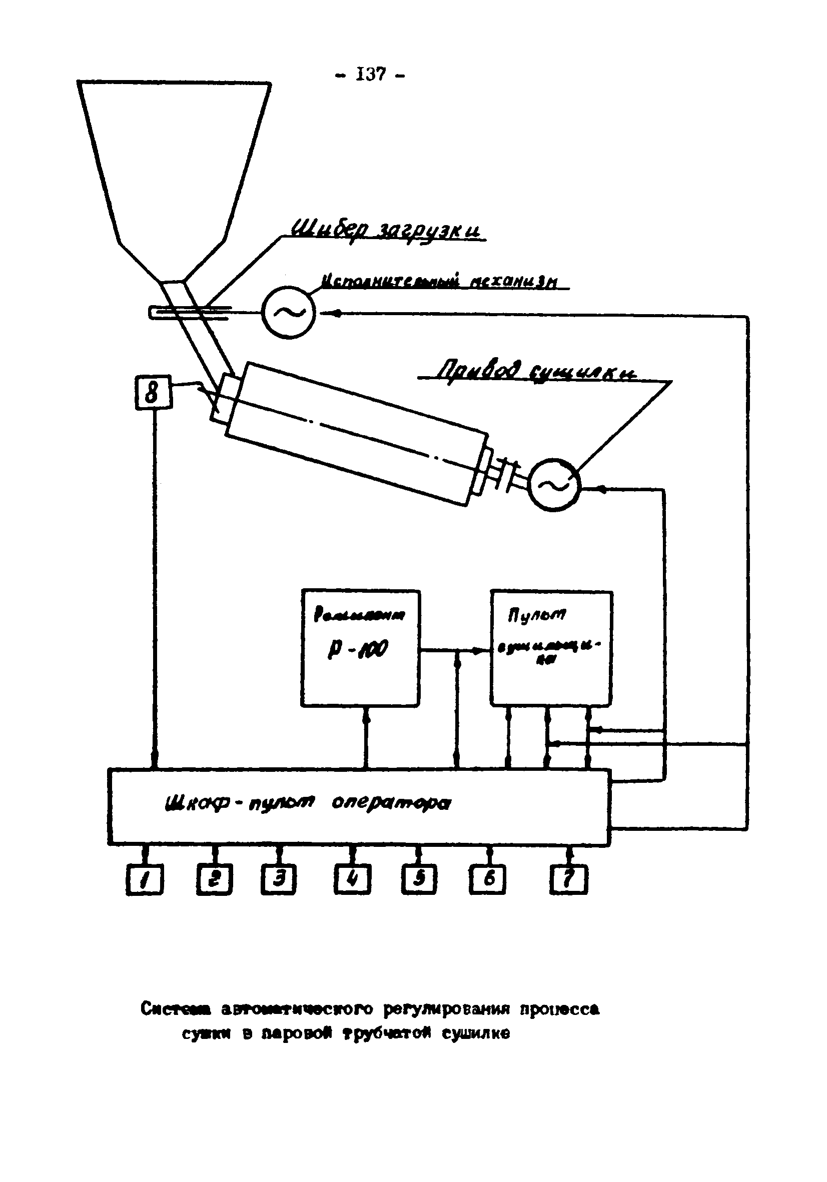
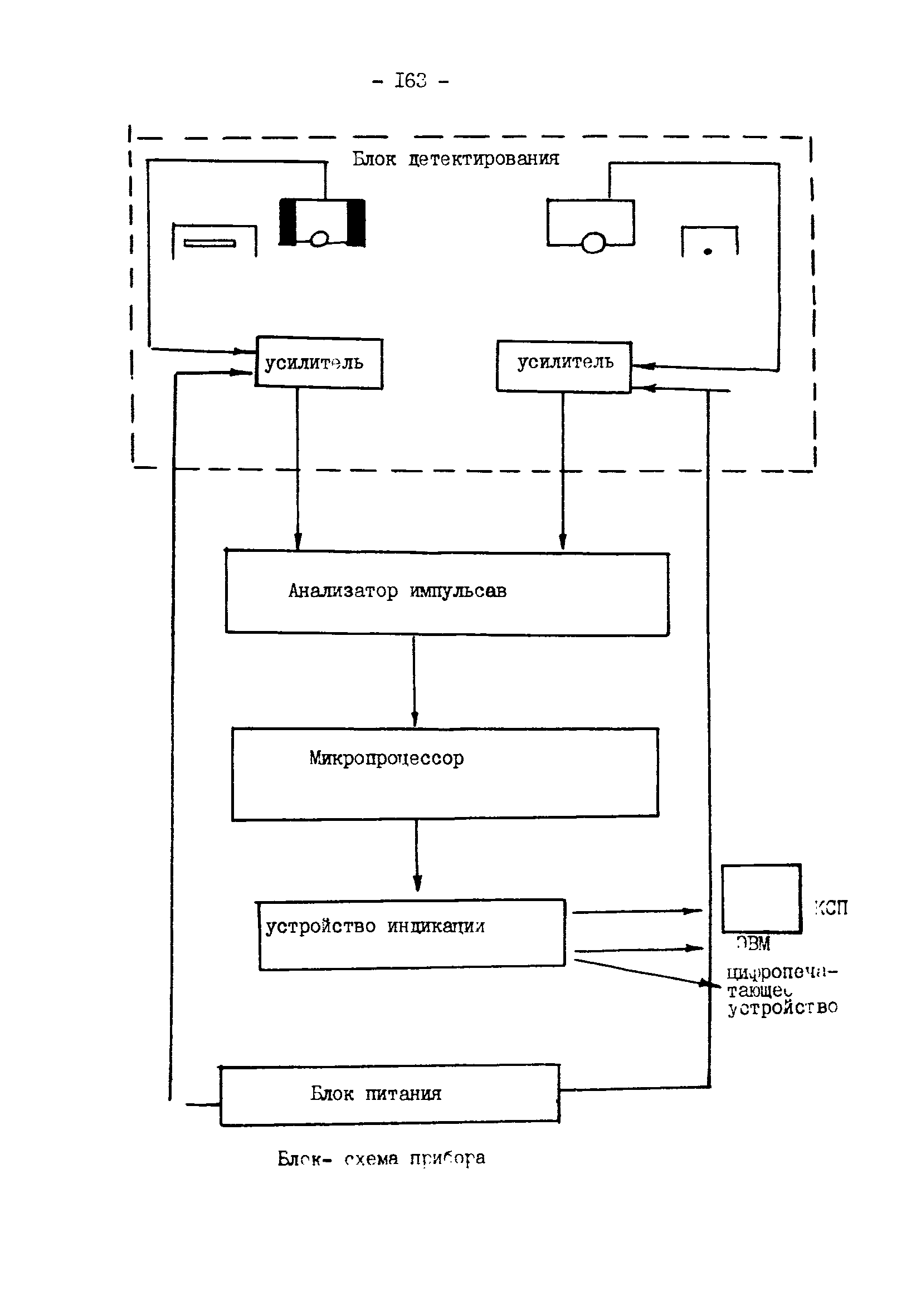
Рекомендации по применению основного оборудования, средств механизации и автоматизации на обогатительных и брикетных фабриках. Том 1| Статус: | справочные материалы, мп, тпр | | Название рус.: | Рекомендации по применению основного оборудования, средств механизации и автоматизации на обогатительных и брикетных фабриках. Том 1 | | Дата добавления в базу: | 01.01.2019 | | Дата актуализации: | 01.01.2021 | | Область применения: | Рекомендации содержат сведения об основном оборудовании, системах и средствах автоматического управления технологическими процессами обогатительных фабрик. Рекомендации предназначены для работников обогатительных фабрик и производственных объединений, а также могут быть использованы научными, проектными и учебными организациями | | Оглавление: | Рекомендации по применению оборудования, средств механизации и автоматизации на обогатительных и брикетных фабриках 1. Дробилки 2. Грохоты 3. Сепараторы тяжелосредные 4. Сепараторы электромагнитные 5. Сепараторы пневматические 6. Сепараторы крутонаклонные 7. Циклоны тяжелосредные 8. Отсадочные машины 9. Флотационные машины 10. Обезвоживающее оборудование 11. Сушильное оборудование 12. Транспортное оборудование 13. Системы и средства автоматического управления технологическими процессами обогатительных фабрик | | Разработан: | ИОТТ
| | Утверждён: | ИОТТ Минуглепрома СССР
|
                                                                                                                                                                                             
|