Скачать Рекомендации по применению основного оборудования, средств механизации и автоматизации на обогатительных и брикетных фабриках. Том 2Дата актуализации: 01.01.2021
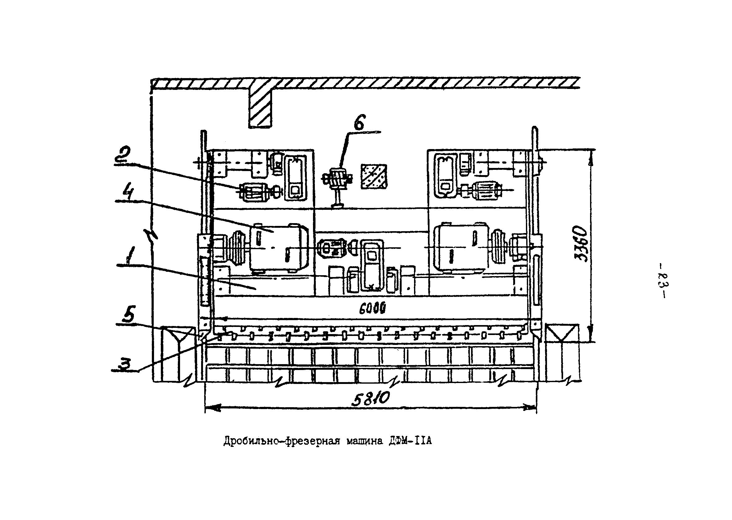
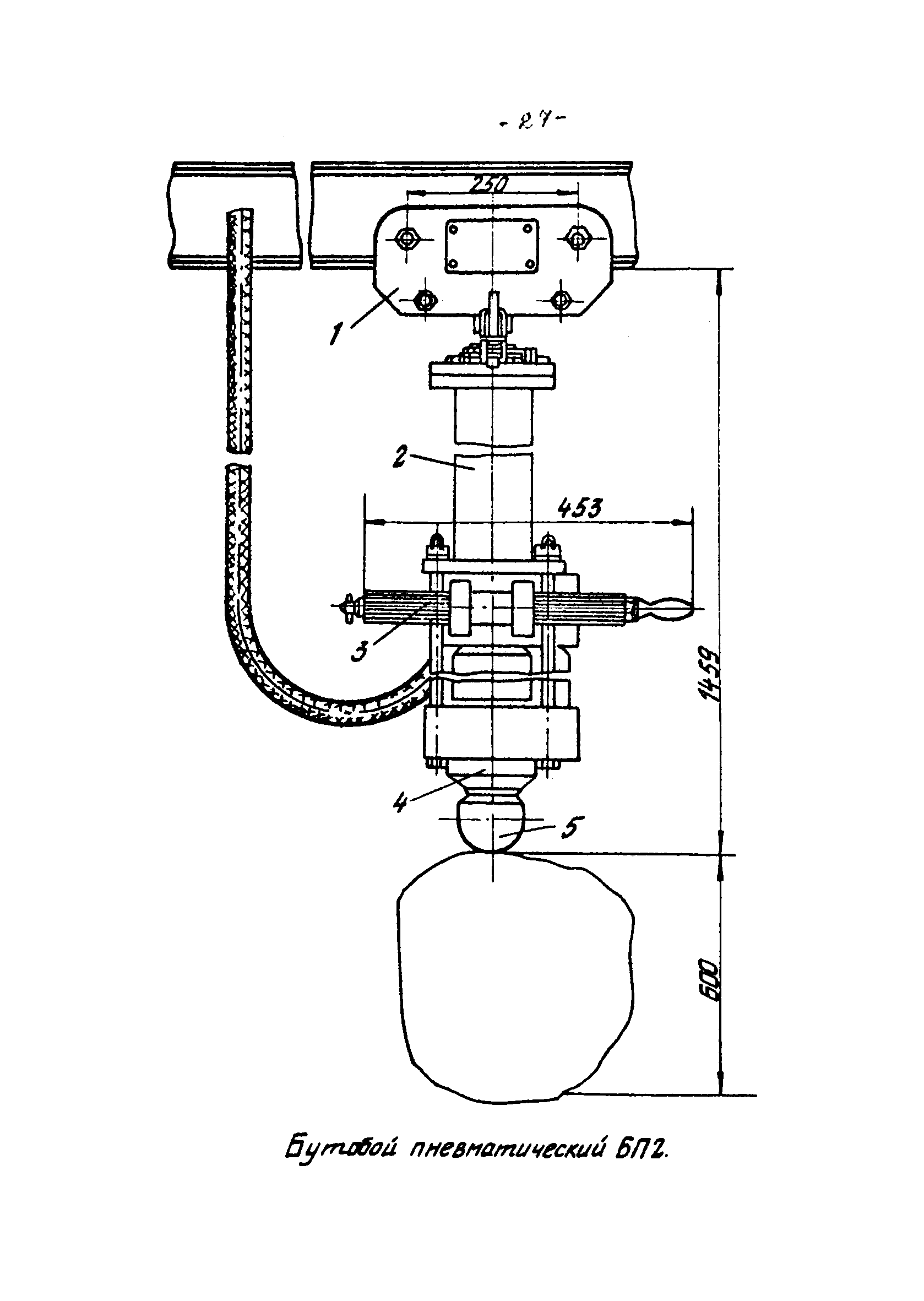
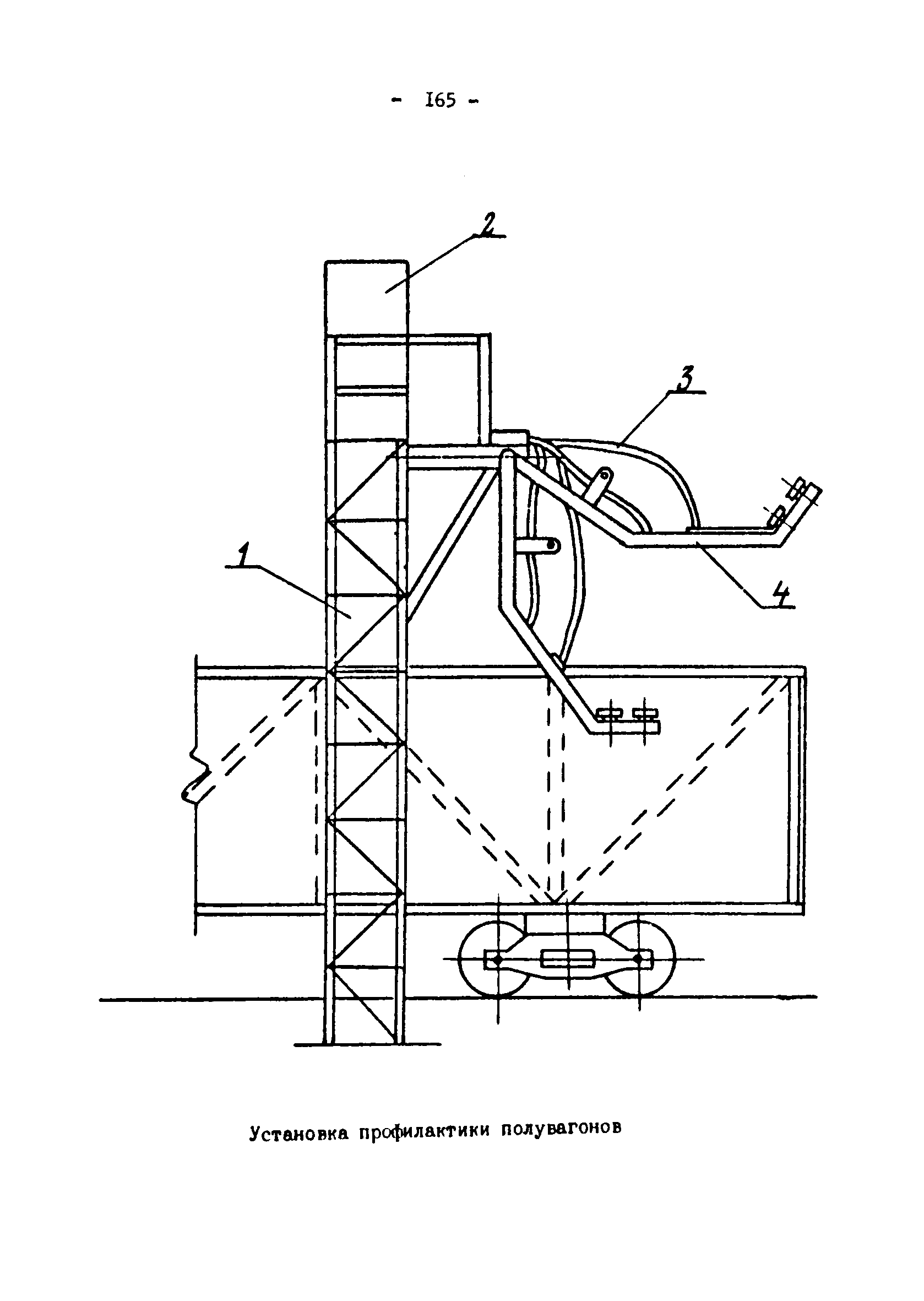
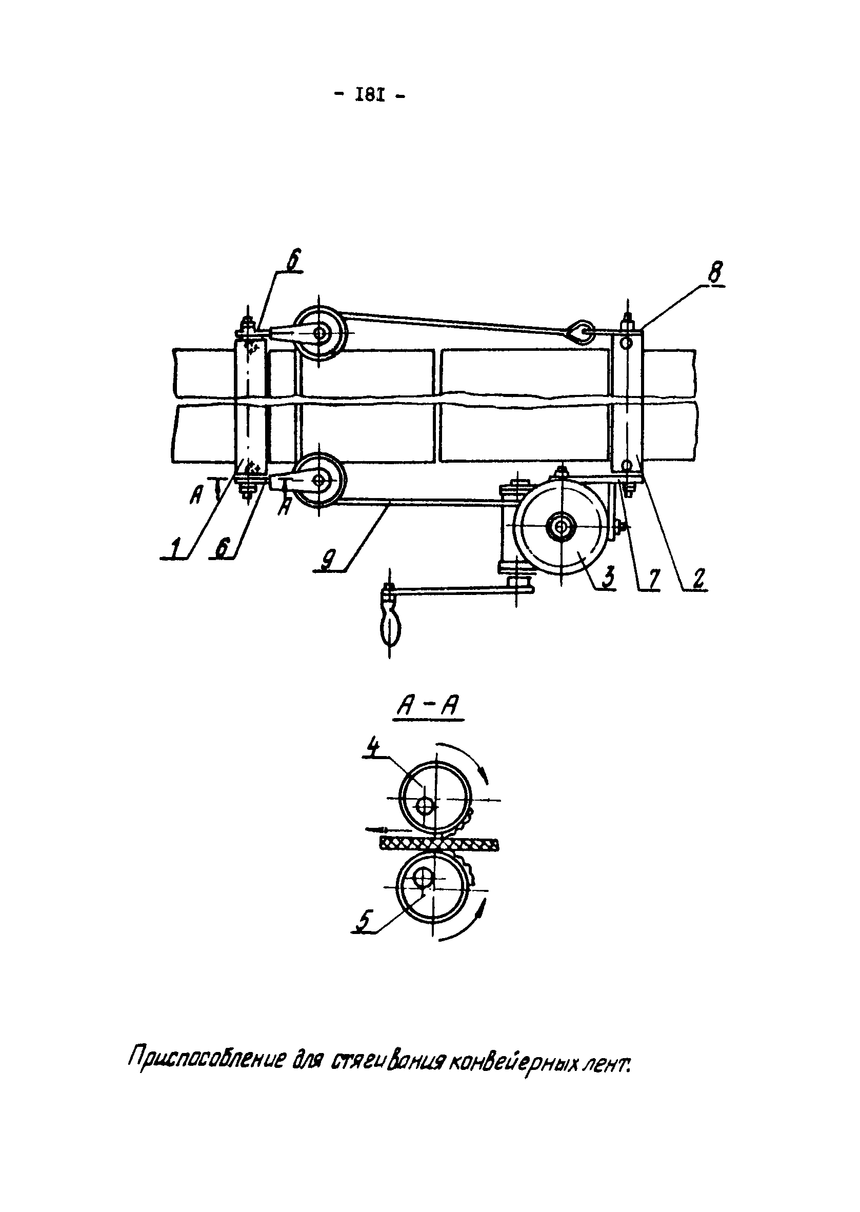
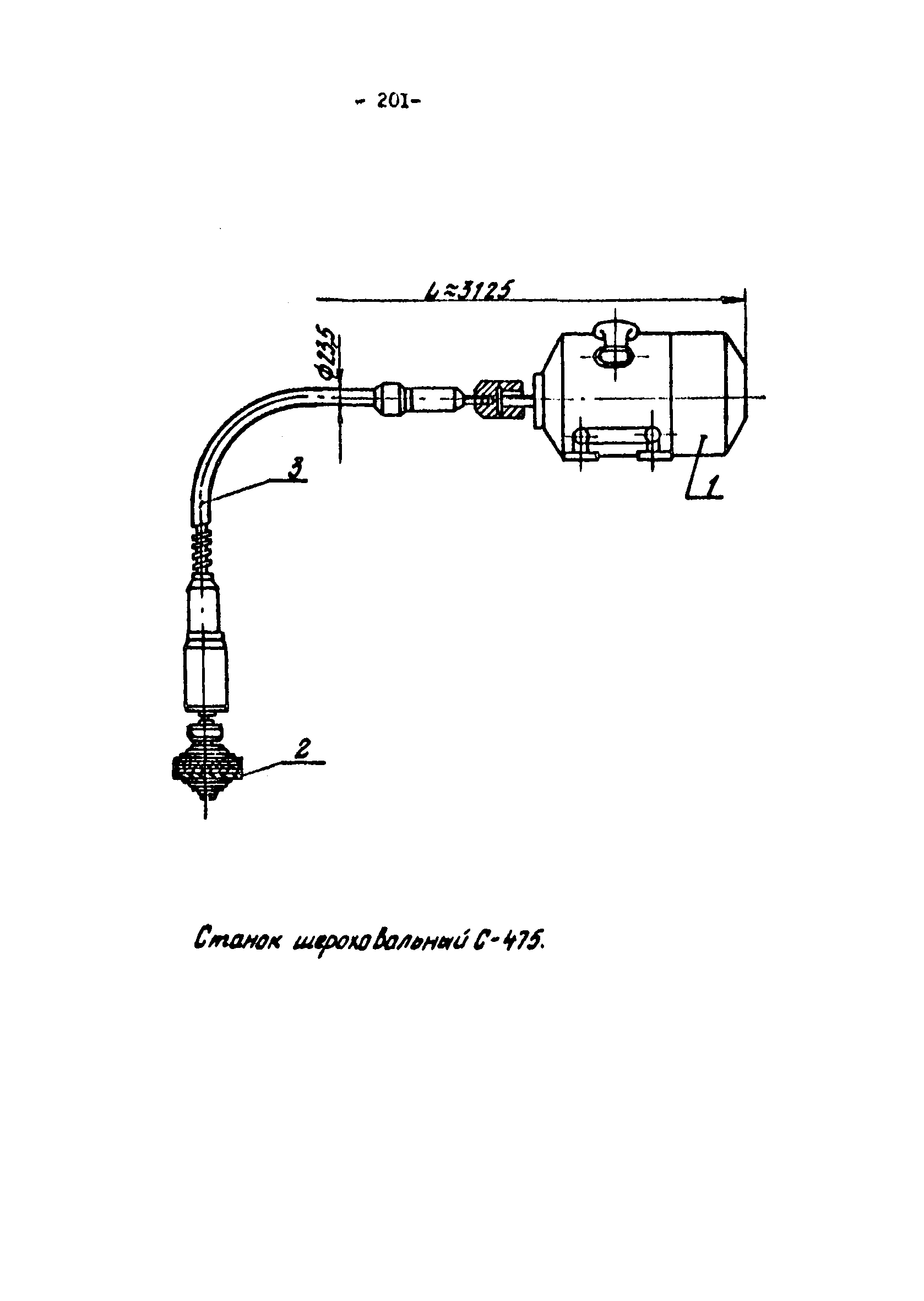
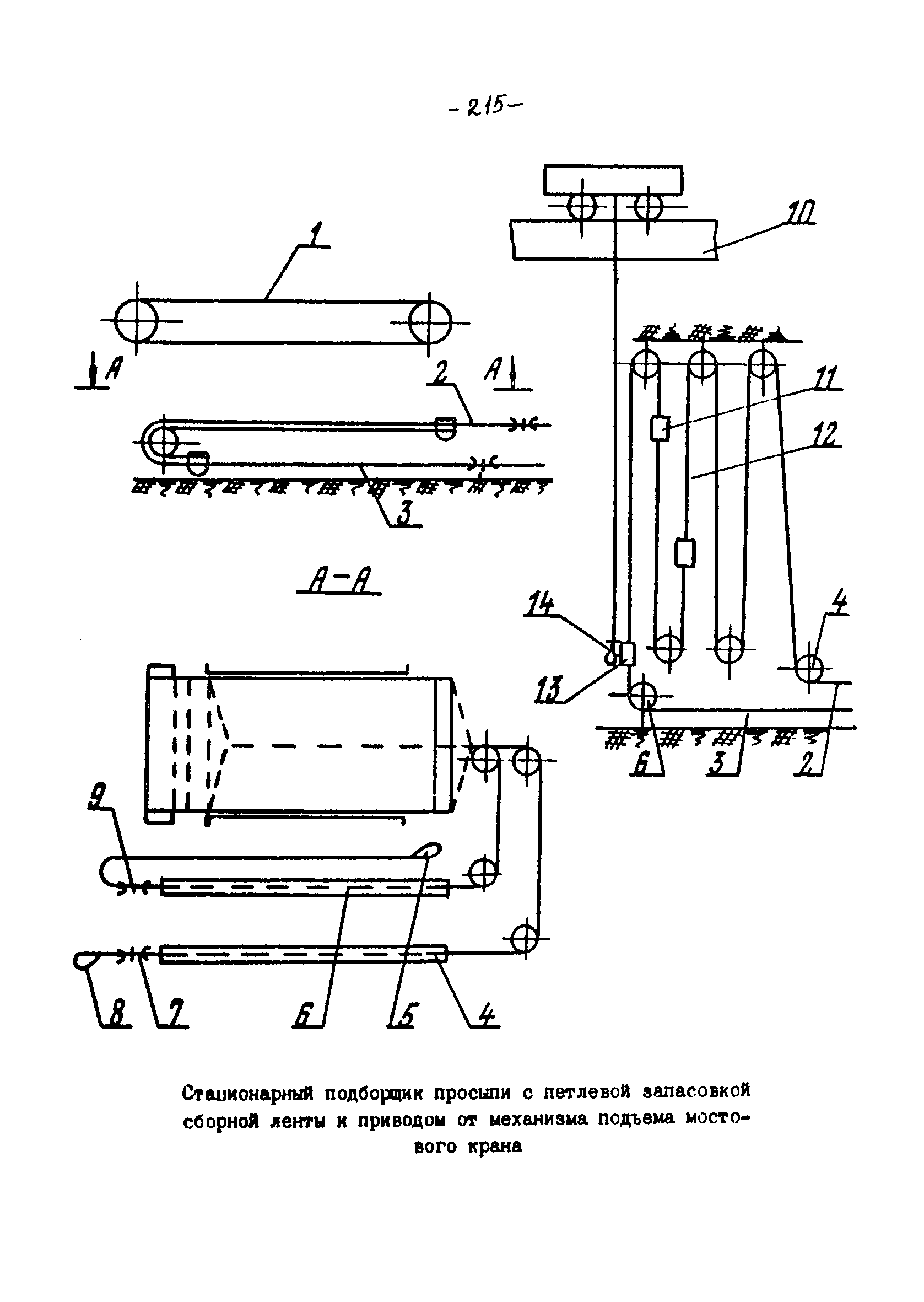
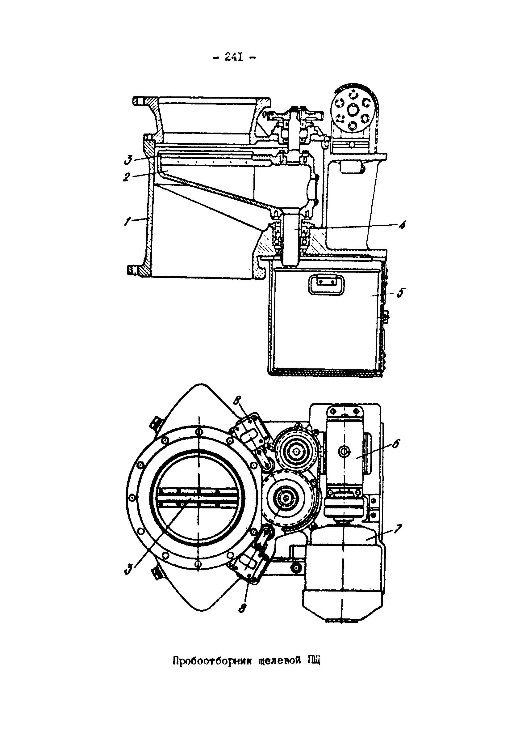
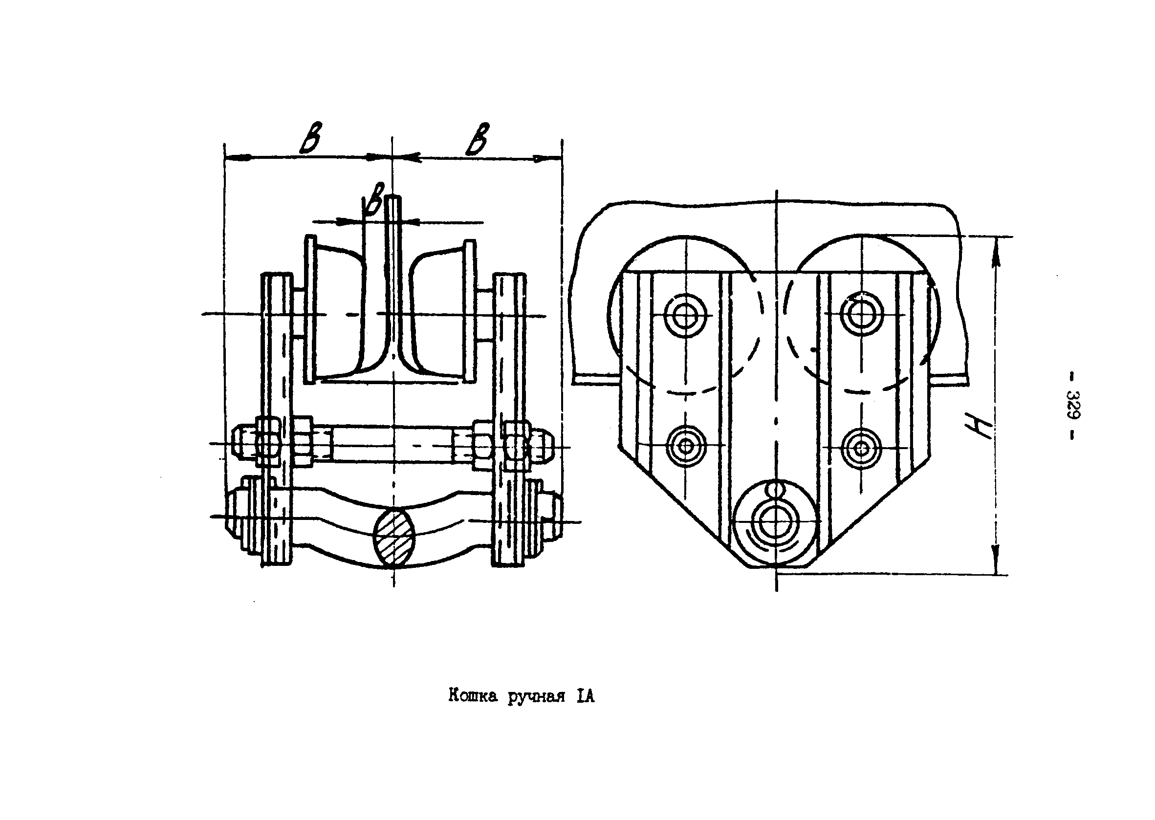
Рекомендации по применению основного оборудования, средств механизации и автоматизации на обогатительных и брикетных фабриках. Том 2| Статус: | справочные материалы, мп, тпр | | Название рус.: | Рекомендации по применению основного оборудования, средств механизации и автоматизации на обогатительных и брикетных фабриках. Том 2 | | Дата добавления в базу: | 01.01.2019 | | Дата актуализации: | 01.01.2021 | | Область применения: | Рекомендации содержат сведения о средства механизации основных и вспомогательных процессов. Также приводятся данные о назначении и области применения, технические характеристики, заводы-изготовители и разработчики нестандартного оборудования. Рекомендации предназначены для работников обогатительных фабрик и производственных объединений, а также могут быть использованы научными, проектными и учебными организациями | | Оглавление: | 1. Углеприем 2. Углеподготовка 3. Основные обогатительные процессы 3.1. Обогащение в тяжелых средах 3.2. Флотация и фильтрация 4. Водно-шламовые процессы 5. Сушка 6. Погрузка продуктов обогащения 7. Транспорт 8. Средства контроля качества углей и продуктов обогащения 9. Грузоподъемные средства 10. Средства механизации ремонтных работ 11. Средства механизации хозяйственных, строительных и уборочных работ 12. Автотранспорт и средства механизации к нему 13. Прочие средства механизации трудоемких работ | | Разработан: | ИОТТ
| | Утверждён: | ИОТТ Минуглепрома СССР
|
                                                                                                                                                                                                                                                                                                                                                                                                                                                                                                                                                      
|