Скачать Рекомендации по применению средств механизации и автоматизации на обогатительных и брикетных фабриках

Дата актуализации: 01.01.2021

Рекомендации по применению средств механизации и автоматизации на обогатительных и брикетных фабриках

Статус:справочные материалы, мп, тпр
Название рус.:Рекомендации по применению средств механизации и автоматизации на обогатительных и брикетных фабриках
Дата добавления в базу:01.01.2019
Дата актуализации:01.01.2021
Область применения:Рекомендации содержат сведения о средства механизации и автоматизации, серийно выпускаемых заводами, а также разработанных институтами и рекомендованных к применению в качестве нестандартного оборудования. Каталог составлен в соответствии с основными технологическими процессами обогатительных фабрик. Рекомендации предназначены для работников обогатительных фабрик и производственных объединений, а также могут быть использованы научными и проектными организациями
Оглавление:1. Углеприем
2. Углеподготовка
3. Основные обогатительные процессы
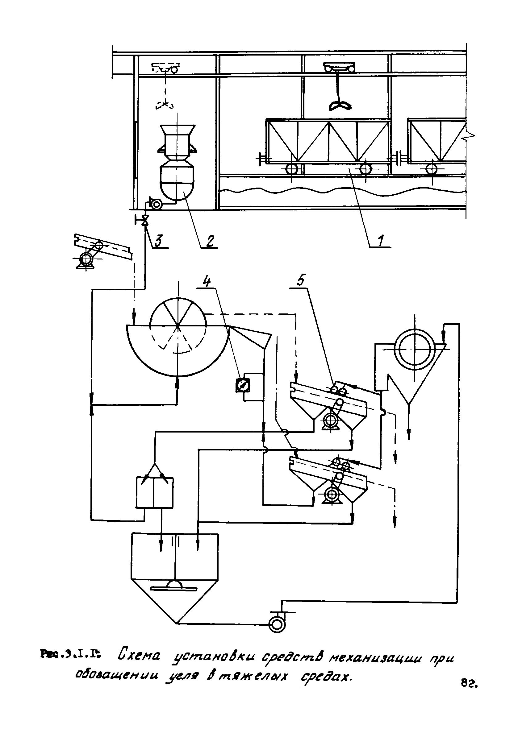
   3.1. Обогащение в тяжелых средах
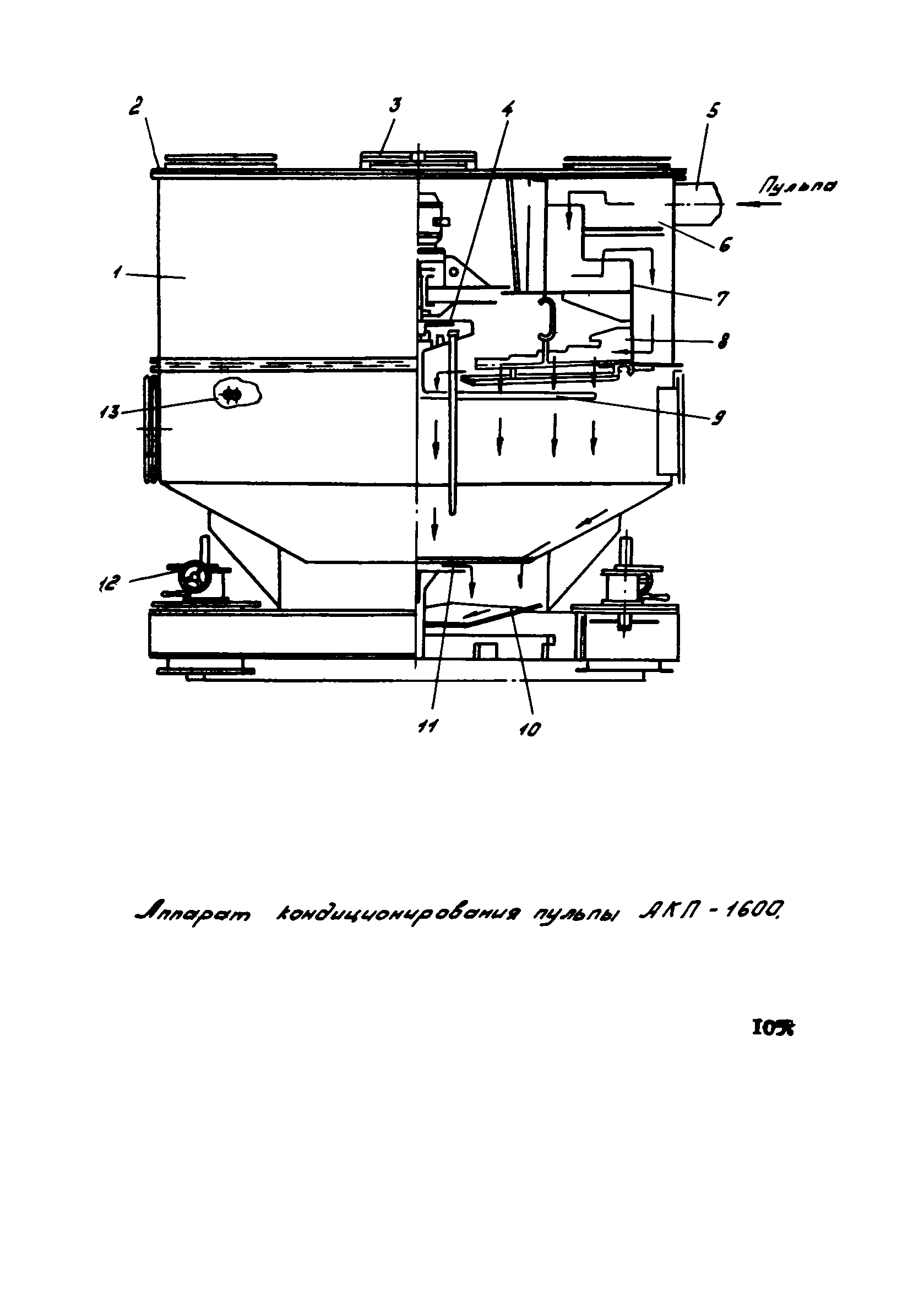
   3.2. Флотация и фильтрация
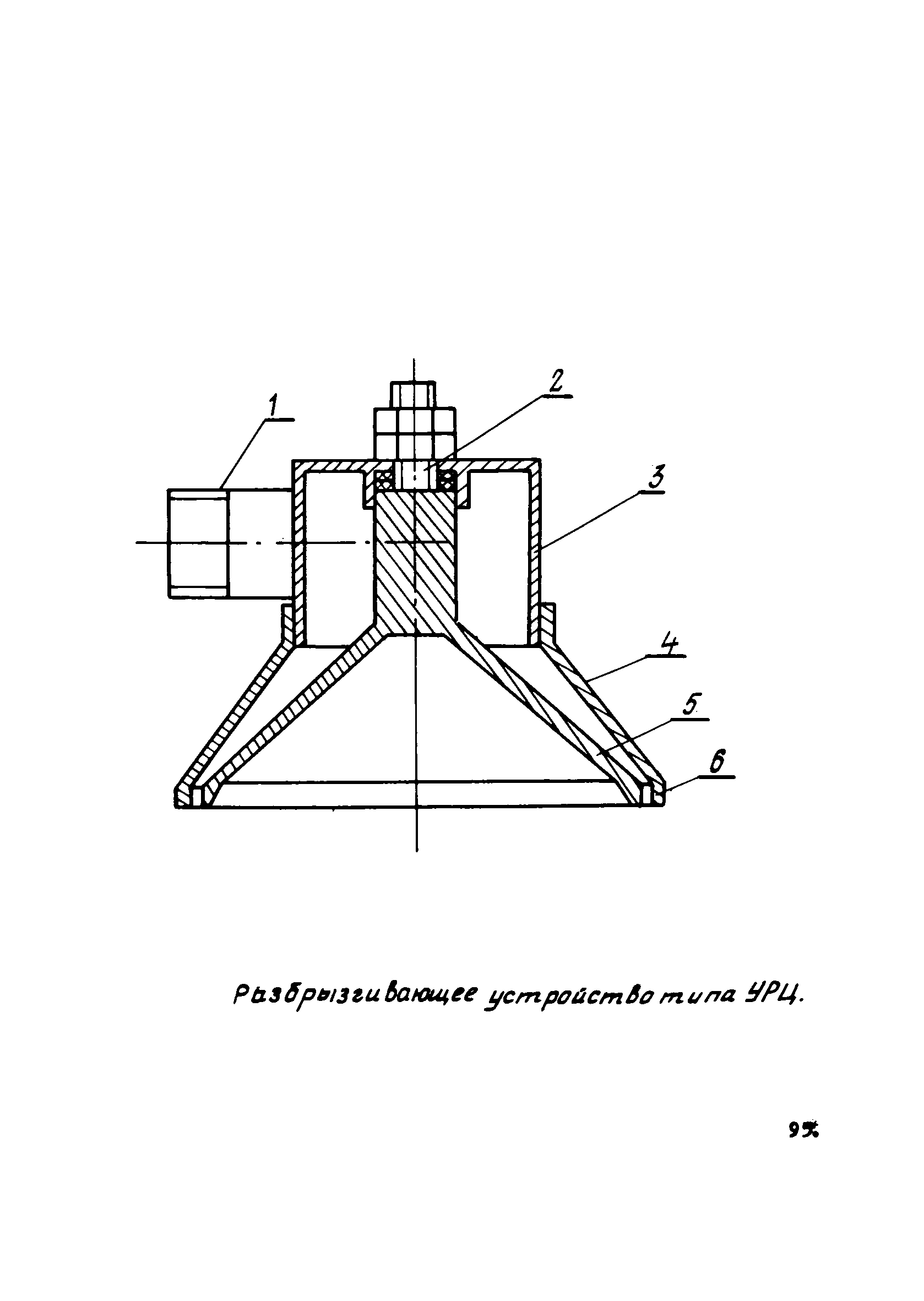
4. Водно-шламовые процессы
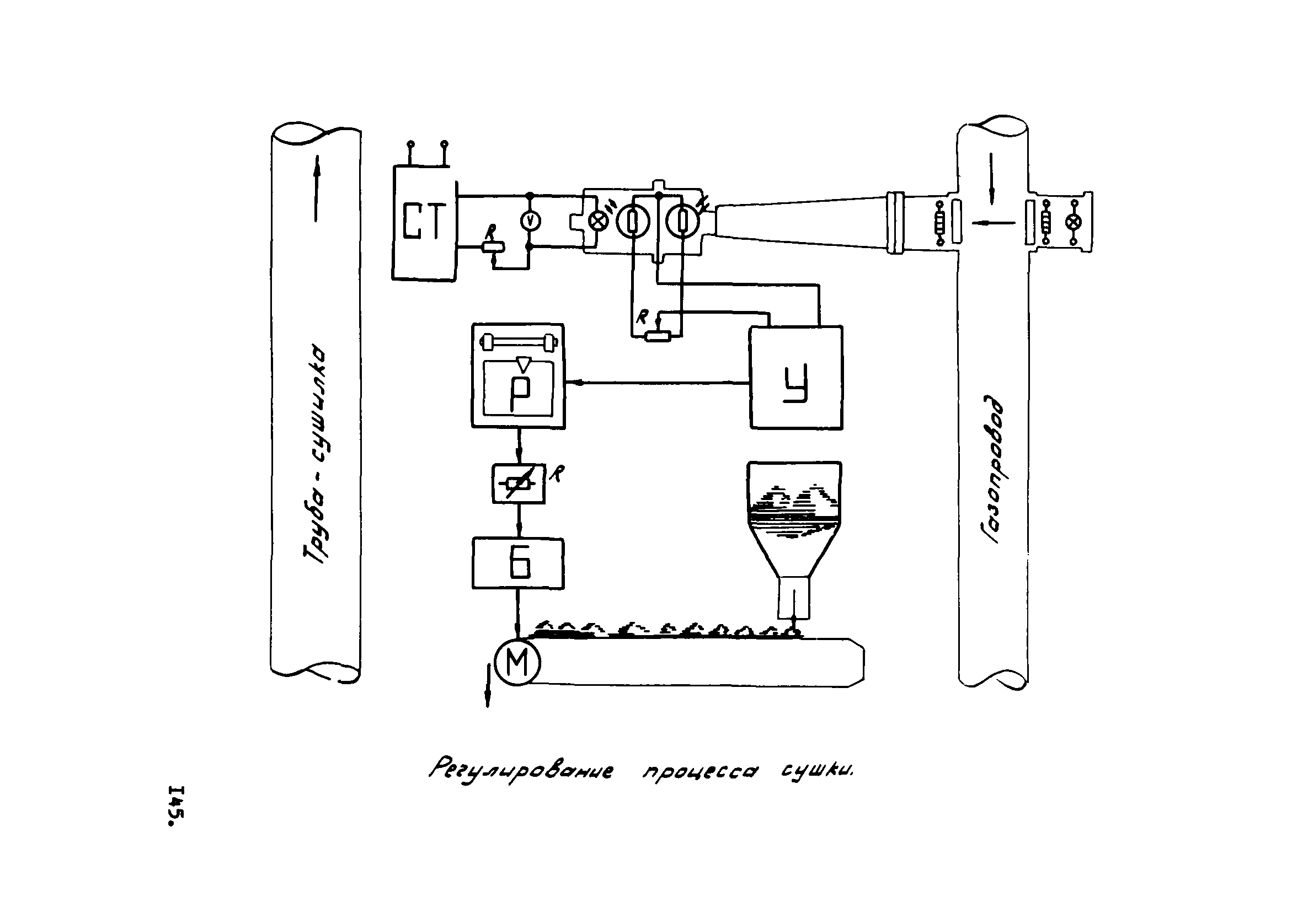
5. Сушка
6. Погрузка продуктов обогащения
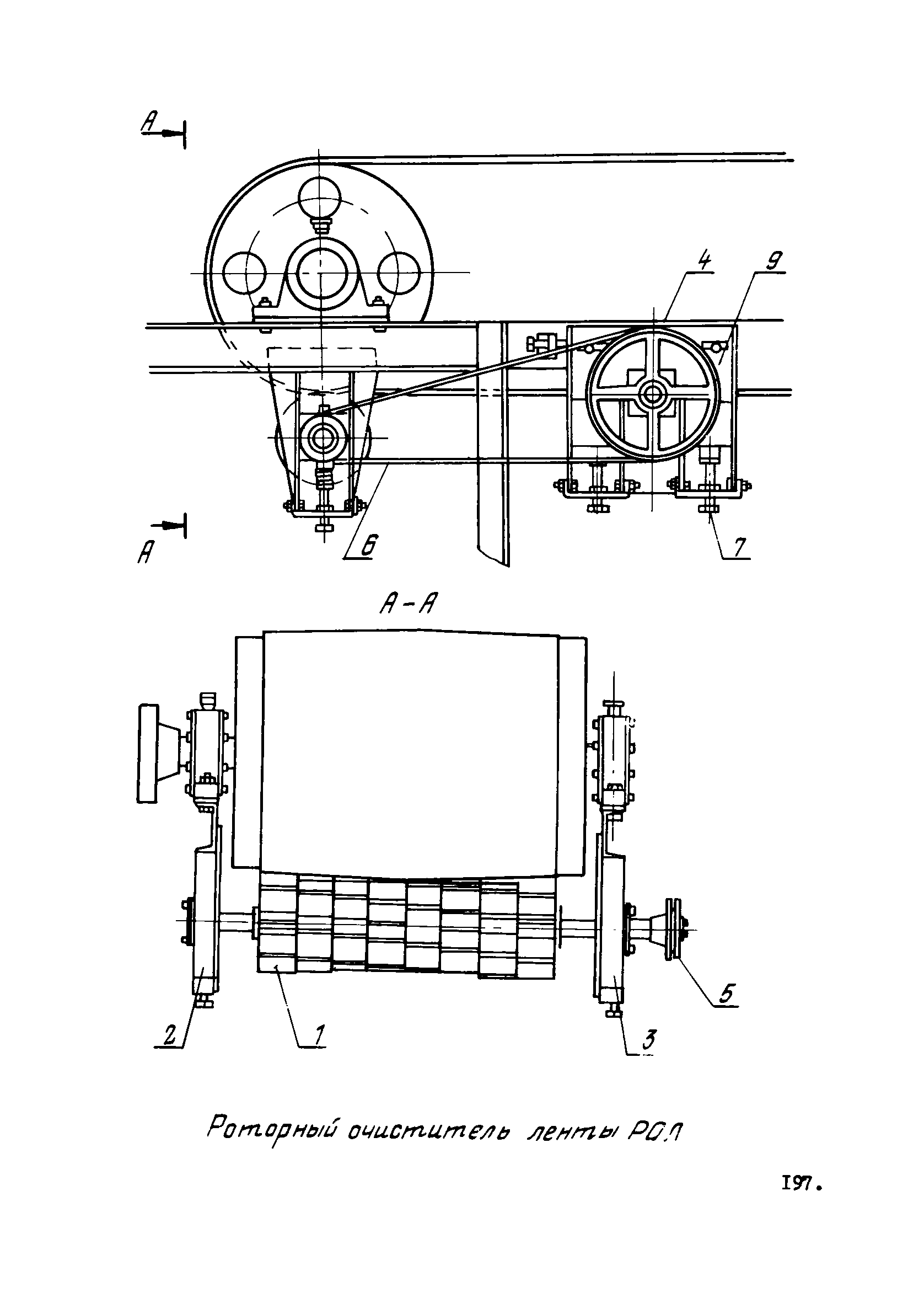
7. Транспорт
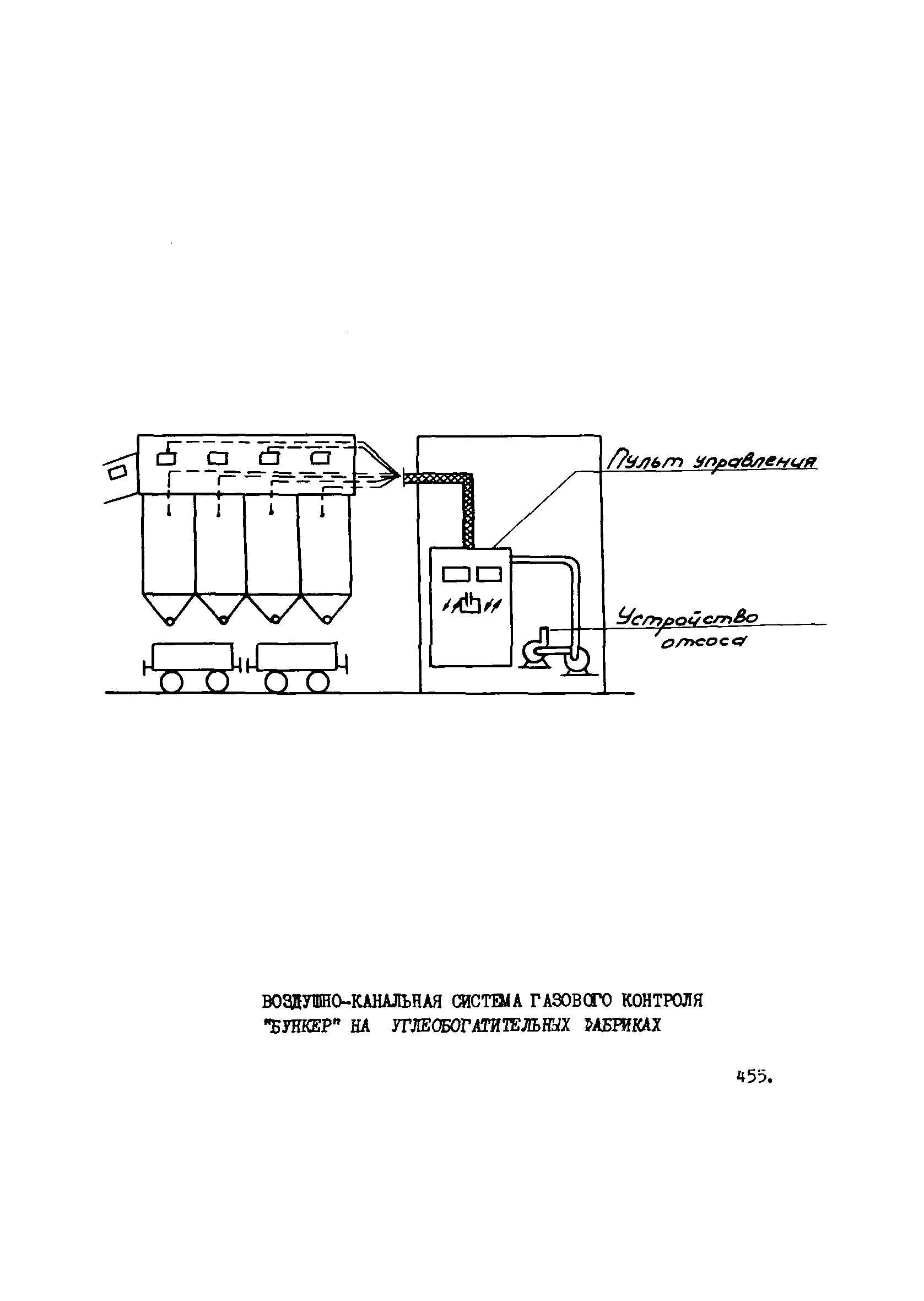
8. Средства контроля качества углей и продуктов обогащения
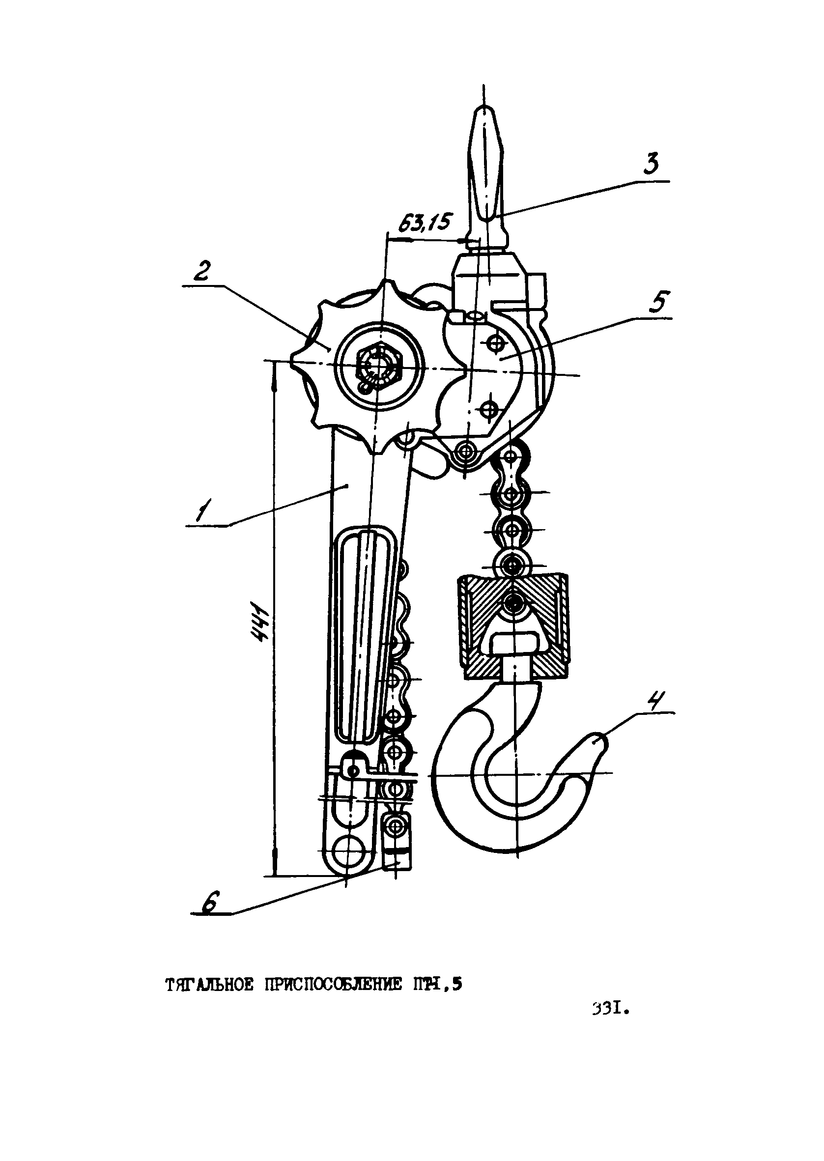
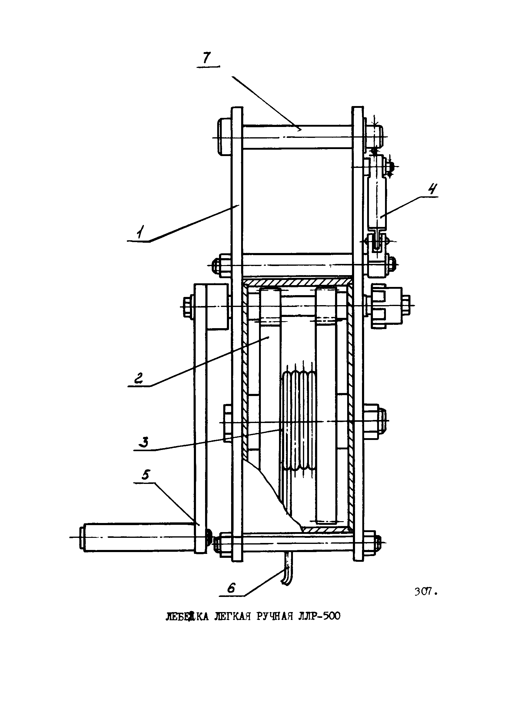
9. Грузоподъемные средства
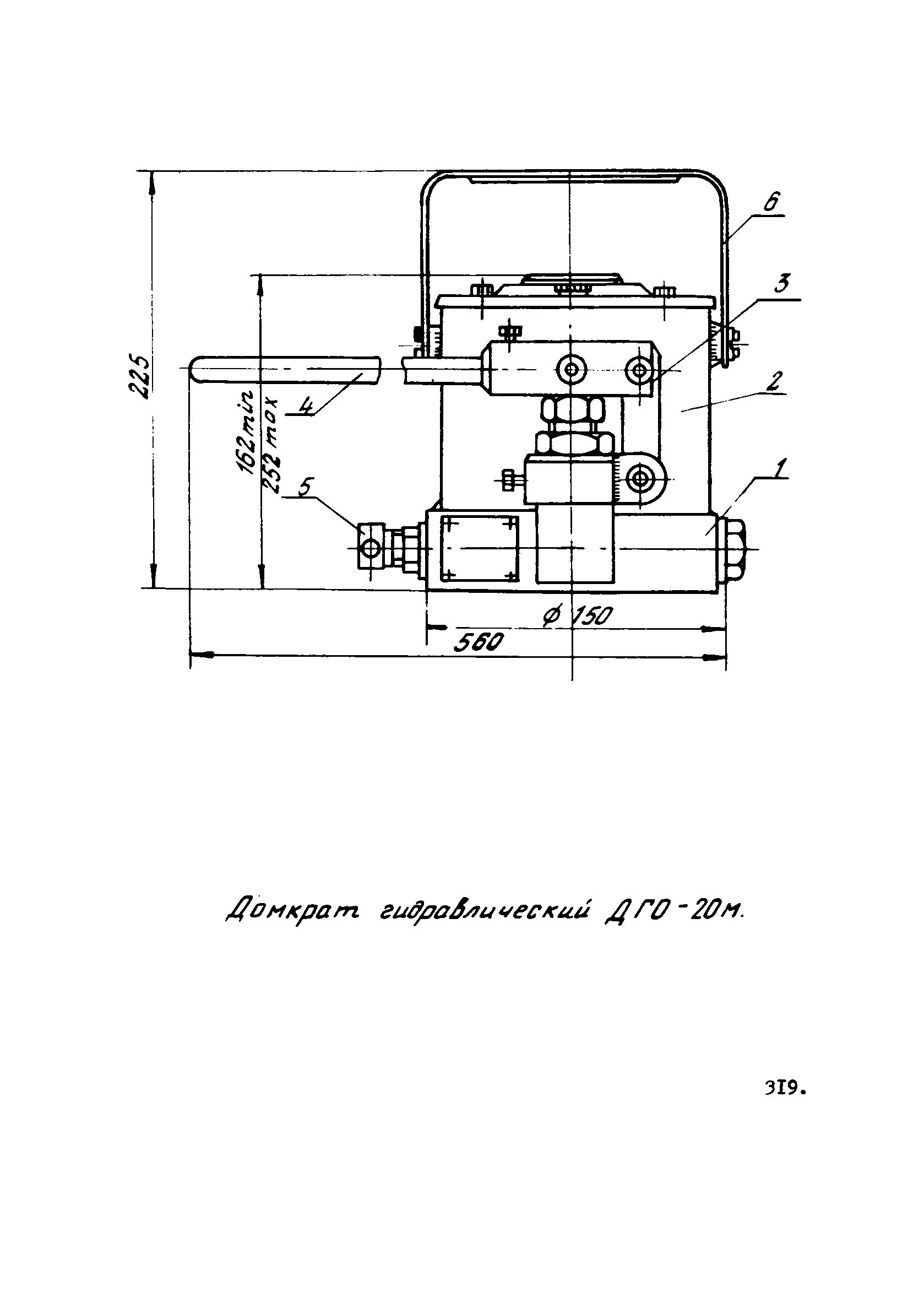
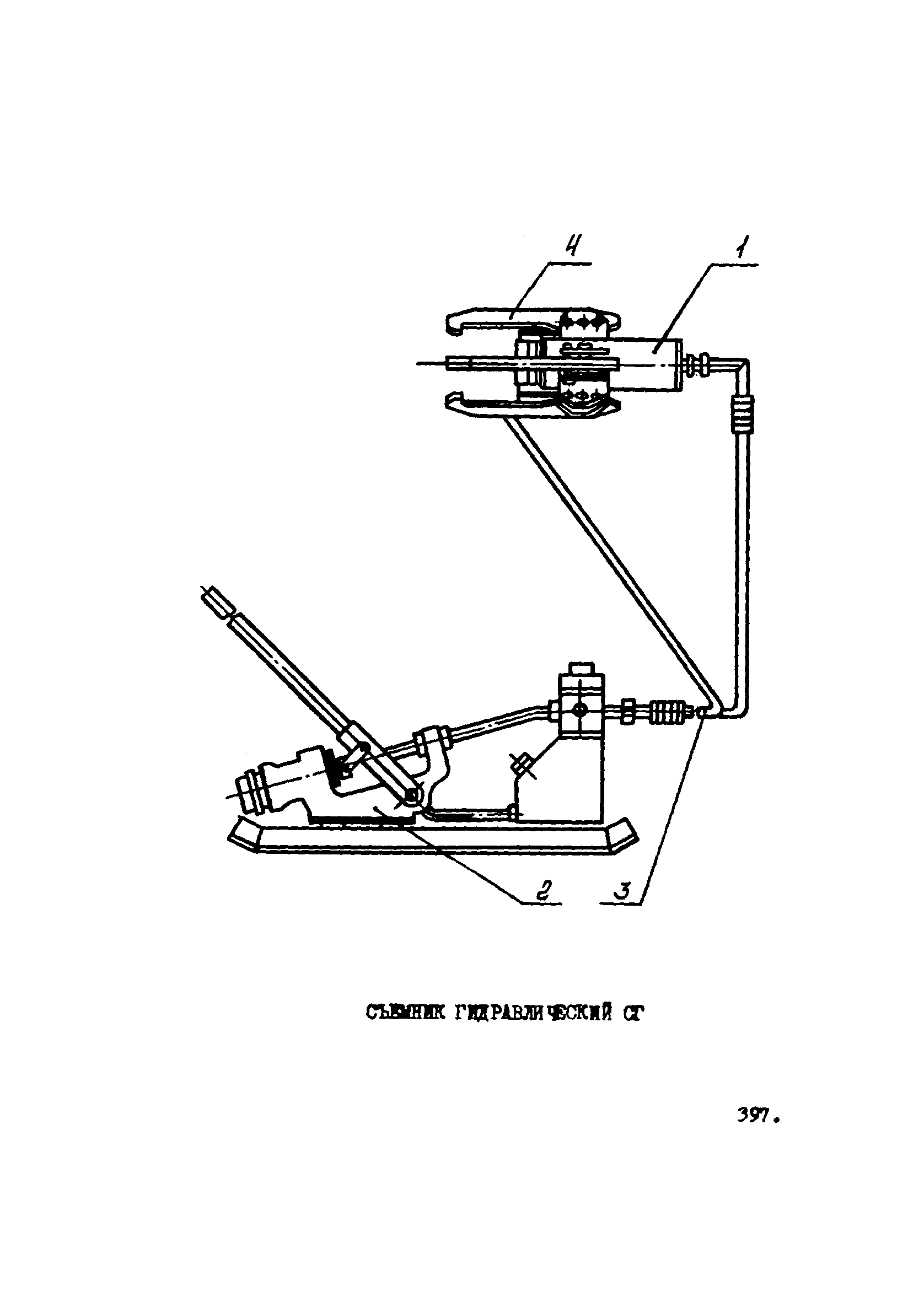
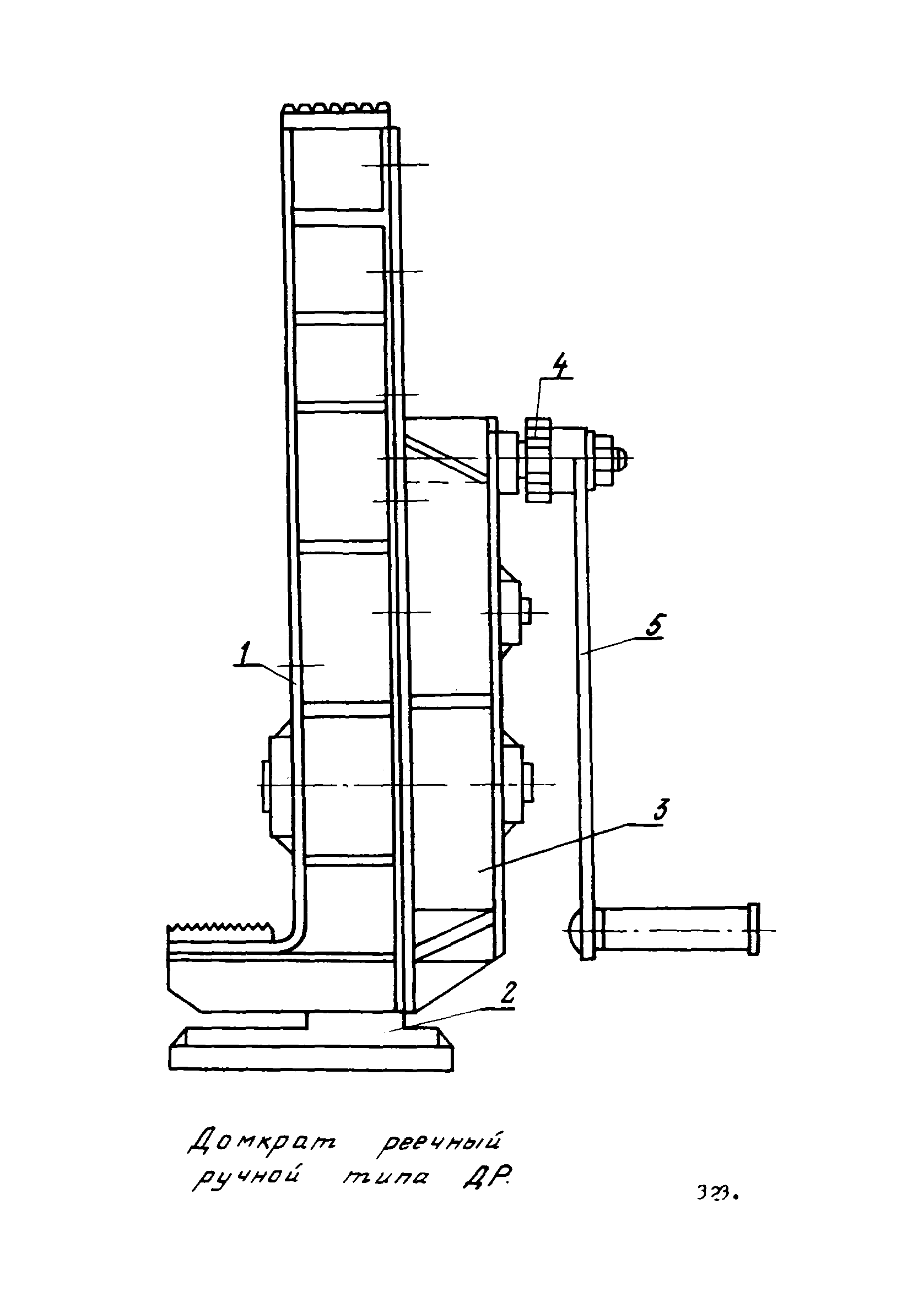
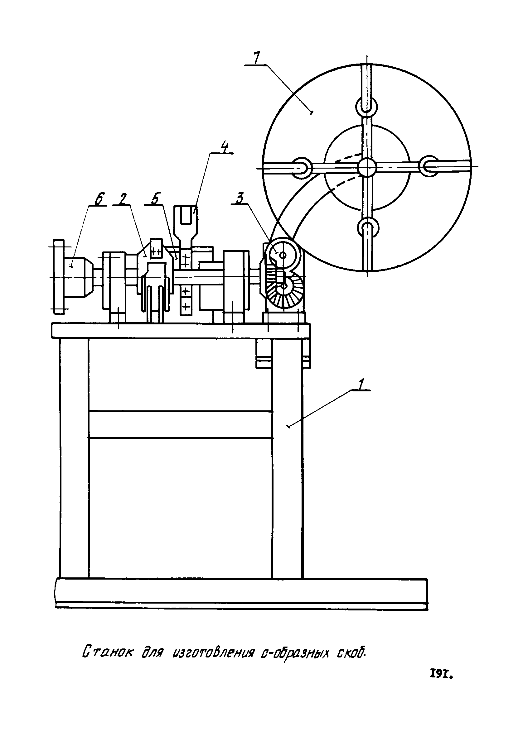
10. Средства механизации ремонтных работ
11. Средства механизации хозяйственных и уборочных работ
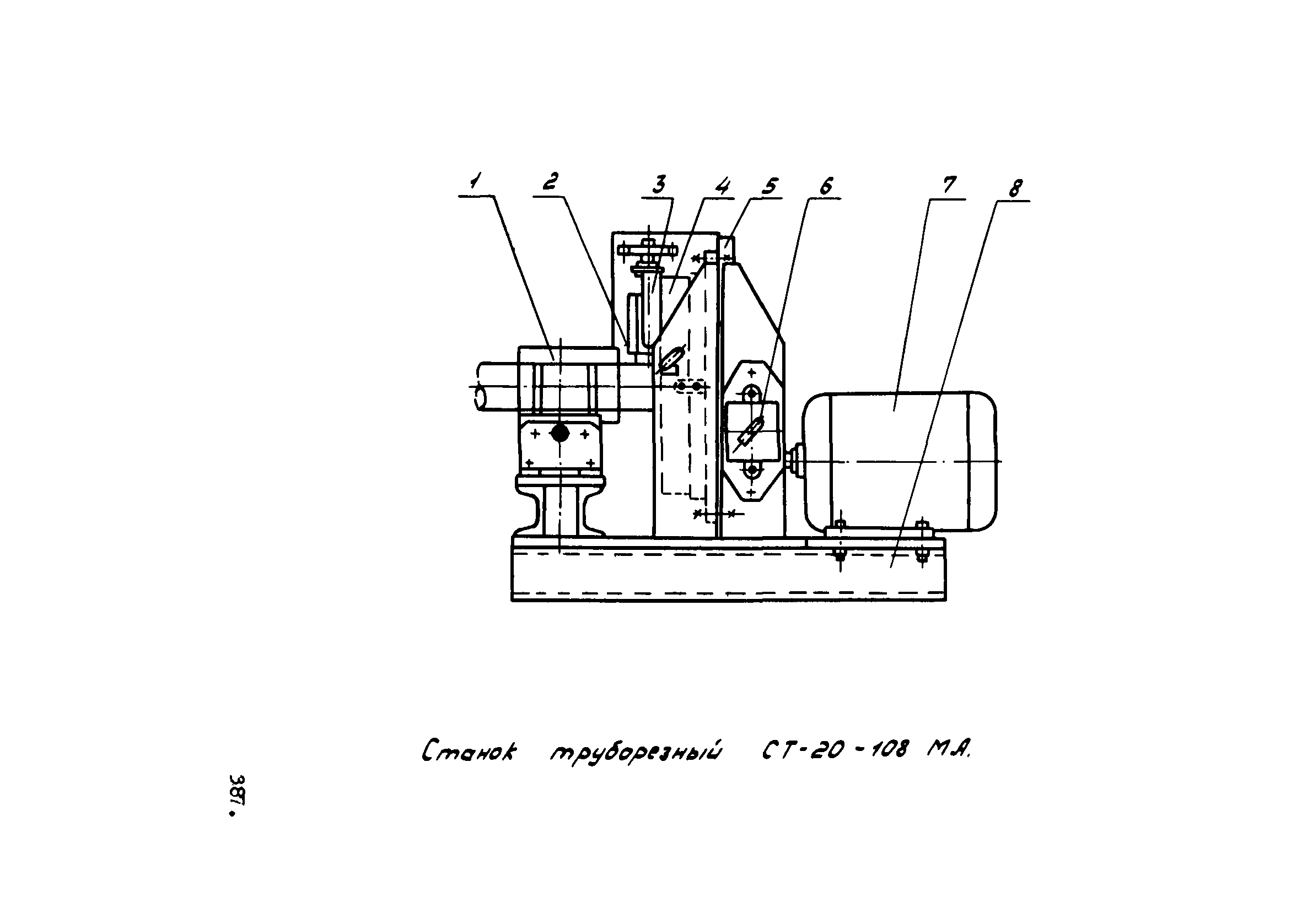
12. Прочие средства механизации трудоемких работ
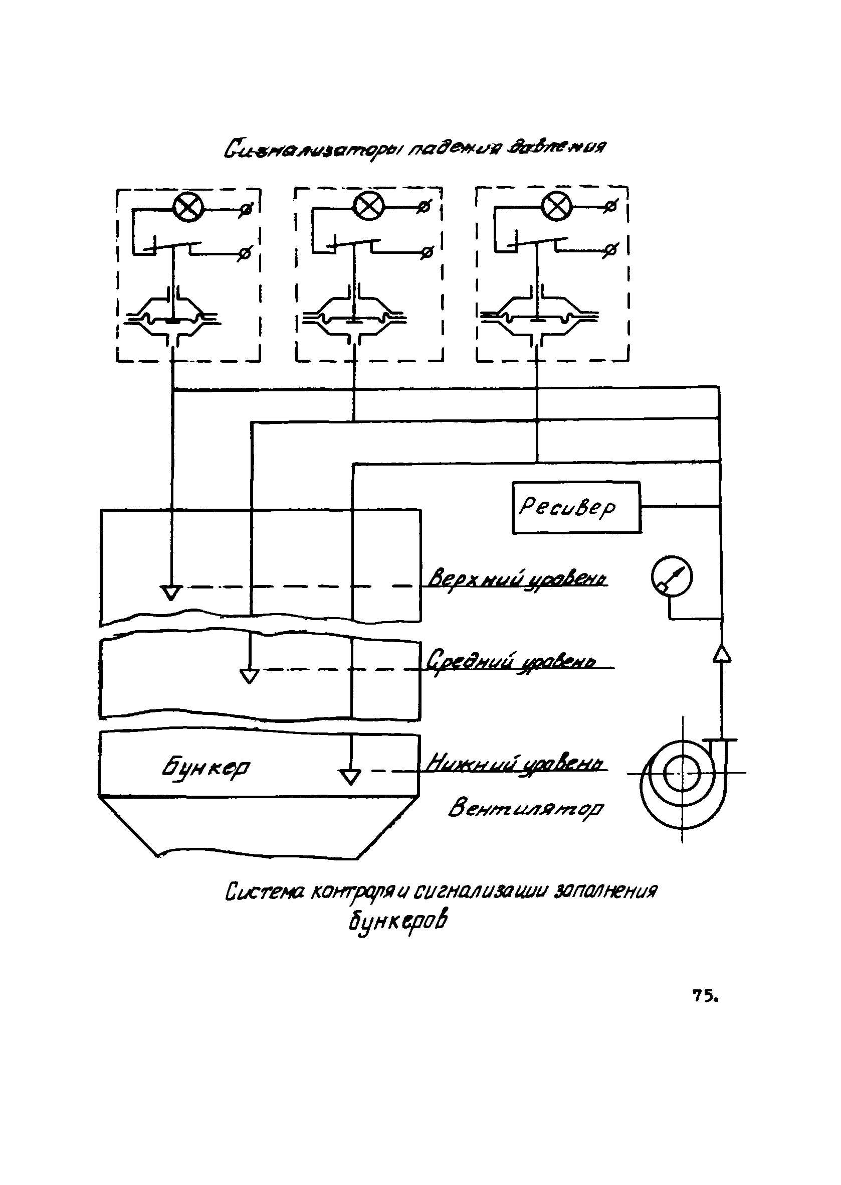
13. Система и средства автоматического управления технологическими процессами обогатительных фабрик
Разработан: ИОТТ
Утверждён: Министерство угольной промышленности СССР (USSR Ministry of the Coal Industry )