Скачать МУ 11-16/03-06 Методические указания по применению бактерицидных ламп для обеззараживания воздуха и поверхностей в помещенияхДата актуализации: 01.01.2021
|
| Обозначение: | МУ 11-16/03-06 |
| Обозначение англ: | MU 11-16/03-06 |
| Статус: | действует |
| Название рус.: | Методические указания по применению бактерицидных ламп для обеззараживания воздуха и поверхностей в помещениях |
| Дата добавления в базу: | 01.01.2019 |
| Дата актуализации: | 01.01.2021 |
| Область применения: | Документ рассчитан на работников лечебных учреждений и органов санитарно-эпидемиологического надзора, а также лиц, занимающихся проектированием и эксплуатацией облучательных установок |
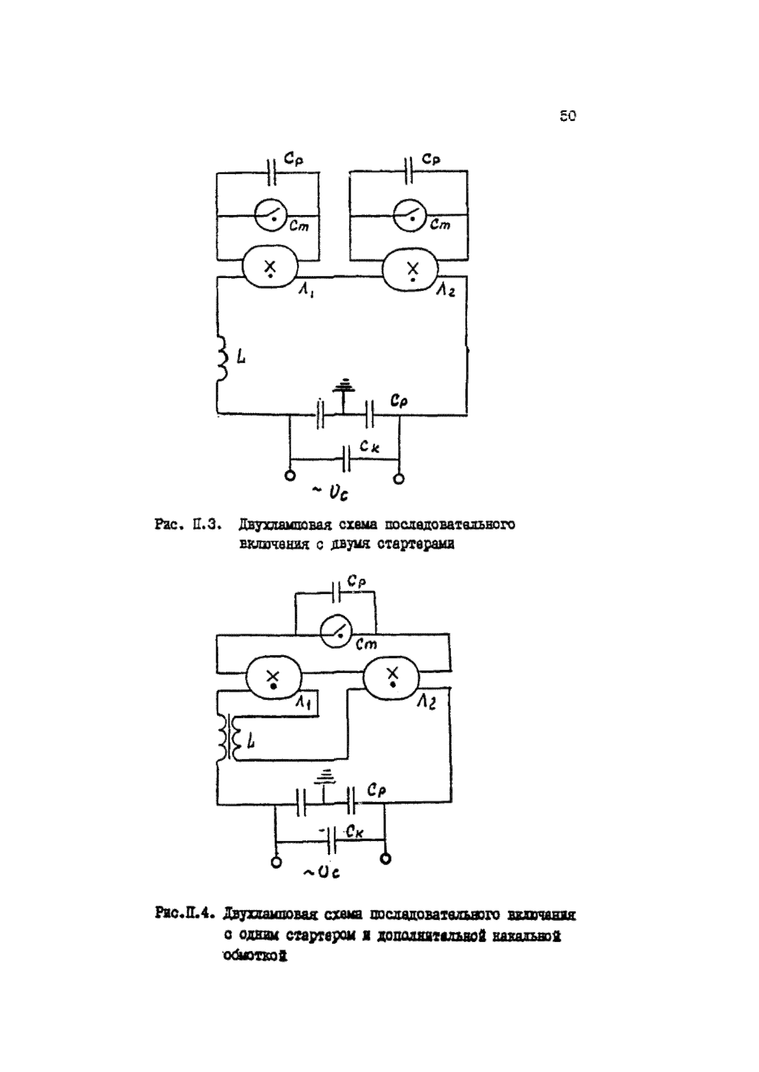
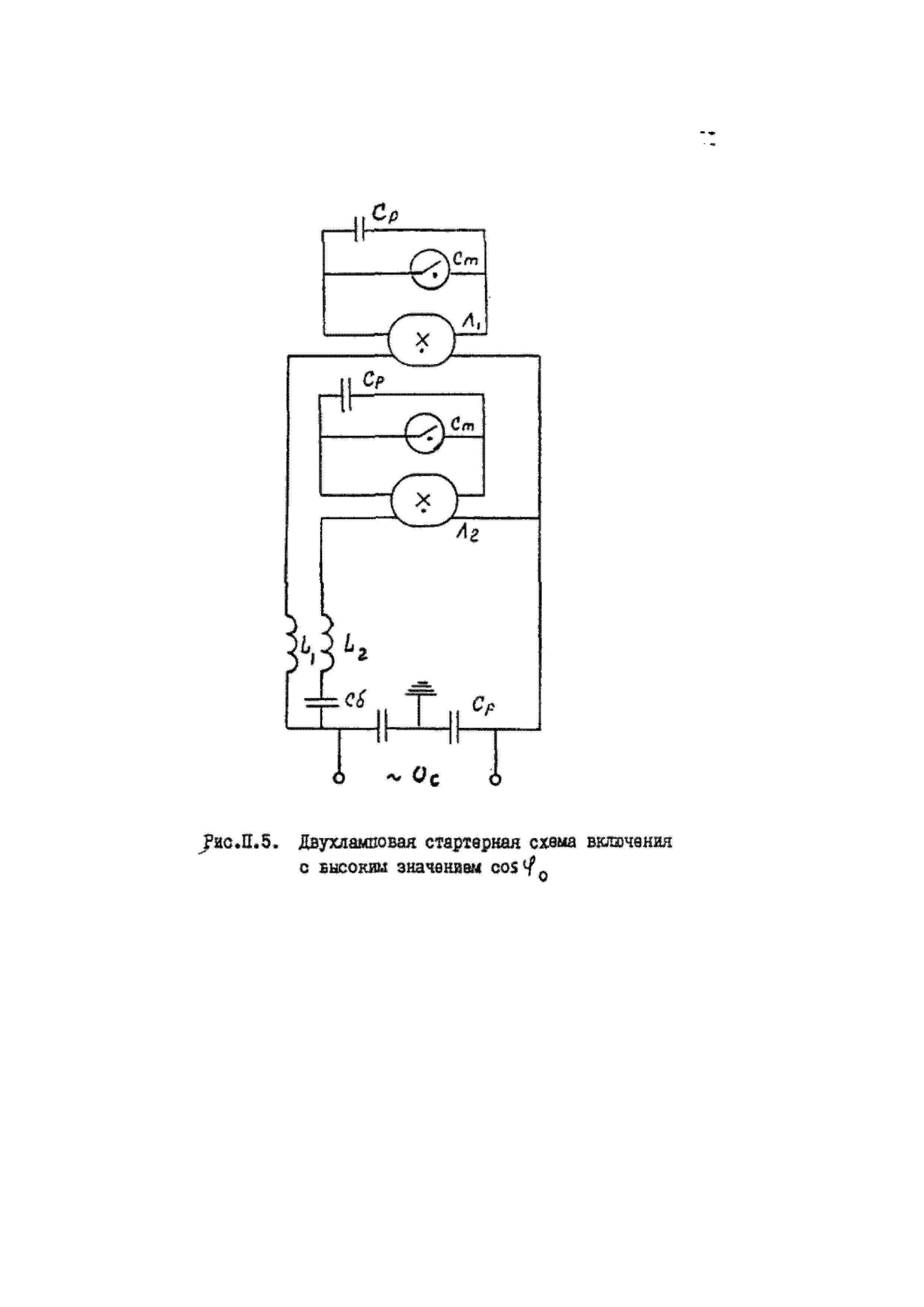
| Оглавление: | Введение 1 Бактерицидное действие ультрафиолетового излучения 2 Бактерицидные лампы 3 Бактерицидные облучатели 4 Методы измерения бактерицидного излучения. Измерительная аппаратура 5 Области и методы применения бактерицидных ламп. Облучательные установки 6 Требования безопасности и правила эксплуатации облучательных установок с бактерицидными лампами 7 Санитарно-гигиенические показатели 8 Санитарно-эпидемиологический надзор за применением бактерицидных ламп 9 Используемые термины, величины и единицы измерения Список литературы Приложение 1. Схемы включения бактерицидных ламп Приложение 2. Спектральный метод измерения ультрафиолетового излучения бактерицидных ламп Приложение 3. Бактериологический контроль за применением бактерицидных ламп Приложение 4. Перечень организаций, оказывающих услуги по применению бактерицидных ламп |
| Разработан: | НИИ общей и коммунальной гигиены им. А.Н. Сысина НИИ гигиены им. Ф.Ф. Эрисмана НИИ профилактической токсикологии и дезинфекции НИИ строительной физики Госстроя СССР НИИ Зенит НИИ медицинского приборостроения Информационно-аналитический центр Госкомсанэпиднадзора РФ |
| Утверждён: | 28.02.1995 Министерство здравоохранения и медицинской промышленности Российской Федерации (11-16/03-06) |
| Нормативные ссылки: |
|





























































