Скачать Методические указания по техническому обслуживанию реле прямого действия

Дата актуализации: 01.01.2021

Методические указания по техническому обслуживанию реле прямого действия

Статус:отменен
Название рус.:Методические указания по техническому обслуживанию реле прямого действия
Дата добавления в базу:01.01.2019
Дата актуализации:01.01.2021
Дата введения:01.05.1990
Дата окончания срока действия:01.05.1995
Область применения:В методических указаниях приведены сведения, необходимые для технического обслуживания реле прямого действия и электромагнитов, встраиваемых в пружинные приводы высоковольтных выключателей 6 - 35 кВ. Методические указания предназначены для персонала энергосистем и наладочных организаций, занимающегося наладкой и техническим обслуживанием устройств релейной защиты и электроавтоматики
Оглавление:1. Общая часть
2. Указания мер безопасности
3. Техническое обслуживание реле прямого действия
   3.1. Виды, периодичность и объем технического обслуживания
   3.2. Внешний осмотр
   3.3. Проверка механической части
   3.4. Совместная регулировка отключащего механизма привода и реле
   3.5. Проверка сопротивления изоляции и испытание ее повышенным напряжением
   3.6. Проверка электрических характеристик
Приложение 1. Реле тока мгновенного действия и токовые электромагниты отключения
Приложение 2. Реле тока с ограниченно-зависимой выдержкой времени
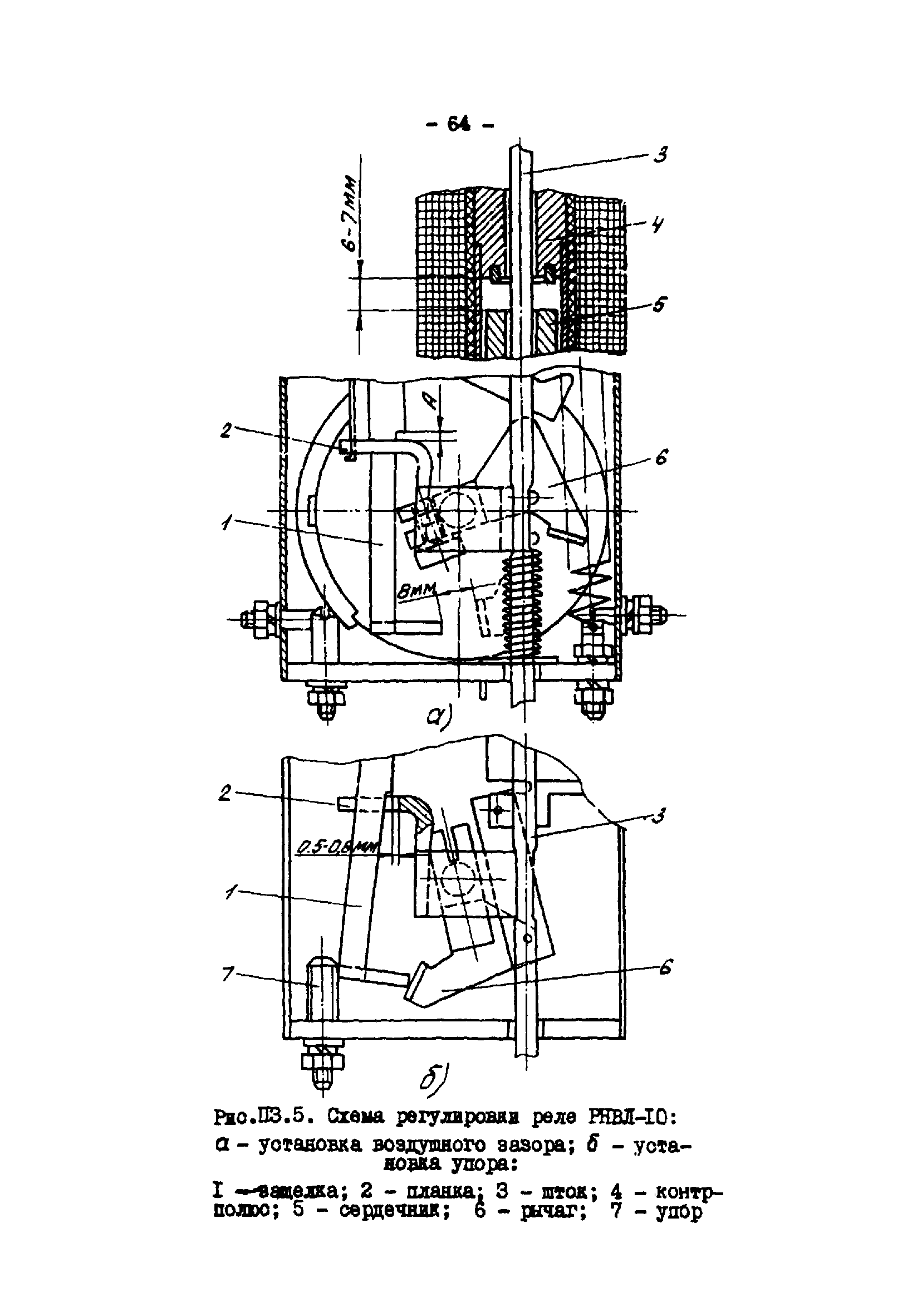
Приложение 3. Реле минимального напряжения
Приложение 4. Электромагниты управления (отключения и включения)
Приложение 5. Блокирующее реле отделителя
Приложение 6. Протокол проверки при новом включении реле тока прямого действия РТМ
Приложение 7. Протокол проверки при новом включении реле тока прямого действия РТВ
Приложение 8. Протокол проверки при новом включении реле напряжения прямого действия РНВ
Приложение 9. Перечень приборов и устройств, рекомендуемых для технического обслуживания реле прямого действия
Разработан: Средазтехэнерго ПО Союзтехэнерго
Утверждён:09.06.1989 Союзтехэнерго
Издан: СПО Союзтехэнерго (1990 г. )
Заменяет собой:
  • «Инструкция по наладке, проверке и эксплуатации реле прямого действия»
Нормативные ссылки: