Скачать МН 4977-63 Детали трубопроводов. Колена с углом 94 градусов неравноплечие с фланцами и опорой на Ру от 200 до 1000 кгс/см2. Конструкция и размеры

Дата актуализации: 01.01.2021

МН 4977-63

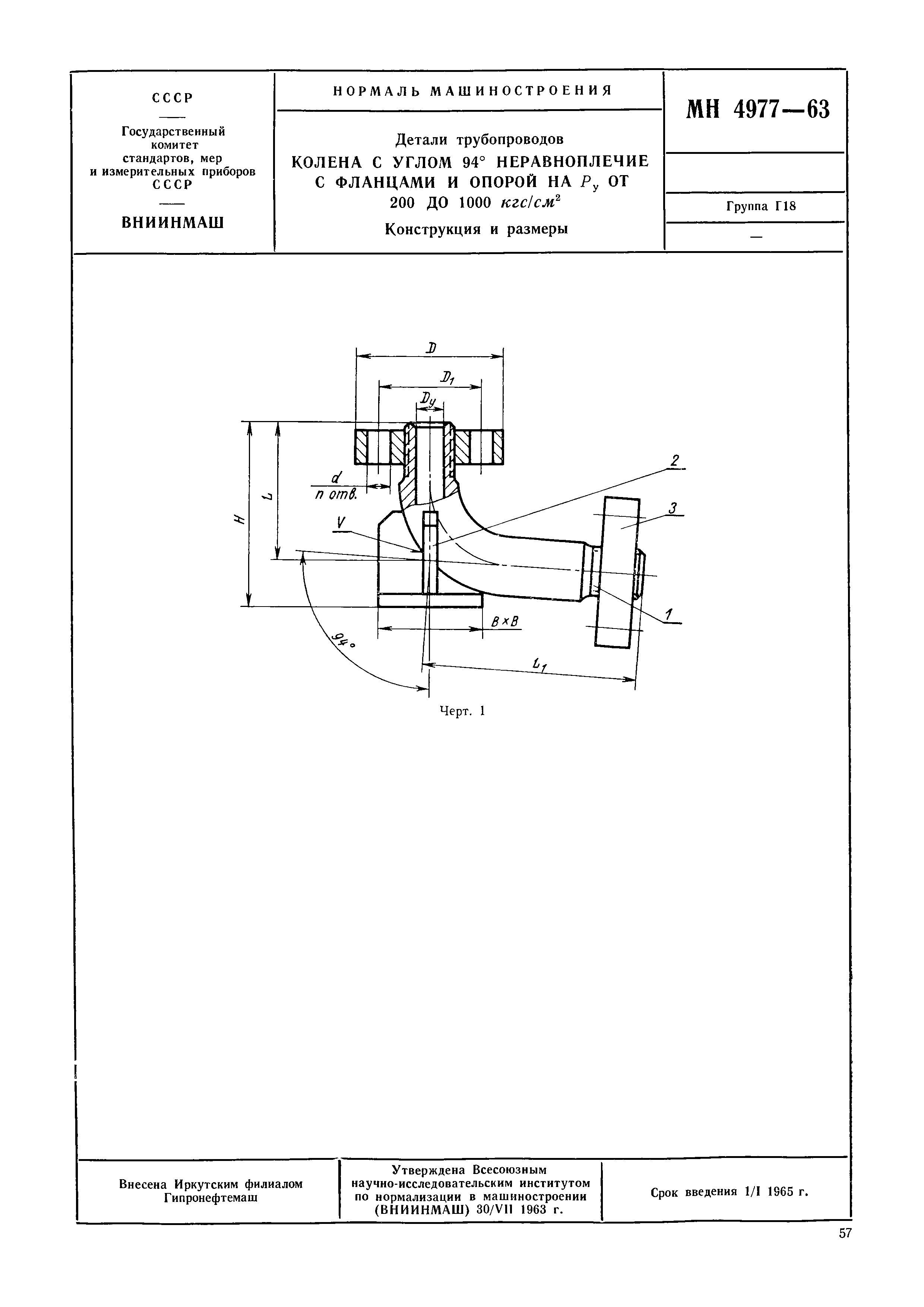
Детали трубопроводов. Колена с углом 94 градусов неравноплечие с фланцами и опорой на Ру от 200 до 1000 кгс/см2. Конструкция и размеры

Обозначение: МН 4977-63
Обозначение англ: MN 4977-63
Статус:действует
Название рус.:Детали трубопроводов. Колена с углом 94 градусов неравноплечие с фланцами и опорой на Ру от 200 до 1000 кгс/см2. Конструкция и размеры
Название англ.:Piping Components - Supports for Steel Pipelines, Welded-on, Fixed and Slip
Дата добавления в базу:01.01.2019
Дата актуализации:01.01.2021
Дата введения:01.01.1965
Оглавление:Приложение 1. Фланцевые соединения
Таблица для выбора длин шпилек
Разработан: ВНИИНМАШ
Утверждён:30.07.1963 ВНИИНМАШ (VNIINMASH )
Издан: Издательство Государственного Комитета стандартов, мер и измерительных приборов СССР (1964 г. )
Нормативные ссылки:
МН 4977-63МН 4977-63МН 4977-63МН 4977-63МН 4977-63МН 4977-63МН 4977-63МН 4977-63