Скачать ОСТ 95 10171-86 Охрана природы. Атмосфера. Отбор проб газоаэрозольных выбросов АЭС на содержание радионуклидов. Требования к условиям отбора пробДата актуализации: 01.01.2021
|
| Обозначение: | ОСТ 95 10171-86 |
| Обозначение англ: | OST 95 10171-86 |
| Статус: | не определен законодательством |
| Название рус.: | Охрана природы. Атмосфера. Отбор проб газоаэрозольных выбросов АЭС на содержание радионуклидов. Требования к условиям отбора проб |
| Дата добавления в базу: | 01.02.2020 |
| Дата актуализации: | 01.01.2021 |
| Дата введения: | 30.06.2003 |
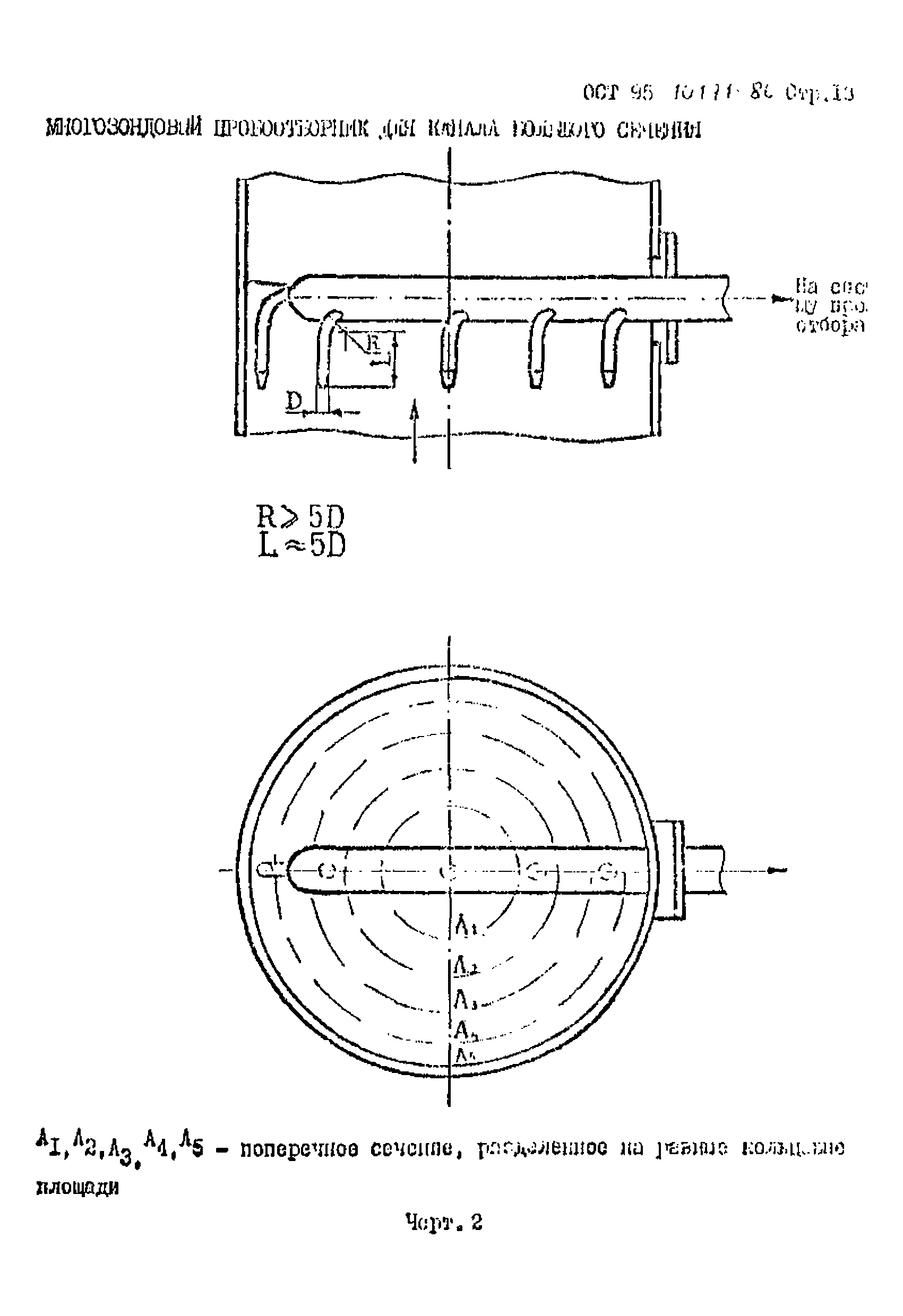
| Область применения: | Стандарт устанавливает общие требования к отбору проб газоаэрозольных сред АЭС |
| Оглавление: | 1 Общие положения 2 Требования к средствам отбора проб 3 Требования к методам отбора проб и размещению точек отбора проб 4 Требования к упаковке, маркировке, транспортированию и хранению проб |












