Скачать ОСТ 39-226-91 Соединения резьбовые конические для забойных двигателей. Технические требованияДата актуализации: 01.01.2021
|
| Обозначение: | ОСТ 39-226-91 |
| Обозначение англ: | OST 39-226-91 |
| Статус: | не определен законодательством |
| Название рус.: | Соединения резьбовые конические для забойных двигателей. Технические требования |
| Дата добавления в базу: | 01.02.2020 |
| Дата актуализации: | 01.01.2021 |
| Дата введения: | 01.04.1991 |
| Дата окончания срока действия: | 30.06.2003 |
| Область применения: | Стандарт распространяется на резьбовые конические соединения для забойных двигателей и специальных буровых инструментов. Стандарт устанавливает: типы резьб, основные параметры и размеры, технические требования и методы контроля при изготовлении; требования к сборке при изготовлении и эксплуатации |
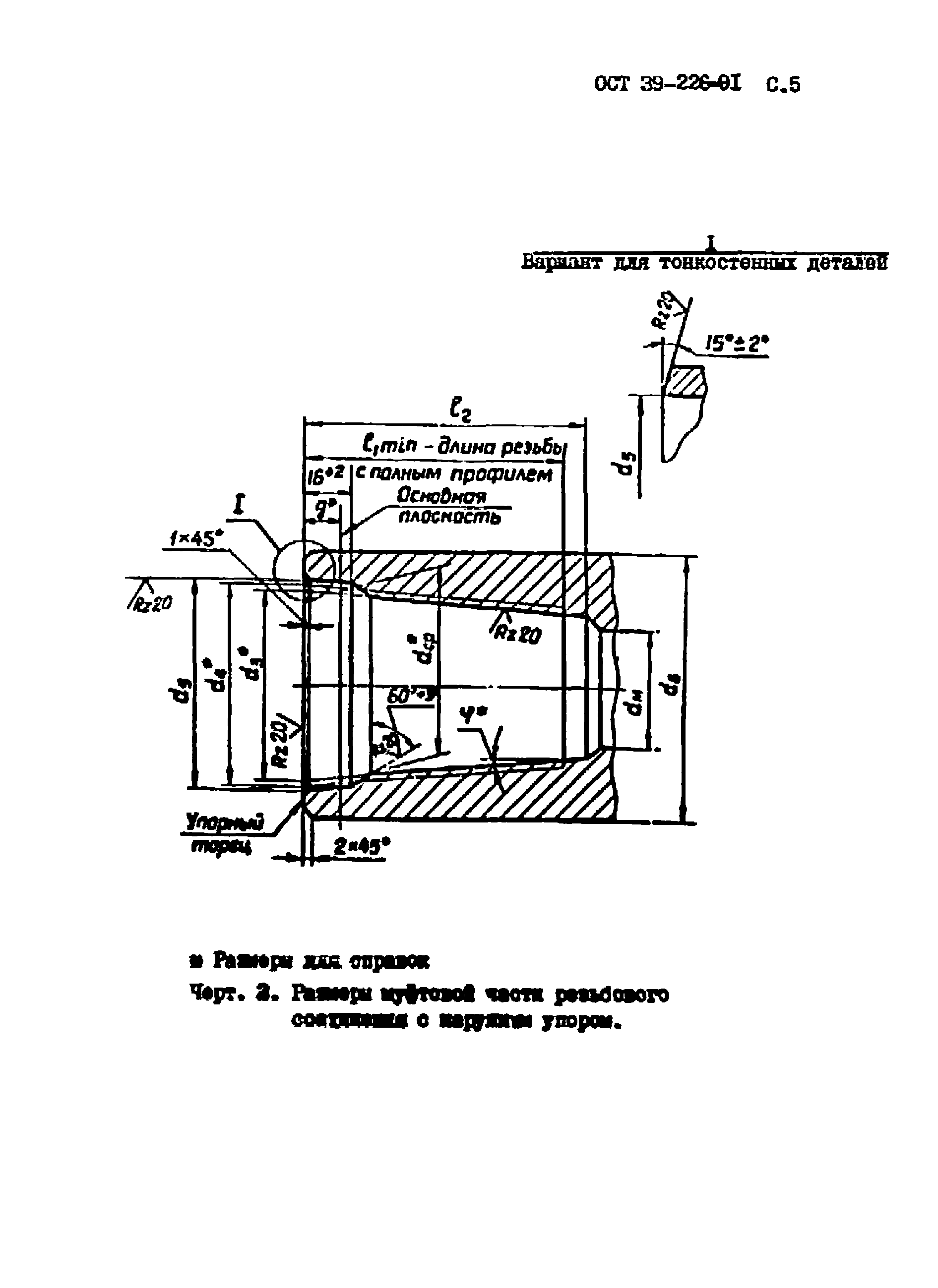
| Оглавление: | 1 Типы, основные параметры и размеры 2 Технические требования при изготовлении 3 Методы контроля при изготовлении 4 Требования к сборке резьбовых соединений при эксплуатации |
| Разработан: | ВНИИБТ |
| Утверждён: | 12.02.1991 Министерство нефтяной промышленности СССР (USSR Ministry of the Petroleum Industry 64) |
| Принят: | 04.11.1987 ВНИИОЭНГ |
| Нормативные ссылки: |
















































