Скачать Рекомендации по проектированию противопожарной защиты угольных шахт районов Крайнего Севера

Дата актуализации: 01.01.2021

Рекомендации по проектированию противопожарной защиты угольных шахт районов Крайнего Севера

Статус:справочные материалы, мп, тпр
Название рус.:Рекомендации по проектированию противопожарной защиты угольных шахт районов Крайнего Севера
Дата добавления в базу:01.02.2020
Дата актуализации:01.01.2021
Область применения:В документе приведен порядок составления проектов противопожарной защиты шахт, объем представляемых в них сведений и нормативы противопожарной защиты шахт районов Крайнего Севера, регламентированные Правилами безопасности и другими директивными документами. Рекомендации предназначены для инженерно-технических работников шахт, проектных организаций и ВГСЧ и могут быть использованы при строительстве и реконструкции угледобывающих предприятий
Оглавление:1 Проектирование противопожарной защиты
   1.1 Общие положения
   1.2 Основные принципы противопожарной защиты шахт
   1.3 Содержание проекта противопожарной защиты шахт
   1.4 Периодичность и объем проверок состояния противопожарной защиты шахт
2 Противопожарная защита промплощадки шахты и шахтных стволов
   2.1 Пожарный водоем и насосная станция
   2.2 Пожарный трубопровод на поверхности шахты
3 Подземное пожарное водоснабжение
   3.1 Назначение пожарно-оросительного трубопровода
   3.2 Требования к прокладке пожарно-оросительного трубопровода
   3.3 Схемы прокладки и расчета пожарно-оросительного трубопровода. Общие положения
   3.4 Оборудование сети пожарно-оросительного трубопровода
      3.4.1 Пожарные краны и задвижка
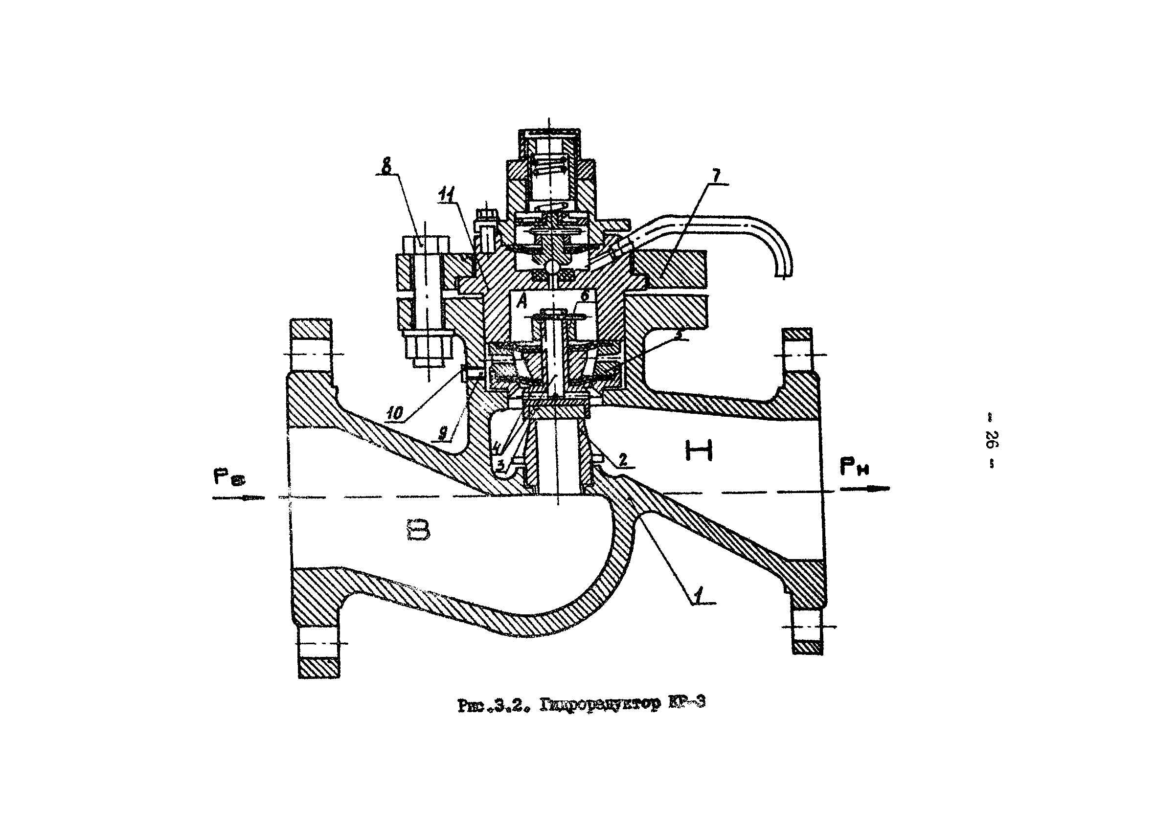
      3.4.2 Повысительные нососные станции, гидроредукторы
   3.5 Тепловая изоляция пожарно-оросительного трубопровода
   3.6 Электрический обогрев трубопровода
   3.7 Методика гидравлического расчета пожарно-оросительного водоснаюжения шахт
   3.8 Методика теплотехнических расчетов основных параметров пожарно-оросительного водоснабжения шахт районов Крайнего Севера
      3.8.1 Расчет тепловых параметров одиночных шахтных трубопроводов при прямоточном и противоточмом процессах теплообмена
      3.8.2 Расчет тепловых параметров шахтных трубопроводов при раздельной их прокладке в горной выработке
      3.8.3 Расчет тепловых параметров трубопроводов при совместной их прокладке с общей теплоизоляцией
      3.8.4 Расчет тепловых параметров трубопровода при использовании электрокабельного подогрева
      3.8.5 Расчет предельно допустимой длины сухотрубных ставов
      3.8.6 Расчет допустимого времени отключения трубопровода, заполненного водой
      3.8.7 Расчет мощности электрокабельного подогрева сухотрубных ставов
      3.8.8 Определение оптимальной толщины теплоизоляции циркуляционного трубопровода
4 Противопожарная защита горных выработок и камер
   4.1 Общие положения
   4.2 Первичные средства пожаротушения и нормативы их размещения
      4.2.1 Огнетушитель ручной порошковый ОП-8у
      4.2.2 Огнетушитель порошковый ОП-8Б
      4.2.3 Огнетушитель порошковый ОП-2Б
      4.2.4 Нормативы размещения первичных средств пожаротушения в горных выработках и камерах
   4.3 Автоматические установки порошкового пожаротушения
      4.3.1 Автоматическая установка порошкового пожаротушения "Буран"
      4.3.2 Установка порошкового пожаротушения "Север"
   4.4 Пожарные двери
   4.5 Требования к огнестойкости крепи горных выработок
   4.6 Склады пожарного оборудования
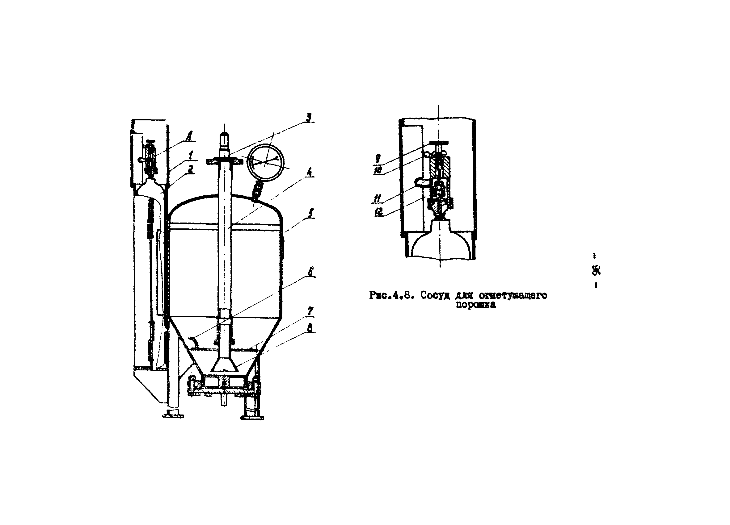
      4.6.1 Установки порошковые УП
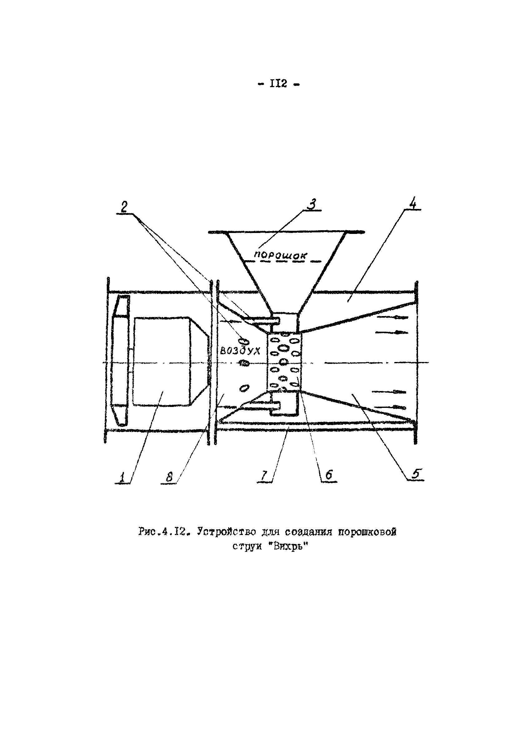
      4.6.2 Устройство для создания порошковой струи "Вихрь"
Приложение 1. Титульный лист проекта противопожарной защиты
Приложение 2. Пример гидравлического расчета пожарно-оросительного водоснабжения шахт
Приложение 3. Пример расчета тепловых параметров одиночных шахтных трубопроводов
Приложение 4. Пример расчета тепловых параметров трубопроводов при раздельной прокладке в горной выработке
Приложение 5. Пример расчета тепловых параметров труобпроводов при совместной их прокладке в обшей теплоизоляции
Приложение 6. Пример расчета тепловых параметров трубопровода при прокладке в нем греющего кабеля
Приложение 7. Пример расчета тепловых параметров трубопровода при наложении греющего кабеля на его поверхности (в общей теплоизоляции)
Приложение 8. Пример расчета допустимой длины сухотрубных ставов
Приложение 9. Пример расчета времени остывания воды в трубопроводе при отсутствии течения
Приложение 10. Пример расчета оптимальной толщины теплоизоляции циркуляционного трубопровода
Приложение 11. Перечень заводов-изготовителей пожарного оборудования
Разработан: ВНИИ горноспасательного дела
Утверждён:28.07.1977 НПО Респиратор
Нормативные ссылки: