Скачать Методические рекомендации для расчета коэффициента запаса устойчивости откосов с круглоцилиндрической поверхностью скольжения по программе КЗУ86К

Дата актуализации: 01.01.2021

Методические рекомендации для расчета коэффициента запаса устойчивости откосов с круглоцилиндрической поверхностью скольжения по программе КЗУ86К

Статус:справочные материалы, мп, тпр
Название рус.:Методические рекомендации для расчета коэффициента запаса устойчивости откосов с круглоцилиндрической поверхностью скольжения по программе КЗУ86К
Дата добавления в базу:01.02.2020
Дата актуализации:01.01.2021
Область применения:В рекомендациях приводится методика, позволяющая решать задачи расчета устойчивости откосов при круглоцилиндрических поверхностях скольжения по программе КЗУ86К.
Оглавление:Общие положения
1. Обоснование выбора способов расчета КЗУ, используемых в программе КЗУ86К
2. Учет фильтрационных и сейсмических сил
   2.1. Учет фильтрационных сил
   2.2. Учет сейсмических сил
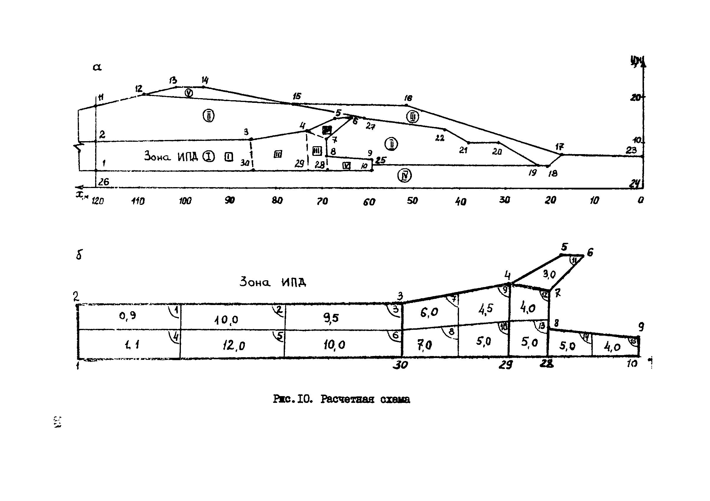
3. Подготовка расчетной схемы
   3.1. Упрощение ИГП и выделение главных ИГЭ
   3.2. Аппроксимация кривых линий ИГП
   3.3. Отображение зон ИПД и значение на схеме
      3.3.1. Выделение на ИГП зон ИПД
      3.3.2. Аппроксимация и графическое оформление зон ИПД на расчетной схеме
      3.3.3. Распределение значений внутри зон ИПД
   3.4. Задание депрессионной кривой
   3.5. Установление системы координат, границ области последования, описания геометрии ИГП
      3.5.1. Выделение ОИКЗУ и ИГП
      3.5.2. Выбор координатных осей
      3.5.3. Нумерация инженерно-геологических элементов
4. Подготовка исходной информации
   4.1. Подготовка массива MZ
   4.2. Подготовка массива MP
   4.3. Подготовка массива MO
   4.4. Подготовка массива МН
   4.5. Подготовка информации к расчетам КЗУ в условиях сейсмики
   4.6. Подготовка числа № 12
5. Краткое описание некоторых особенностей алгоритма программы
6. Контрольный пример
Литература
Приложение координаты узлов расчетной схемы
Разработан: ВНИОГЕМ
Утверждён:18.12.1987 Министерство черной металлургии СССР
Нормативные ссылки: