Скачать РД 12.18.086-89 Руководство по монтажу, ревизии и наладке проходческого оборудования. Компрессорные установкиДата актуализации: 01.01.2021
|
| Обозначение: | РД 12.18.086-89 |
| Обозначение англ: | RD 12.18.086-89 |
| Статус: | справочные материалы, мп, тпр |
| Название рус.: | Руководство по монтажу, ревизии и наладке проходческого оборудования. Компрессорные установки |
| Дата добавления в базу: | 01.02.2020 |
| Дата актуализации: | 01.01.2021 |
| Область применения: | Документ предназначен для наладчиков специализированных бригад и рабочих энергомеханических служб |
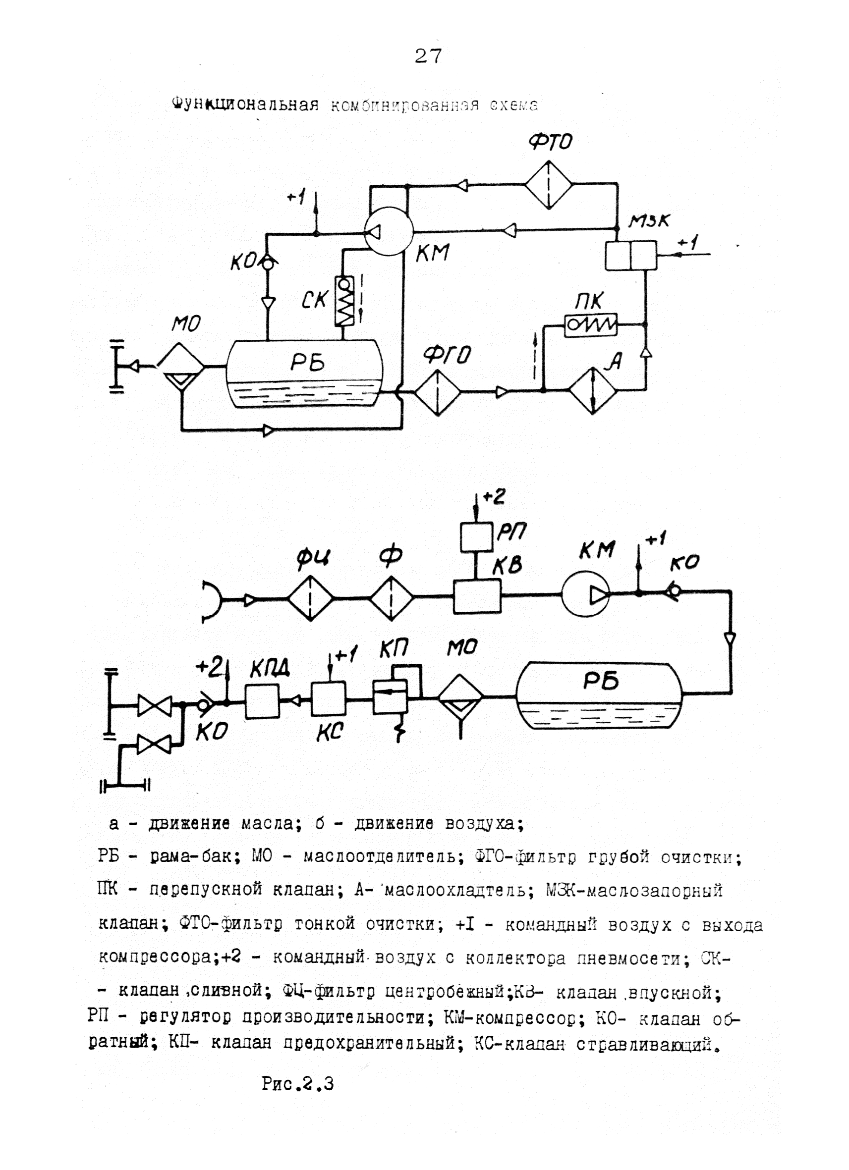
| Оглавление: | Введение 1. Общие положения 1.1. Требования к создаваемому руководству 1.2. Организация выполнения работ по ревизии, монтажу и наладке при передаче машин в эксплуатацию 1.3. Организация и выполнение работ при периодических наладках 1.4. Организация ремонтных работ 2. Ревизия и наладка механической части 2.1. Винтовые маслозаполненные компрессоры. Принцип работы, технические характеристики 2.2. Воздушные фильтры 2.3. Впускной клапан 2.4. Клапан сливной 2.5. Маслозапорный клапан 2.6. Обратный клапан 2.7. Регулятор производительности 2.8. Клапан поддержания минимального давления 2.9. Стравливающий клапан 2.10. Предохранительный клапан 2.11. Перепускной клапан маслосистемы 2.12. Охладитель масла 2.13. Фильтры 2.14. Пусковой насос компрессора 7ВВ 2.15. Объем испытаний при наладке механической части компрессора 3. Система охлаждения сжатого воздуха 3.1. Требования, предъявляемые к системе охлаждения 3.2. Ревизия и наладка охладительной установки 4. Очистка сжатого воздуха от вредных примесей 4.1. Требования к очистке сжатого воздуха 4.2. Ревизия и наладка центробежных фильтров 5. Ревизия и наладка электрической части винтовых маслозаполненных компрессоров 5.1. Распределительные устройства 5.2. Двигатели компрессоров 5.3. Тепловая защита двигателей 5.4. Аппаратура контроля температуры 5.5. Аппаратура контроля давления 5.6. Аппаратура контроля уровня масла 6. Монтаж и ревизия передвижной компрессорной станции 6.1. Общие сведения 6.2. Конструктивные особенности станции ПКС и ПКСМ 6.3. Монтаж блоков к ревизия оборудования Список литературы Приложение. Формы дополнительных актов и протоколов |
| Разработан: | Донецкий научно-конструкторский центр ВНИИОМШС |
| Утверждён: | 25.01.1989 Министерство угольной промышленности СССР (USSR Ministry of the Coal Industry ) |
| Нормативные ссылки: |


































































































































































