Скачать Рекомендации по проектированию, строительству и эксплуатации герметических надшахтных зданий и сооруженийДата актуализации: 01.01.2021
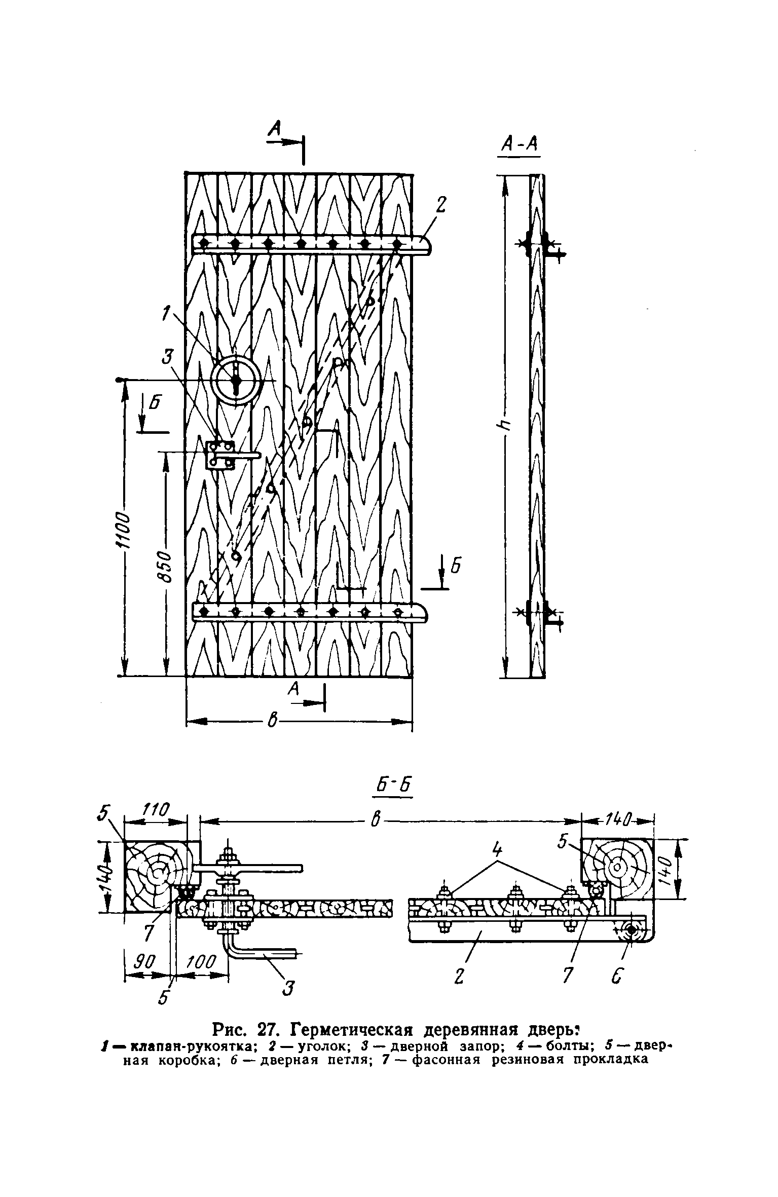
Рекомендации по проектированию, строительству и эксплуатации герметических надшахтных зданий и сооружений| Статус: | справочные материалы, мп, тпр | | Название рус.: | Рекомендации по проектированию, строительству и эксплуатации герметических надшахтных зданий и сооружений | | Дата добавления в базу: | 01.02.2020 | | Дата актуализации: | 01.01.2021 | | Область применения: | В рекомендациях приведены схемы герметизации элементов конструкций надшахтных зданий и вентиляционных сооружений поверхностных комплексов угольных шахт, предложены способы производства работ и средства повышения герметичности основных конструктивных элементов при возведении герметических зданий и вентиляционных каналов строящихся шахт и восстановлении нарушенной герметичности на действующих шахтах. Рекомендации предназначены для инженерно-технических работников проектных и научно-исследовательских институтов, а также для руководящего и эксплуатационного персонала шахт и шахтостроительных организаций. Ими можно руководствоваться при проектировании, строительстве и эксплуатации герметических надшахтных зданий и сооружений угольных и горнорудных шахт, а также герметических зданий и сооружений других отраслей промышленности. | | Оглавление: | Предисловие I. Общие положения II. Конструктивные решения герметических элементов надшахтных зданий и сооружений 1. Фундаменты 2. Стены 3. Перекрытия и покрытия 4. Окна, ворота и двери 5. Бункеры и разгрузочные устройства 6. Проемы и отверстия 7. Подкопровая рама 8. Вентиляционные каналы установок главного проветривания III. Материалы для герметизации элементов конструкций 1. Исходные материалы 2. Составы и технология приготовления материалов для герметизации Бетоны и растворы Защитные покрытия Герметики IV. Производство работ по герметизации конструкций 1. Возведение железобетонных стен в скользящей опалубке 2. Установка опалубки при возведении герметических конструкций из монолитного железобетона 3. Производство каменных работ 4. Устройство стен из сборных панелей и блоков 5. Способы нанесения герметизирующих покрытий 6. Заделка расстрелов 7. Сварка герметических конструкций V. Расчет годового экономического эффекта от внедрения «Рекомендаций» VI. Контроль за качеством и приемкой работ VII. Техника безопасности Приложение 1. Расход основных материалов на приготовление 1 т полимербитумных и полимерцементных покрытий Приложение 2. Перечень оборудования, необходимого для приготовления битумно-каучуковых мастик Приложение 3. Перечень оборудования для нанесения защитных полимербитумных и полимерцементных покрытий | | Разработан: | Донецкий Промстройниипроект
| | Утверждён: | 19.12.1969 Министерство угольной промышленности УССР
| | Издан: | Издательство Недра (1975 г. )
|
                                                                                                         
|