Скачать Сборник директивных материалов по эксплуатации электротеплотехнических установок угольной промышленности

Дата актуализации: 01.01.2021

Сборник директивных материалов по эксплуатации электротеплотехнических установок угольной промышленности

Статус:справочные материалы, мп, тпр
Название рус.:Сборник директивных материалов по эксплуатации электротеплотехнических установок угольной промышленности
Дата добавления в базу:01.02.2020
Дата актуализации:01.01.2021
Область применения:Сборник предназначен для инженерно-технических работников и рабочего персонала, занимающегося наладкой, эксплуатацией и ремонтом энергетического оборудования.
Оглавление:I. Электротехника
   1. Общие вопросы
   2. Системные вопросы. Электроснабжение
   3. Защита и электроавтоматика
   4. Трансформаторы
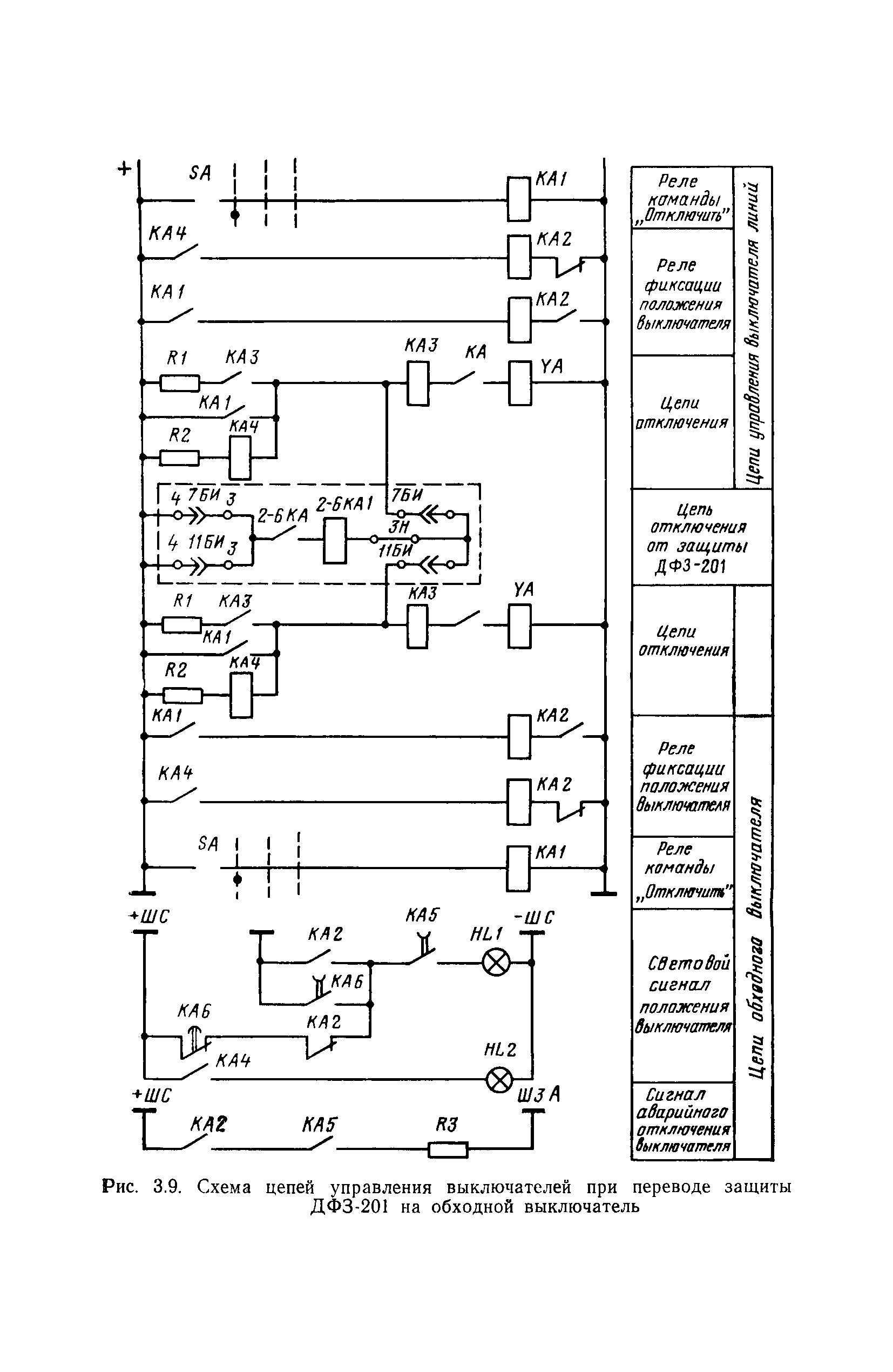
   5. Выключатели и приводы
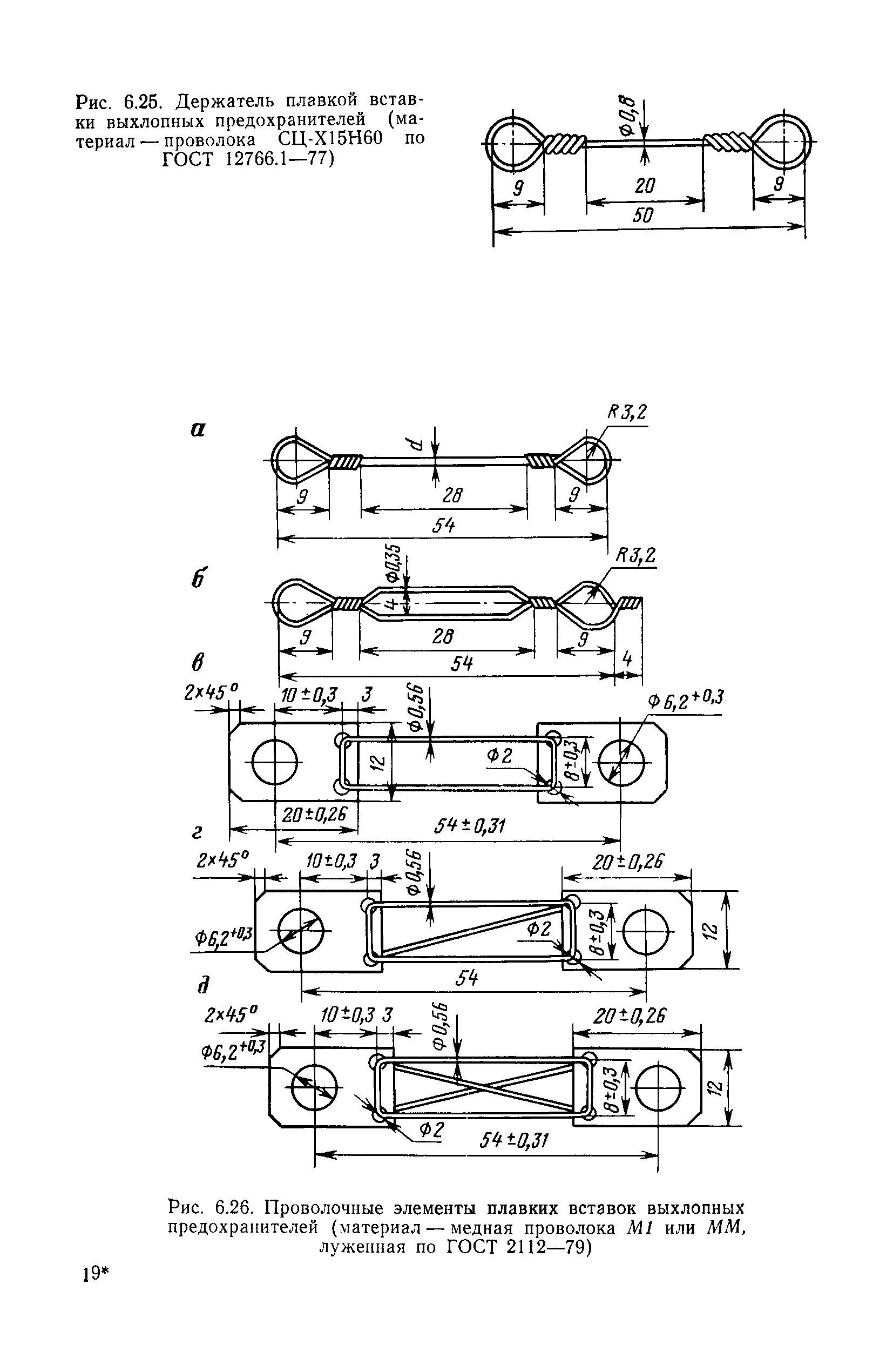
   6. Аппаратура распределительных устройств электростанций и подстанций
   7. Воздушные линии электропередачи
   8. Кабельные линии
   9. Техника безопасности
II. Теплотехника
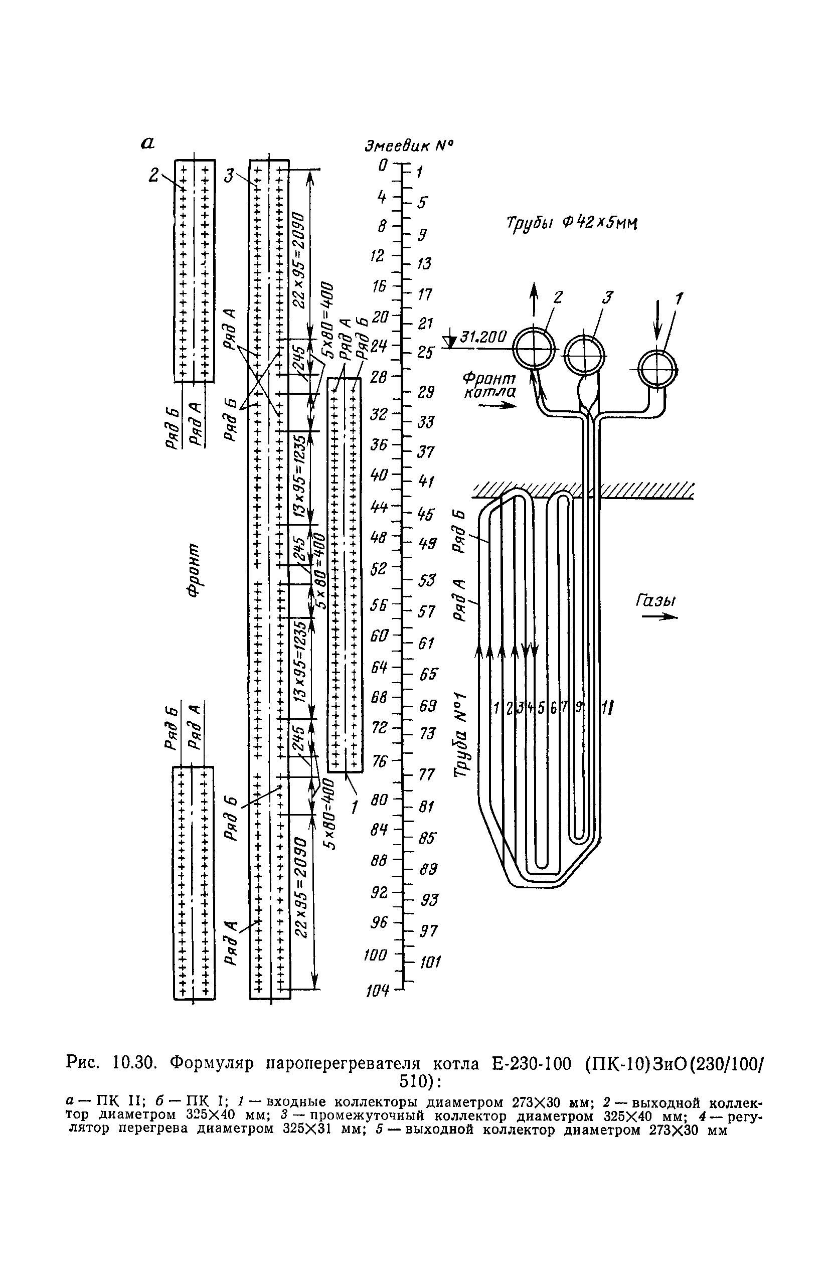
   10. Топливоподача, пылеприготовление, котельные установки и шлакоудаление
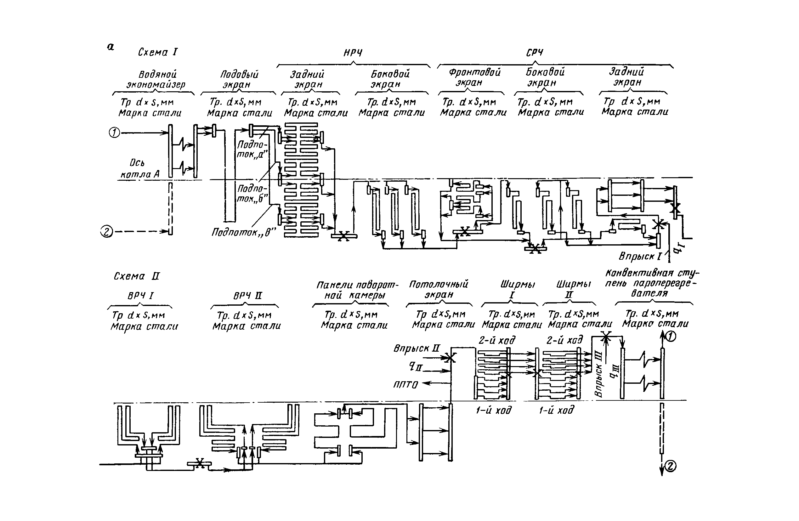
   11. Паротурбинные установки и системы централизованного теплоснабжения
   12. Трубопроводы и арматура
   13. Техника безопасности
Перечень директивных материалов
Утверждён: Министерство угольной промышленности СССР (USSR Ministry of the Coal Industry )
Издан: Недра (1988 г. )