Скачать Авиационные правила Часть 25 Нормы летной годности самолетов транспортной категорииДата актуализации: 01.01.2021
|
| Обозначение: | Авиационные правила Часть 25 |
| Обозначение англ: | Часть 25 |
| Статус: | действует |
| Название рус.: | Нормы летной годности самолетов транспортной категории |
| Дата добавления в базу: | 01.02.2020 |
| Дата актуализации: | 01.01.2021 |
| Область применения: | АП устанавливают нормы летной годности для выдачи Сертификатов типа, Одобрений главных изменений и дополнительных сертификатов типа на самолеты транспортной категории с газотурбинными двигателями. Каждое лицо, подающее заявку на получение такого сертификата или на внесение в него изменений, должно доказать соответствие применяемым требованиям данных АП |
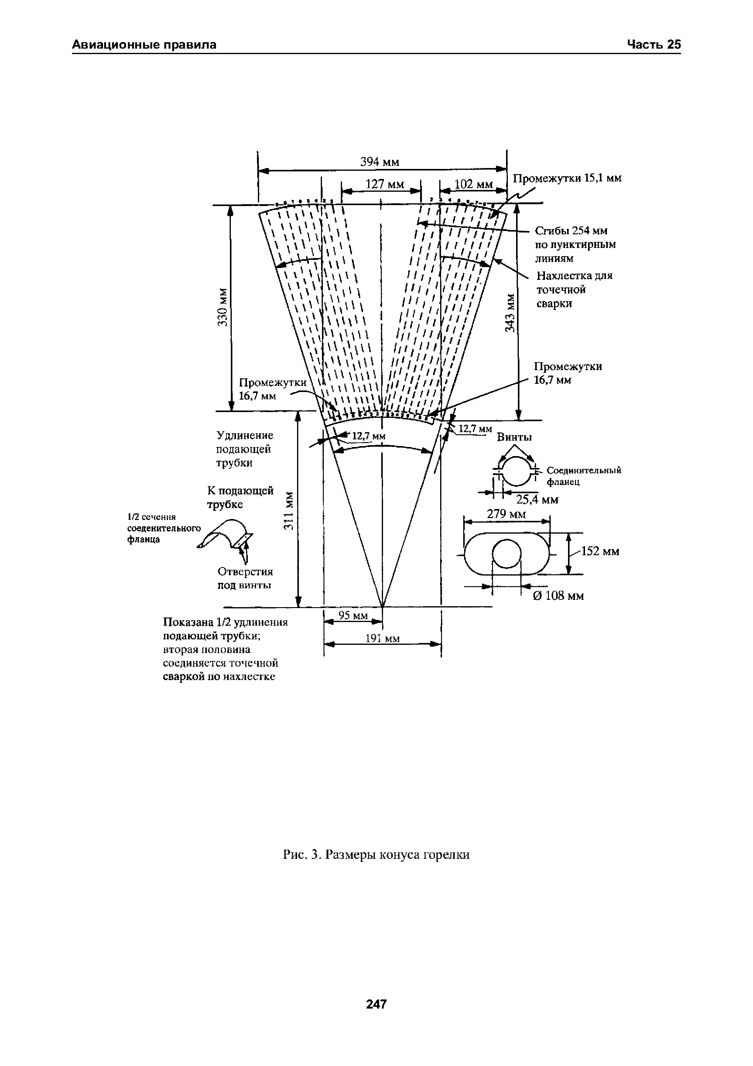
| Оглавление: | Введение Раздел А - Общие положения Раздел А-0 - Общие требования летной годности самолета при отказах функциональных систем Раздел В - Полет Общие положения Характеристики Управляемость и маневренность Балансировка Устойчивость Сваливание Характеристики управляемости самолета на земле и воде Различные летные требования Раздел С - Прочность Общие положения Полетные нагрузки Расчетные условия при выполнении маневров и при полете в неспокойном воздухе Дополнительные условия Нагрузки на поверхности и систему управления Наземные нагрузки Гидродинамические нагрузки Условия аварийной посадки Оценка усталостной прочности Защита от молнии Приложение П25.581 Раздел D - Проектирование и конструкция Поверхности управления Системы управления Шасси Корпус и поплавки гидросамолета Размещение членов экипажа, пассажиров и груза Аварийное оборудование Вентиляция и отопление Герметичность Пожарная защита Разное Дополнение 25D Раздел Е - Силовая установка Общие положения Топливная система Агрегаты и элементы топливной системы Масляная система Охлаждение Система подвода воздуха Выхлопная система Органы управления и агрегаты силовой установки Пожарная защита силовой установки Раздел F - Оборудование Общие положения Приборы: установка Электрические системы и оборудование Светотехническое оборудование Спасательное оборудование Прочее оборудование Дополнение 25F Раздел G - Эксплуатационные ограничения и информация Эксплуатационные ограничения Трафареты и надписи Летное руководство Раздел H - Средства передачи энергии, коммутации и монтажа (EWIS) Раздел J - Вспомогательная силовая установка Общие положения Топливная система Масляная система Охлаждение Системы подвода и отбора воздуха Выхлопная система Органы управления и агрегаты ВСУ Пожарная защита ВСУ Общие положения Функциональные ограничения Маркировка и таблички Летное руководство самолета Приложение А Приложение В Приложение С - Условия обледенения Приложение D - Критерии для определения состава минимального летного экипажа Приложение Е - [Зарезервировано] Приложение F Приложение H Приложение I Приложение J Приложение K Приложение L Определения и терминология, относящиеся к общим требованиям к летной годности самолета при отказах функциональных систем Условные обозначения, применяемые в FAR-25 (АП-25), и соответствующие им обозначения, принятые ранее в отечественной практике сертификации (НЛГС-3) Перечень употребляемых аббревиатур |
| Утверждён: | 23.10.2015 Совет по авиации и использованию воздушного пространства |
| Издан: | Межгосударственный авиационный комитет (2015 г. ) |































































































































































































































































































