Скачать Руководство по сокращению многозвенности транспортирования угля, породы и перевозки людей на действующих шахтах Минуглепрома УССРДата актуализации: 01.01.2021
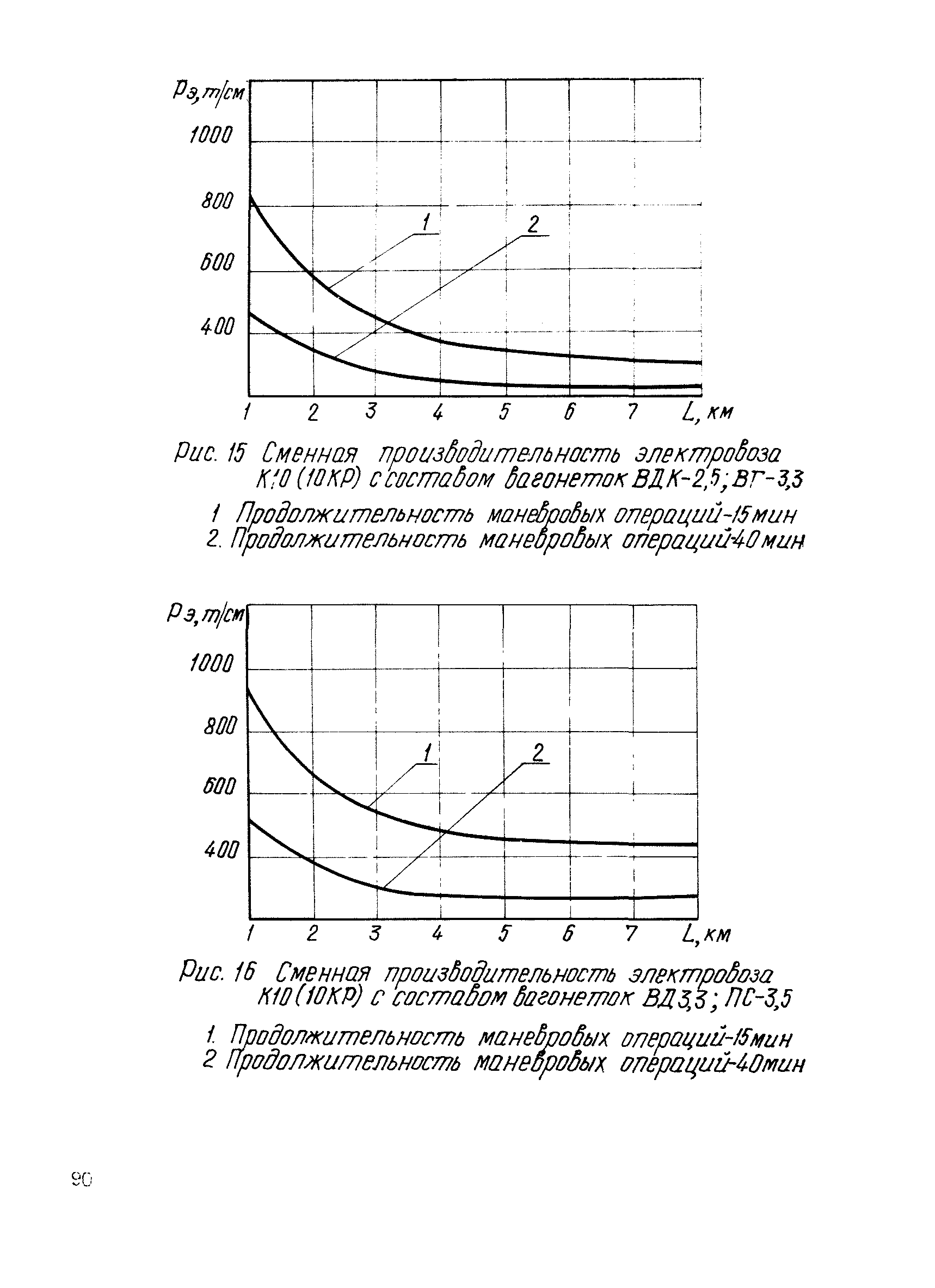
Руководство по сокращению многозвенности транспортирования угля, породы и перевозки людей на действующих шахтах Минуглепрома УССР| Статус: | справочные материалы, мп, тпр | | Название рус.: | Руководство по сокращению многозвенности транспортирования угля, породы и перевозки людей на действующих шахтах Минуглепрома УССР | | Дата добавления в базу: | 01.02.2020 | | Дата актуализации: | 01.01.2021 | | Область применения: | Руководство содержит методический и справочный материал для разработки технически и экономически обоснованных рекомендаций по сокращению многозвенности транспорта угля, породы и перевозки людей на действующих шахтах. Работа предназначена для работников шахт, производственных объединений, проектных организаций | | Оглавление: | 1. Общие положения 2. Анализ горнотехнических условий работы транспорта 3. Разработка возможных вариантов сокращения многозвенности подземного транспорта 4. Порядок выбора и расчета транспортного оборудования 5. Расчет экономической эффективности возможных вариантов сокращения многозвенности транспорта 6. Порядок оформления, рассмотрения и утверждения рекомендаций по сокращению многозвенности транспорта Приложение 1. Техническая характеристика средств основного и вспомогательного транспорта Приложение 2. Графики зависимости длины конвейерной установки от угла наклона выработки и эксплуатационной производительности конвейера Приложение 3. Графики зависимости сменной производительности электровозов от длины откатки Приложение 4. Рекомендации по сокращению многозвенности подземного транспорта шахты им. А.Ф. Абакумова (Донецкуголь) | | Разработан: | ДонУГИ
| | Утверждён: | 14.05.1982 Минуглепром УССР
|
                                                                                                                 
|