Скачать Правила технической эксплуатации проходческих лебедок

Дата актуализации: 01.01.2021

Правила технической эксплуатации проходческих лебедок

Статус:справочные материалы, мп, тпр
Название рус.:Правила технической эксплуатации проходческих лебедок
Дата добавления в базу:01.02.2020
Дата актуализации:01.01.2021
Область применения:Правила устанавливают сроки осмотров н ревизии всего оборудования лебедок, канатов, прицепных устройств в направляющих канатов. Правила определяют порядок производства спуско-подъемных операций с указанием необходимых мер предосторожности, обеспечивающих безопасное выполнение этих работ.
Оглавление:Глава I. Проходческие лебедки
   1. Типы проходческих лебедок
   2. Тормоза
   3. Привод проходческих лебедок
   4. Контрольно-измерительная аппаратура и защитно-блокировочные устройства
   5. Сигнализация
Глава II. Здания для подъемных лебедок
Глава III. Канаты
Глава IV. Прицепные устройства
Глава V. Копровые направляющие шкивы
Глава VI. Техническая документация на проходческие лебедки
Глава VII. Меры предосторожности при обслуживании электрического оборудования проходческих лебедок
Глава VIII. Уход за электрооборудованием
Глава IХ. Осмотры и ревизия проходческих лебедок
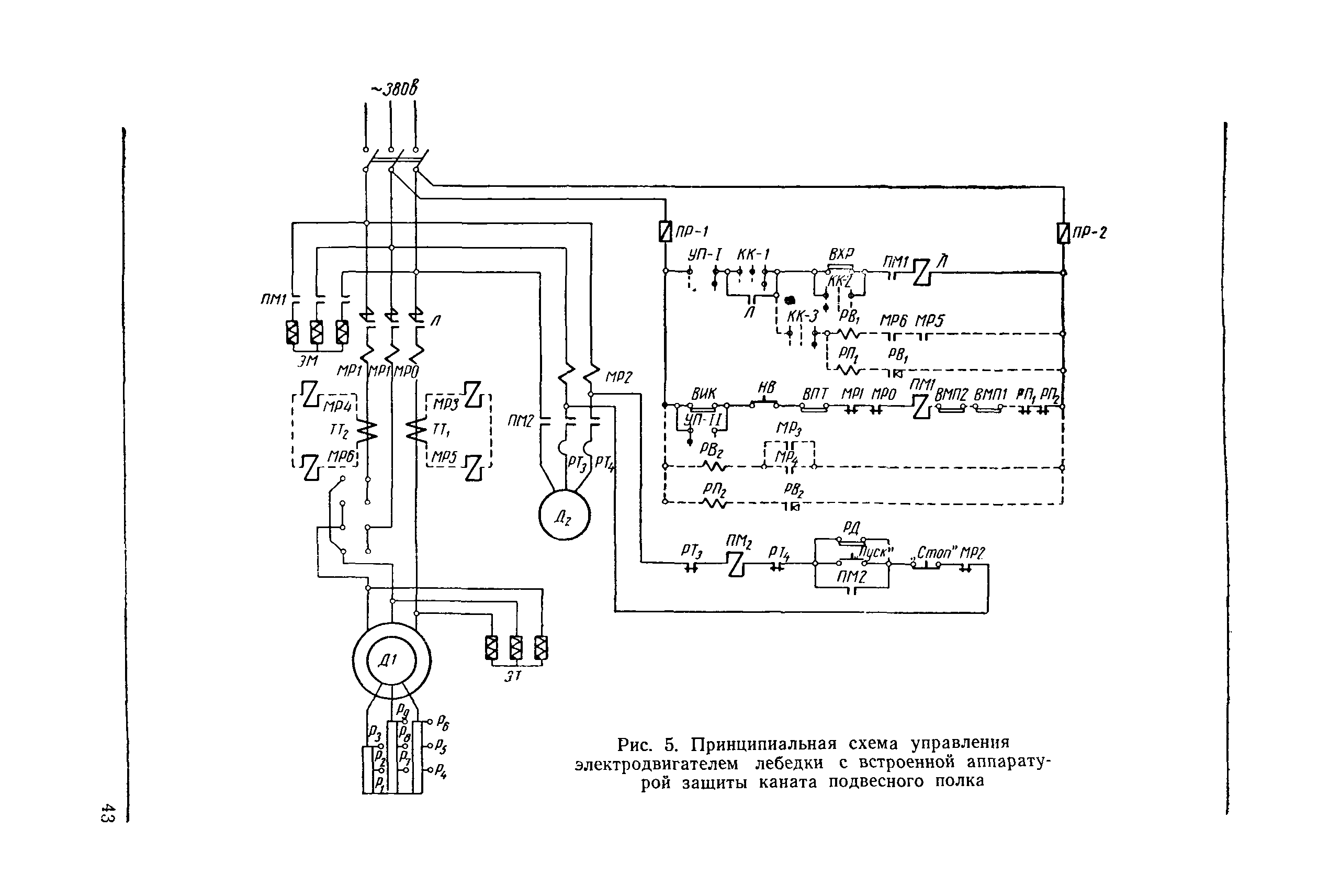
Глава Х. Спуско-подъемные операции с подвесным оборудованием
   1. Общие положения
   2. Подвесные полки
   3. Натяжные полки
   4. Ставы труб сжатого воздуха, вентиляции, бетона, тампонажа, цементации и водоотлива с жестким креплением их на канатах поддерживающих лебедок
   5. Подвесные насосы со ставом труб водоотлива со свободным перемещением каната в хомутах (подвеска через полиспаст)
   6. Щиты-оболочки, створчатая в секционная опалубка
   7. Тюбинги
   8. Люльки
   9. Кабели
Глава ХI. Ответственность за нарушение правил технической эксплуатации проходческих лебедок при проходке вертикальных стволов шахт
Приложение I. Инструкция для лиц, управляющих проходческими лебедками
Приложение II. Приборы для контроля и ограничения натяжения канатов проходческих лебедок
Приложение III. Паспорт копрового шквал
Приложение IV. Рекомендуемые типоразмеры проходческих лебедок для подвески различного стволового оборудования
Приложение V. Книга записи осмотра проходческих лебедок и их канатов
Приложение VI. Фундаменты
Утверждён:23.06.1961 Главное управление угольной и торфяной промышленности Укрсовнархоза
Принят:23.06.1961 Гостехнадзор УССР
Издан: Государственное научно-техническое издательство литературы по горному делу (1962 г. )
Нормативные ссылки: