Скачать Рекомендации по выбору и применению систем автоматического регулирования разгрузки тяжелых фракций из отсадочных машин

Дата актуализации: 01.01.2021

Рекомендации по выбору и применению систем автоматического регулирования разгрузки тяжелых фракций из отсадочных машин

Статус:справочные материалы, мп, тпр
Название рус.:Рекомендации по выбору и применению систем автоматического регулирования разгрузки тяжелых фракций из отсадочных машин
Дата добавления в базу:01.02.2020
Дата актуализации:01.01.2021
Область применения:В рекомендациях дан обзор и анализ материалов исследований наиболее распространенных и перспективных регуляторов разгрузки тяжелых фракций из отсадочных машин.
Оглавление:Испытание регуляторов
Описание регуляторов
   Регулятор разгрузки типа АР-3 конструкции института "Гипромашобогащение"
   Регулятор разгрузки конструкции института "Гипромашуглеобогащение"
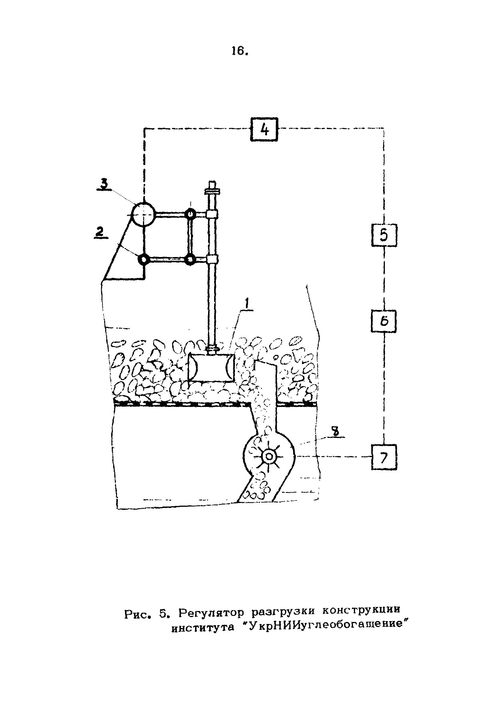
   Регулятор разгрузки конструкции института "УкрНИИуглеобогащение"
Выводы
Литература
Разработан: УКкрНИИуглеобогащение
Утверждён: Главуглеобогащение МУП УССР