Скачать Правила технической эксплуатации механического оборудования цехов окомкования металлургических предприятий

Дата актуализации: 01.01.2021

Правила технической эксплуатации механического оборудования цехов окомкования металлургических предприятий

Статус:справочные материалы, мп, тпр
Название рус.:Правила технической эксплуатации механического оборудования цехов окомкования металлургических предприятий
Дата добавления в базу:01.02.2020
Дата актуализации:01.01.2021
Область применения:Правила технической эксплуатации определяют обязанности персонала цехов окомкования, осуществляющего техническую эксплуатацию механического оборудования, и являются обязательными для работников всех подразделений цехов окомкования и комбината (предприятия) в целом.
Оглавление:Часть I. Общие положения
   1. Назначение Правил технической эксплуатации, контроль и ответственность за их выполнение
   2. Требования к персоналу, занятому технической эксплуатацией оборудования
   3. Техническое использование
   4. Техническое обслуживание
   5. Ремонт оборудования
Часть II. Правила технической эксплуатации механического оборудования
   1. Вагоноопрокидыватель
   2. Пластинчатый питатель
   3. Дробилка молотковая реверсивная
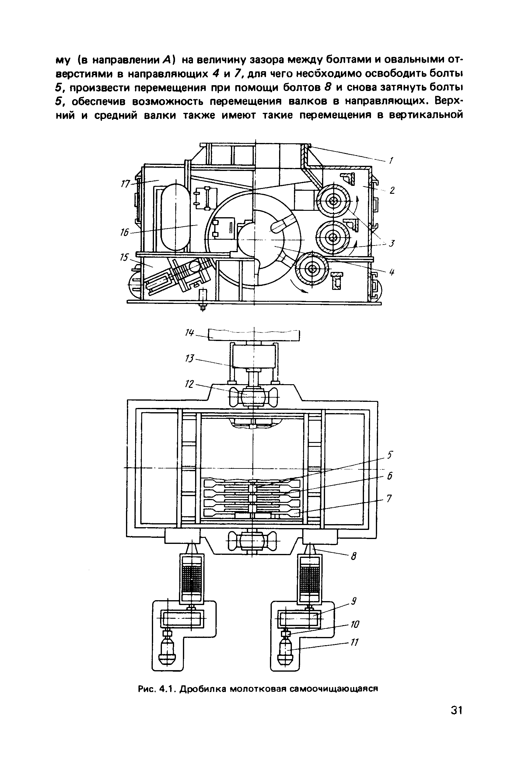
   4. Дробилка молотковая самоочищающаяся
   5. Мельница шаровая
   6. Сушилка барабанная
   7. Насос пневматический винтовой
   8. Весодозатор непрерывного действия
   9. Питатель дисковый
   10. Смеситель шнековый
   11. Окомкователь чашевый
   12. Окомкователь барабанный
   13. Грохот инерционный
   14. Укладчик качающийся
   15. Питатель роликовый
   16. Обжиговая машина
   17. Циклон пылевой
   18. Заборщик роторный
   19. Штабелеукладчик
Разработан: Механборчермет
ВНИИмехчермет
Утверждён:16.07.1984 Министерство черной металлургии СССР
Издан: Металлургия (1985 г. )
Нормативные ссылки: