Скачать Технические указания - Регламент по эксплуатации и обследованию оборудования установок каталитического риформинга и гидроочистки, работающих в водородосодержащих средах при повышенных температуре и давленииДата актуализации: 01.01.2021 |
| Статус: | взамен |
| Название рус.: | Технические указания - Регламент по эксплуатации и обследованию оборудования установок каталитического риформинга и гидроочистки, работающих в водородосодержащих средах при повышенных температуре и давлении |
| Дата добавления в базу: | 01.02.2020 |
| Дата актуализации: | 01.01.2021 |
| Дата введения: | 01.07.1998 |
| Область применения: | Регламент распространяется на сосуды, печные змеевики и трубопроводы, находящиеся под воздействием водорода при повышенных температурах и давлении в процессах каталитического риформинга для получения высокооктановых компонентов бензина и ароматических углеводородов, гидроочистки топлив. |
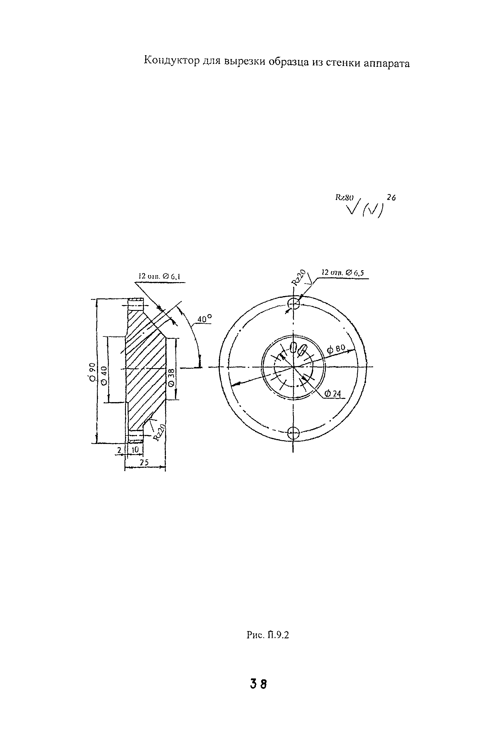
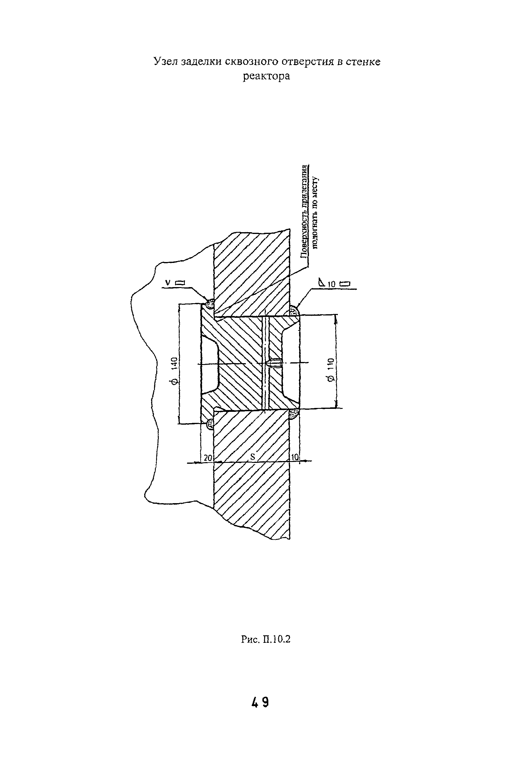
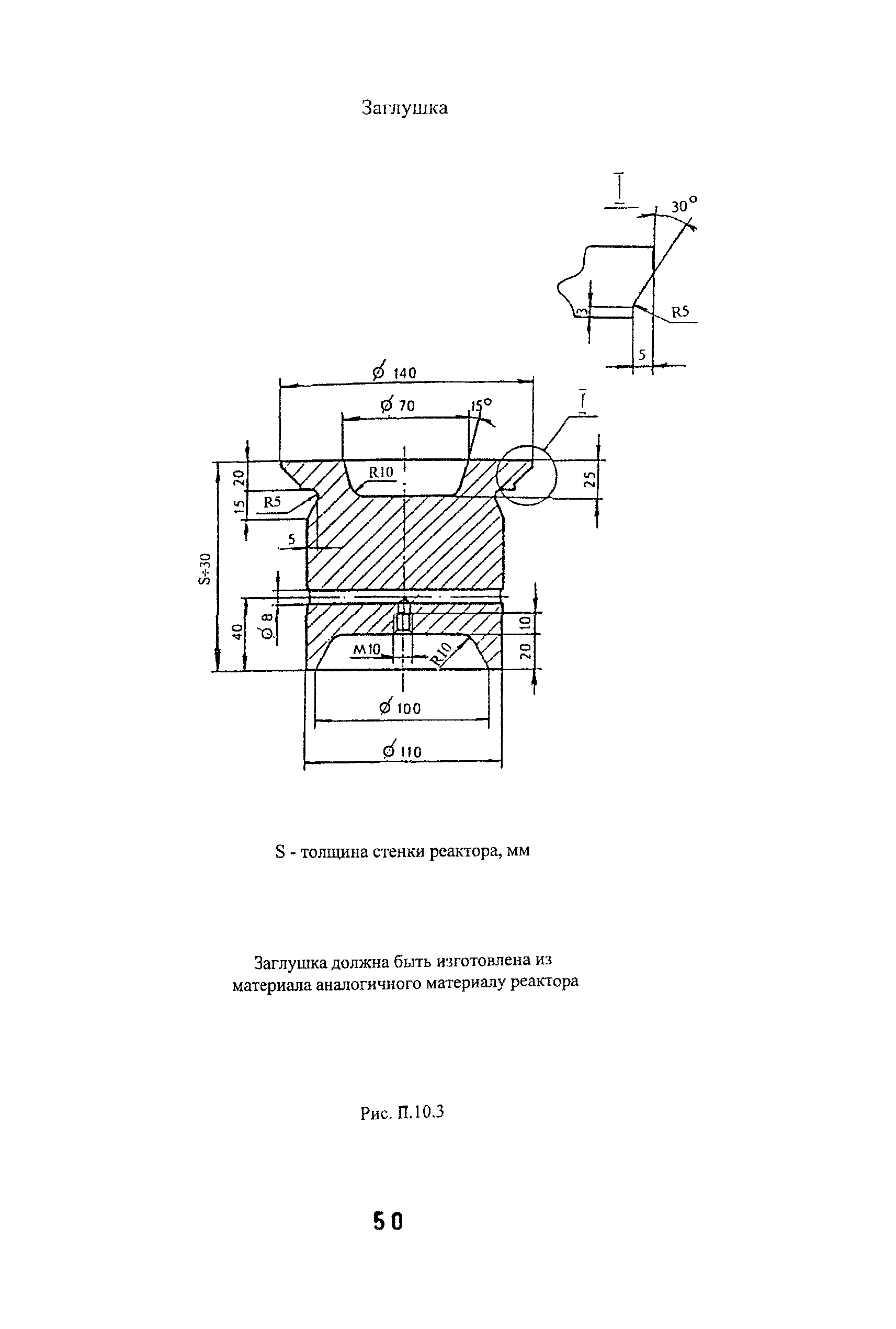
| Оглавление: | 1 Общие положения 2 Эксплуатация реакторов установок каталитического риформинга и гидроочистки 3 Эксплуатация теплообменников, работающих в водородсодержащих средах 4 Эксплуатация трубопроводов в водородсодержащих средах 5 Указания но контролю работы аппаратов и трубопроводов 6 Обследование аппаратов и трубопроводов Приложение 1. Расчетные параметры футерованных реакторов, изготовленных из углеродистых и низколегированных кремнемарганцевых сталей Приложение 2. Схема расположения термопар для замера температуры стенки корпуса и штуцеров реактора с внутренней теплоизоляцией Приложение 3. Форма ежедневного учета температур стенок корпусов и штуцеров реакторов Приложение 4. Форма отчета по температурам стенок корпусов и штуцеров реактора группы "А" Приложение 5. Форма отчета по температурам стенок корпусов и штуцеров реактора группы "Б" Приложение 6. Форма отчета о температурном режиме работы теплообменника Приложение 7. Форма отчета об условиях работы трубопровода Приложение 8. Краткая характеристика и эксплуатационные данные образца Приложение 9. Инструкция по вырезке образцов и заварке отверстий в стенках корпусов, днищ и штуцеров реакторов из углеродистых и низколегированных марганцовистых сталей Приложение 10. Инструкция по сквозной вырезке и заделке отверстий |
| Разработан: | АООТ ВНИИНЕФТЕМАШ АООТ ВНИИнефтехим |
| Принят: | 18.03.1998 Госгортехнадзор России (Russian Federation Gosgortekhnadzor ) |
| Заменяет собой: |
|
| Нормативные ссылки: |
|

















































