Скачать ГОСТ 34497-2018 Лопатки паровых турбин. Основные требования по заменеДата актуализации: 01.01.2021
|
| Обозначение: | ГОСТ 34497-2018 |
| Обозначение англ: | GOST 34497-2018 |
| Статус: | введен впервые |
| Название рус.: | Лопатки паровых турбин. Основные требования по замене |
| Название англ.: | Вlades for steam turbines. Basic requirements for replacement |
| Дата добавления в базу: | 01.02.2020 |
| Дата актуализации: | 01.01.2021 |
| Дата введения: | 01.07.2019 |
| Область применения: | Стандарт распространяется на стационарные турбины любой мощности с постоянной или переменной частотой вращения ротора, эксплуатируемые на тепловых и атомных электростанциях, а также промышленных предприятиях. Стандарт устанавливает общие технические требования на замену рабочих лопаток паровых турбин, находящихся в эксплуатации. Требования стандарта не распространяются на входной контроль лопаток. |
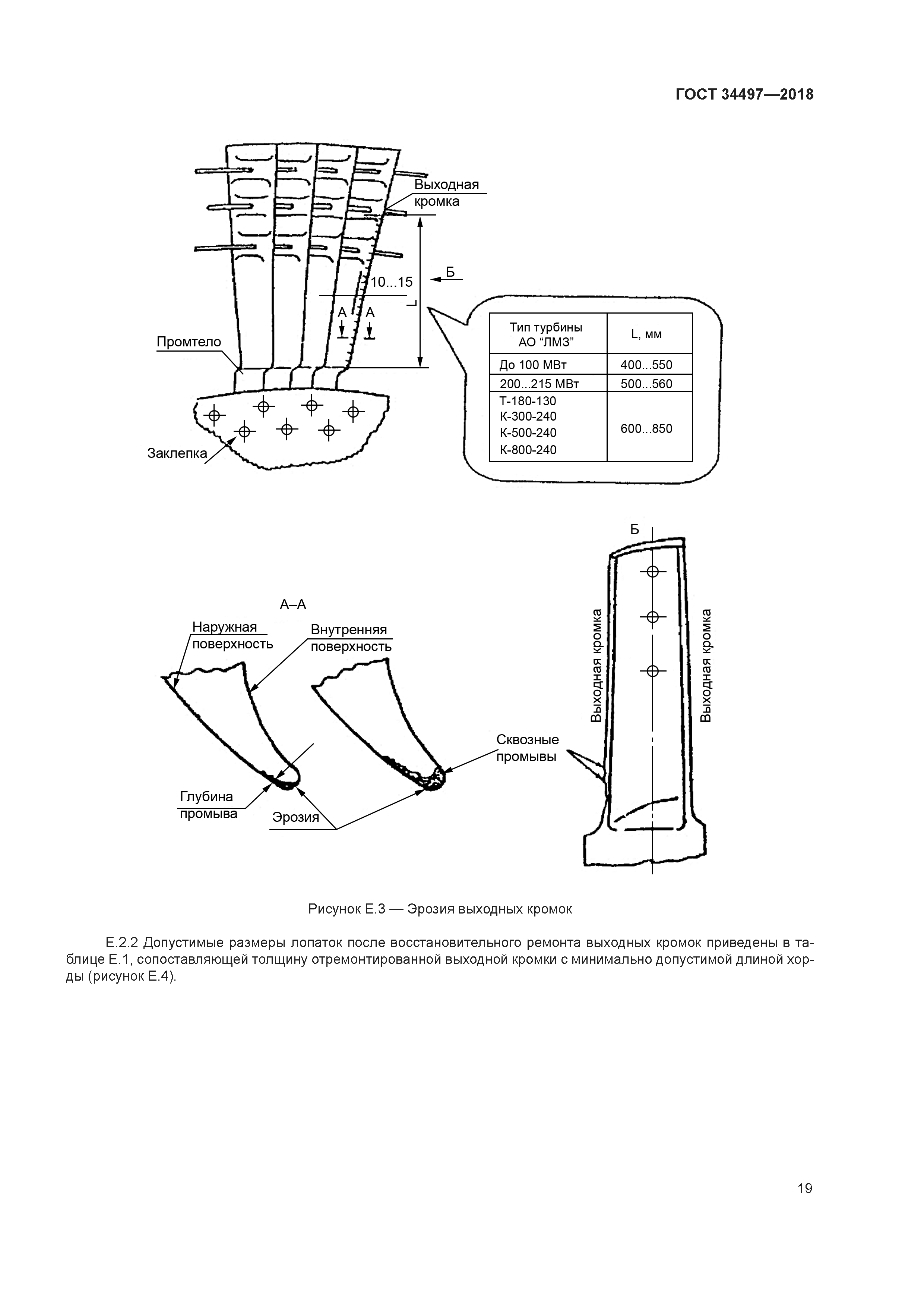
| Оглавление: | 1 Область применения 2 Нормативные ссылки 3 Сокращения 4 Термины и определения 5 Общие положения 6 Классификация рабочих лопаток 7 Классификация дефектов 8 Методы контроля 9 Нормы оценки 10 Требования к исполнительной документации Приложение А (рекомендуемое) Контроль металла рабочих лопаток паровых турбин Приложение Б (рекомендуемое) Номера ступеней, расположенных в ЗФП Приложение В (рекомендуемое) Визуальный и измерительный контроль металла рабочих лопаток Приложение Г (рекомендуемое) Контроль металла рабочих лопаток поверхностными методами Приложение Д (рекомендуемое) Ультразвуковой контроль металла рабочих лопаток Приложение Е (рекомендуемое) Допустимые размеры рабочих лопаток Приложение Ж (рекомендуемое) Справочные данные по твердости материала рабочих лопаток Библиография |
| Разработан: | ТК 244 Оборудование энергетическое стационарное ФГУП ВНИИНМАШ |
| Утверждён: | 29.11.2018 Межгосударственный Совет по стандартизации, метрологии и сертификации (Inter-Governmental Council on Standardization, Metrology, and Certification 54) 09.04.2019 Федеральное агентство по техническому регулированию и метрологии (125-ст) |
| Издан: | Стандартинформ (2019 г. ) |
| Нормативные ссылки: |
|


























