Скачать Типовые технологические схемы ведения горных работ на угольных разрезахДата актуализации: 01.01.2021
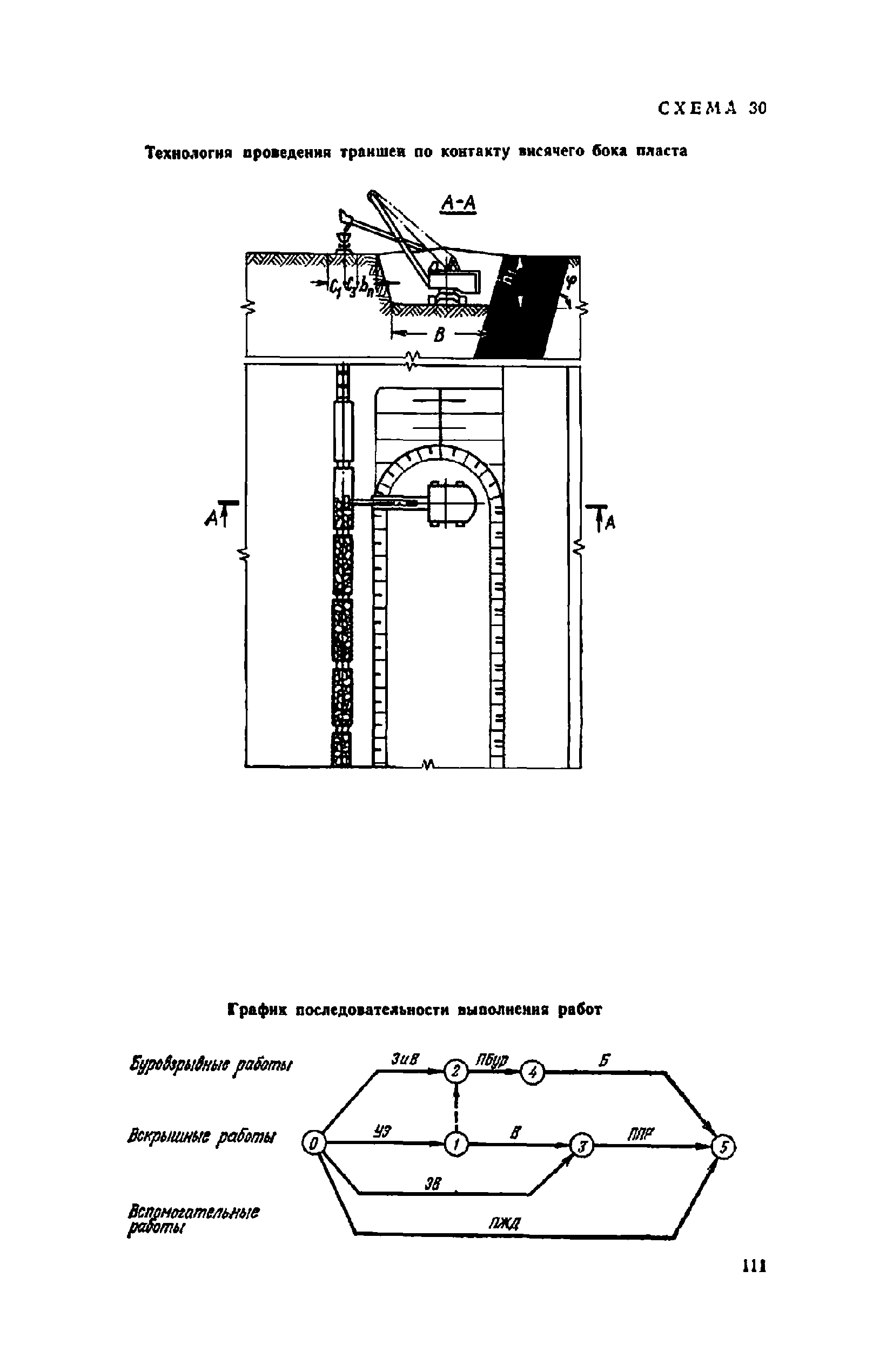
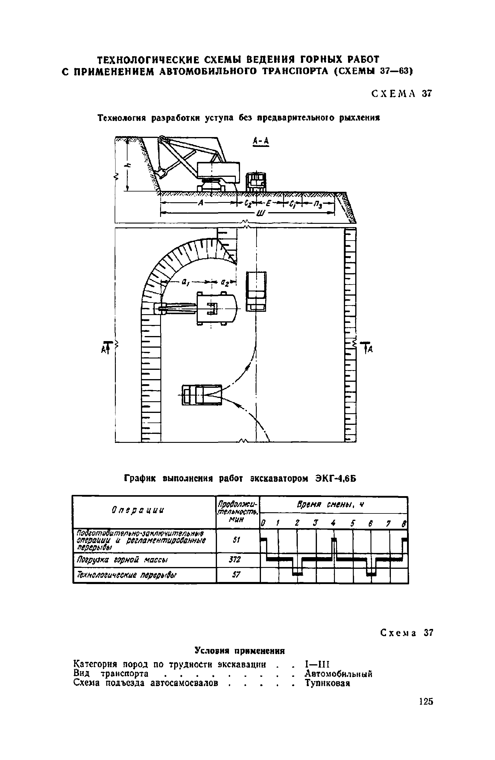
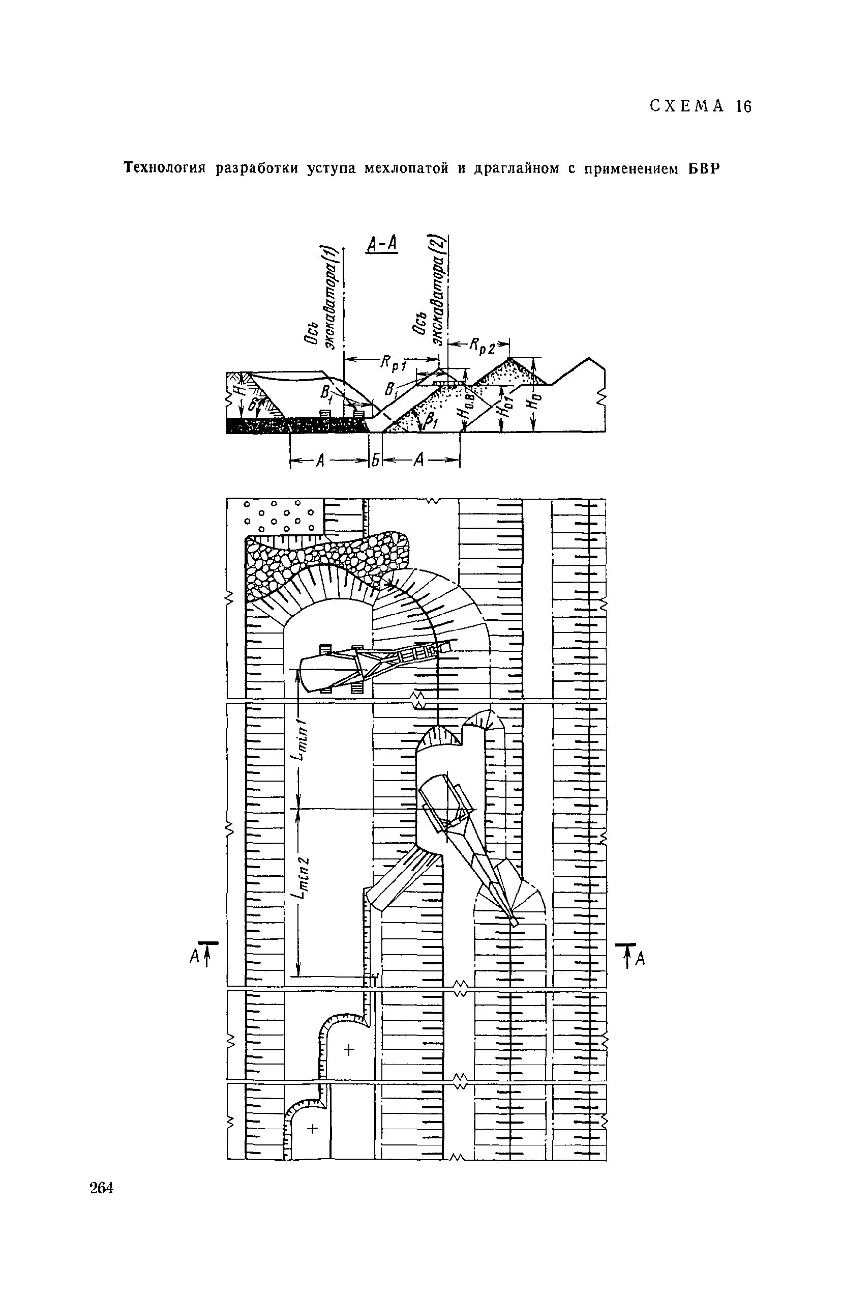
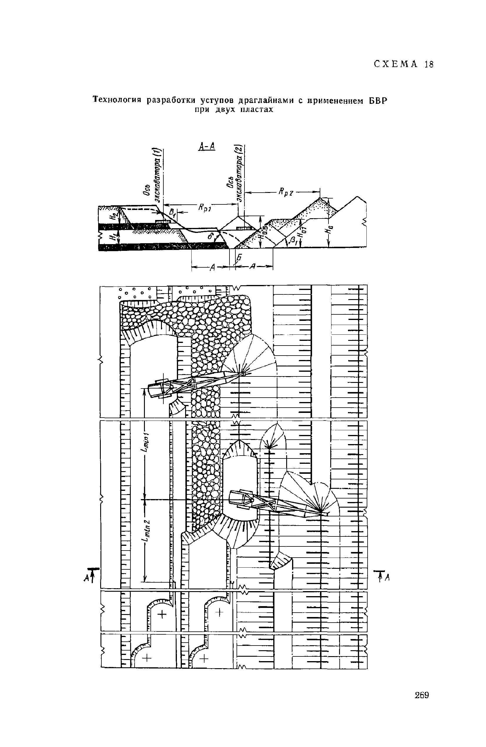
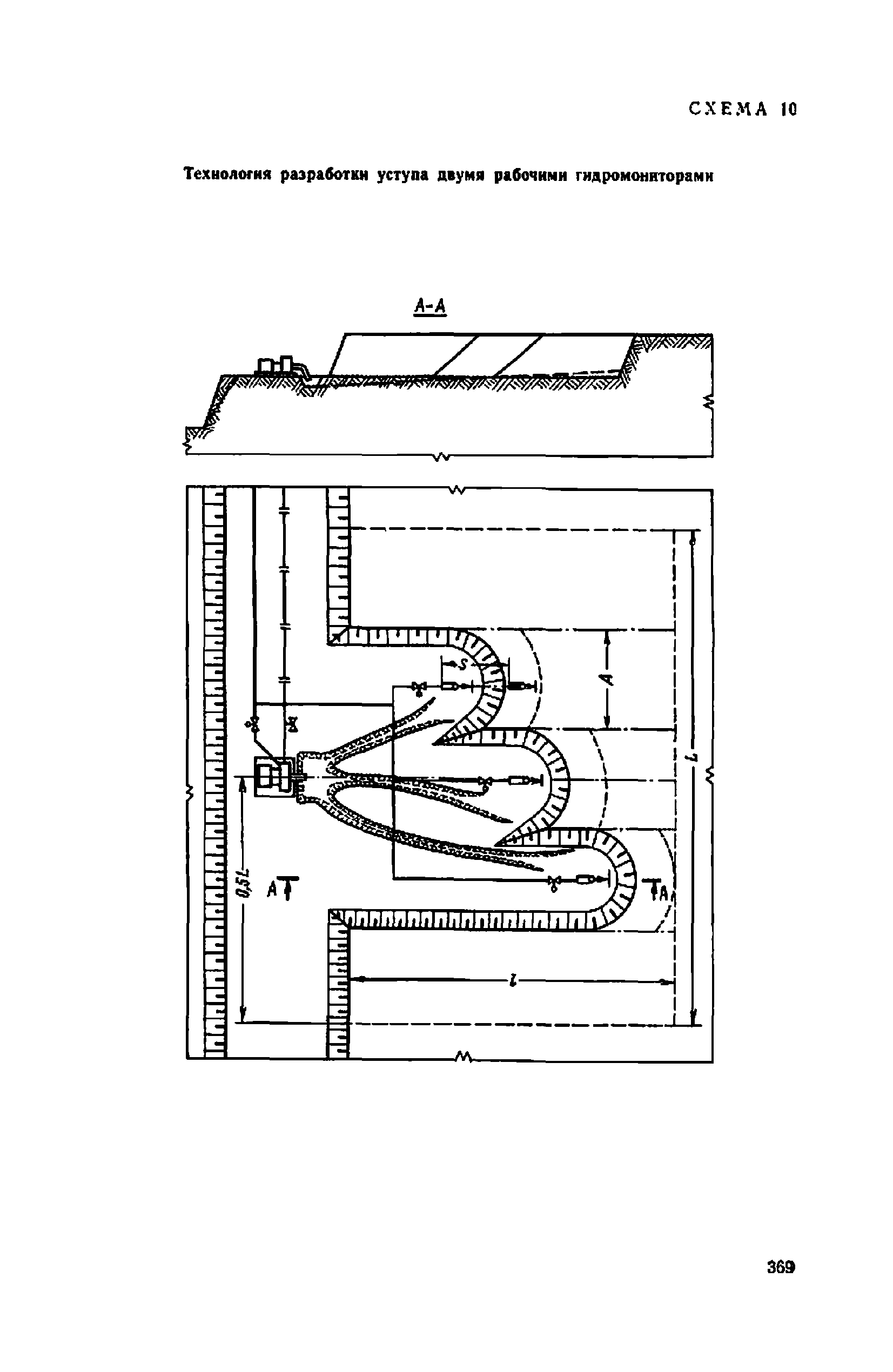
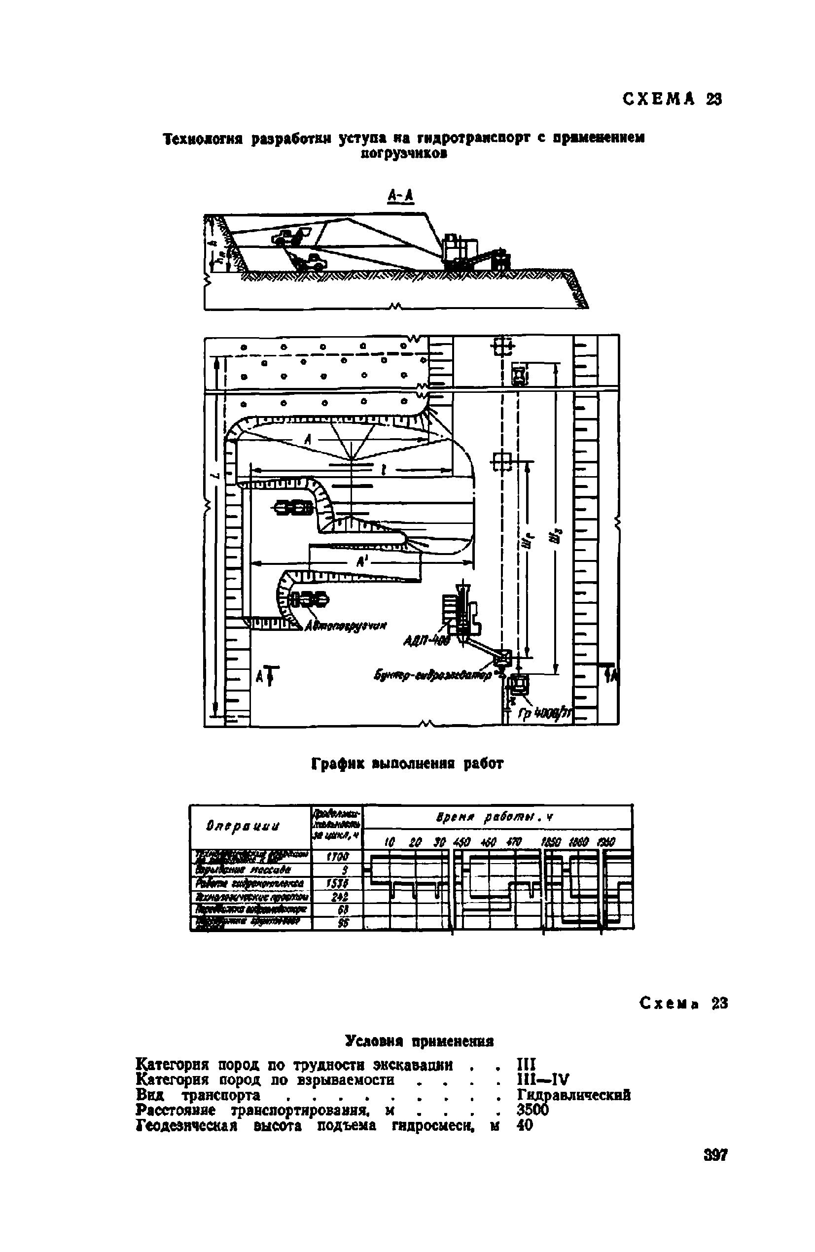
Типовые технологические схемы ведения горных работ на угольных разрезах| Статус: | информационный документ | | Название рус.: | Типовые технологические схемы ведения горных работ на угольных разрезах | | Дата добавления в базу: | 01.02.2020 | | Дата актуализации: | 01.01.2021 | | Область применения: | В документе изложены основные принципы разработки технологических схем для различных горнотехнических условий и выбора средств механизации горных, транспортных, отвальных и вспомогательных работ. Приведены расчеты элементов системы разработки, производительности горнотранспортного оборудования, параметров и показателей буровзрывных работ. Рассмотрены вопросы организации ведения горных работ и использования типовых технологических схем. Предназначены для инженерно-технических работников горных предприятий, научно-исследовательских, проектных и других организаций и учреждений. | | Оглавление: | Предисловие Часть I. Схемы ведения горных работ при транспортных системах разработки 1 Ведение 2 Современное состояние горных работ на угольных разрезах 3 Общие требования к типовым технологическим схемам и систематизация схем 4 Средства механизации горных работ и внутрикарьерного транспорта 5 Элементы системы разработки 6 Схемы путевого развития 7 Расчет производительности экскаватора 8 Параметры и показатели буровзрывных работ 9 Схемы рекультивации 10 Организация работ 11 Использование технологических схем 12 Эффективность применения технологических схем Технологические схемы ведения горных работ с применением железнодорожного транспорта (схемы 1— 36) Схемы разработки уступов без предварительного рыхления (схемы 1—6) Схема 1. Технология разработки уступа при одном пути Схема 2. Технология разработки уступа при двух путях Схема 3. Технология разработки уступа с верхней погрузкой Схема 4. Технология разработки уступов с верхней погрузкой и погрузкой на уровне стояния Схема 5. Технология разработки уступов драглайном и мехлопатой Схема 6. Технология разработки уступов двумя мехлопатами Схемы разработки уступов с применением буровзрывных работ (схемы 7 - 13) Схема 7. Технология разработка уступа за один проход при одном пути Схема 8.Технология разработка уступа за одни проход при двух путях Схема 9. Технология разработка уступа за два прохода при одном пути Схема 10. Технология разработки уступа за два прохода при двух путях Схема 11. Технология разработки уступа с верхней погрузкой Схема 12. Технология разработка уступов с верхней погрузкой и погрузкой на уровне стояния Схема 13. Технология разработки уступа со сбросом породы верхнего подуступа Схемы разработки с наклонным подвиганием уступов (схемы 14—15) Схема 14. Технология разработки двух уступов на один транспортный горизонт Схема 15. Технология разработки двух уступов на два транспортных горизонта Схемы селективной разработки уступов (схемы 16 — 25) Схема 16. Технология разработки уступа с погрузкой на уровне стояния Схема 17. Технология разработки уступа с верхней погрузкой Схема 18. Технология разработки уступа с частичной перевалкой горной массы Схема 19. Технология разработки пластов с применением бульдозера-рыхлителя Схема 20. Технология разработки пластов с применением буровзрывных работ Схема 21. Технология разработки пластов с верхней погрузкой и применением бульдозера-рыхлителя Схема 22. Технология разработки пластов с применением бульдозера-рыхлителя и погрузкой на уровне стояния Схема 23. Технология разработки наклонных пластов Схема 24. Технология разработки наклонных пластов одним уступом Схема 25. Технология разработки наклонных пластов двумя подуступами Схемы подготовки уступов (схемы 26 — 36) Схема 26. Технология подготовки уступа с погрузкой на уровне стояния Схема 27. Технология подготовки уступа с верхней погрузкой Схема 28. Технология подготовки уступа в два подуступа с погрузкой на один транспортный горизонт Схема 29. Технология подготовки уступа драглайном Схема 30. Технология проведения траншеи по контакту висячего бока пласта Схема 31. Технология проведения траншеи по пласту с присечкой породы Схема 32. Технология проведения траншея по пласту с присечкой и дополнительной перевалкой породы Схема 33. Технология проведения траншеи по висячему боку и отработки пластов драглайном Схема 34. Технология проведения траншеи по висячему боку и отработки пласта драглайном с погрузкой через бункер Схема 35. Технология проведения траншеи драглайном с частичной перевалкой угля Схема 36. Технология проведения траншеи обратной лопатой по пласту с присечкой породы Технологические схемы ведения горных работ с применением автомобильного транспорта (схемы 37 — 63) Схема 37. Технология разработки уступа без предварительного рыхления Схемы разработки уступов с применением буровзрывных работ (схемы 38—41) Схема 38. Технология разработки уступа за один проход Схема 39. Технология разработки уступа за два прохода Схема 40. Технология разработки уступа при расконсервации рабочего борта Схема 41. Технология разработки угольного пласта Схемы селективной разработки уступов (схемы 42 — 55) Схема 42. Технология разработки уступа с разделением на подуступы Схема 43. Технология разработки наклонного пласта с временной укладкой породы Схема 44. Технология разработки сближенных пластов Схема 45. Технология разработки пласта малой мощности с опережающей траншеей Схема 46. Технология разработки уступа с тупиковым подъездом автосамосвалов Схема 47. Технология разработки двух уступов с опережением верхнего на ширину траншеи (поверху) Схема 48. Технология разработки уступа обратной лопатой Схема 49. Технология разработки двух уступов экскаваторами прямая и обратная лопата с погрузкой на один транспортный горизонт Схема 50. Технология разработки уступа поперечными заходками Схема 51. Технология разработки пластов с применением бульдозера-рыхлителя и погрузкой на уровне стояния Схема 52. Технология разработки пластов погрузчиком с применением бульдозера-рыхлителя Схема 53. Технология послойной разработки пластов погрузчиком Схема 54. Технология разработки наклонных пластов экскаватором и бульдозером-рыхлителем Схема 55. Технология разработки наклонных пластов погрузчиком и бульдозером-рыхлителем Схемы подготовки уступов (схемы 56 — 43) Схема 56. Технология подготовки уступа на пологих пластах Схема 57. Технология подготовки уступа двумя подуступами Схема 58. Технология подготовка уступа обратной лопатой Схема 59. Технология проведения траншеи по висячему боку пласта Схема 60. Технология проведения траншеи по пласту с присечкой породы Схема 61. Технология проведения траншеи обратной лопатой по пласту с присечкой породы за два прохода Схема 62. Технология проведения траншеи и отработки пластов обратной лопатой Схема 63. Технология проведения траншеи по пласту с присечкой породы со стороны висячего и лежачего боков Технологические схемы ведения добычных работ с применением конвейерного транспорта (схемы 64 — 65) Схема 64. Технология разработки угольного уступа с погрузкой на уровне стояния Схема 65. Технология разработки угольного уступа с верхней погрузкой Технологические схемы отвалообразования (схемы 66 —73) Схемы отвалообразования при железнодорожном транспорте (схемы 66 — 69) Схема 66. Технология отвалообразования мехлопатой при устойчивых вскрышных породах Схема 67. Технология отвалообразования мехлопатой при неустойчивых вскрышных породах Схема 68. Технология отвалообразования драглайном Схема 69. Технология бульдозерного отвалообразования Схемы отвалообразования при автомобильном транспорте (схемы 70 — 73) Схема 70. Технология бульдозерного отвалообразования Схема 71. Технология отвалообразования драглайном на косогоре Схема 72. Технология отвалообразования драглайном в логах Схема 73. Технология отвалообразования драглайном на площади гидроотвалов Схема 74. Схема перегрузочного пункта при комбинированном транспорте Часть II. Схемы ведения горных работ при бестранспортных системах разработки 1 Введение 2 Опыт применения бестранспортной системы разработки на угольных разрезах СССР 3 Область рационального применения бестранспортной системы разработки 4 Систематизация технологических схем 5 Средства механизации горных работ 6 Элементы системы разработки 7 Расчет производительности вскрышных экскаваторов 8 Параметры и показатели буровзрывных работ 9 Рекультивация внутренних отвалов 10 Организация работ 11 Использование технологических схем Технологические схемы вскрышных работ с применением простой бестранспортной системы разработки (схемы 1 — 10) Схемы вскрышных работ при разработке горизонтальных пластов (схемы 1— 5) Схема 1. Технология разработки уступа мехлопатой Схема 2. Технология разработки уступа мехлопатой с применением БВР Схема 3. Технология разработки уступов драглайном Схема 4. Технология разработки уступов драглайном при двух пластах Схема 5. Технология разработки уступов драглайном с применением БВР при двух пластах Схемы вскрышных работ при разработке пологих пластов (схемы 6 — 10) Схема 6. Технология разработки уступа драглайном Схема 7. Технология разработки уступа драглайном с применением БВР Схема 8. Технология разработки уступа мехлопатой и драглайном с применением БВР Схема 9. Технология разработки уступов драглайном при двух пластах Схема 10. Технология разработки уступов двумя драглайнами с применением БВР при двух пластах Технологические схемы вскрышных работ с применением усложненной бестранспортной системы разработки (схемы 11 — 26) Схемы вскрышных работ при разработке горизонтальных пластов (схемы 11 — 20) Схема 11. Технология разработки уступов драглайном, установленным на предотвале Схема 12. Технология разработки уступов драглайном с применением БВР Схема 13. Технология разработки уступов двумя драглайнами Схема 14. Технология разработки уступов драглайном при интенсивном подвигании фронта работ Схема 15. Технология разработки уступов двумя драглайнами с применением БВР Схема 16. Технология разработки уступа мехлопатой и драглайном с применением БВР Схема 17. Технология разработки уступов драглайнами при двух пластах Схема 18. Технология разработки уступов драглайнами с применением БВР при двух пластах Схема 19. Технология разработки уступов мехлопатой и драглайнами при двух пластах Схема 20. Технология разработки уступов драглайнами и бульдозером-рыхлителем при четырех пластах Схемы вскрышных работ при разработке пологих пластов (схемы 21 — 26) Схема 21. Технология разработки уступа драглайном с применением БВР Схема 22. Технология разработки уступов двумя драглайнами Схема 23. Технология разработки уступов двумя драглайнами с применением БВР Схема 24. Технология разработки уступов мехлопатой и драглайнами с применением БВР Схема 25. Технология разработки уступов драглайнами с применением БВР при двух пластах Схема 26. Технология разработки уступов мехлопатой и драглайнами с применением БВР при двух пластах Технологические схемы вскрышных работ высокими уступами с применением БВР (схемы 27 — 34) Схема 27. Технология разработки уступа с формированием откоса торцовым забоем Схема 28. Технология разработки уступа двумя подуступами Схема 29. Технология разработки неоднородного вскрышного уступа двумя подуступами Схема 30. Технология разработки уступов при двух пластах Схема 31. Технология разработки уступов с формированием откоса торцовым забоем при двух пластах Схема 32. Технология разработки уступов при трех пластах с нижним мощным междупластьем Схема 33. Технология разработки уступов при трех пластах с верхним мощным междупластьем Схема 34. Технология разработки уступа с формированием откоса мехлопатой Технологические схемы добычных работ (схемы 35 — 44) Схема 35. Технология разработки пластов с погрузкой в автосамосвалы Схема 36. Технология разработки пластов с предварительной перевалкой угля экскаватором Схема 37. Технология разработки пласта с частичным складированием угля бульдозером Схема 38. Технология разработки пласта обратной лопатой Схема 39. Технология разработки пласта обратной лопатой с частичной перевалкой угля Схема 40. Технология разработки сближенных пластов мехлопатой, бульдозером-рыхлителем при кольцевом подъезде автосамосвалов Схема 41. Технология разработки сближенных пластов мехлопатой, бульдозером-рыхлителем при тупиковом подъезде автосамосвалов Схема 42. Технология разработки сближенных пластов мехлопатой поперечными ходами Схема 43. Технология разработки сближенных пластов мехлопатой с верхней погрузкой в железнодорожный транспорт Схема 44. Технология разработки сближенных пластов мехлопатой с верхней погрузкой в железнодорожный транспорт и предварительным складированием бульдозером-рыхлителем Часть III. Схемы ведения горных работ с применением гидромеханизации 1 Введение 2 Состояние гидромеханизации на угольных разрезах 3 Систематизация технологических схем 4 Средства механизации горных работ 5 Элементы системы разработки 6 Расчет производительности оборудования 7 Параметры и показатели буровзрывных работ 8 Параметры водоснабжения и гидротранспорта 9 Технология гидроотвалообразования 10 Рекультивация гидроотвалов 11 Организация выполнения работ 12 Использование технологических схем Технологические схемы ведения гидровскрышных работ по наносам без рыхления (схемы 1 — 16) Схемы разработки уступов продольными заходками гидромониторами с жестким подсоединением к водоводу (схемы 1 — 4) Схема 1. Технология разработки уступа одним рабочим гидромонитором Схема 2. Технология разработки уступа двумя рабочими гидромониторами Схема 3. Технология разработки двух уступов одним рабочим гидромонитором Схема 4. Технология разработки двух уступов двумя рабочими гидромониторами Схемы разработки уступов продольными заходками гидромониторами с шарнирным подсоединением к водопроводу (схемы 5 — 8) Схема 5. Технология разработки уступа одним рабочим гидромонитором Схема 6. Технология разработки уступа двумя рабочими гидромониторами Схема 7. Технология разработки двух уступов одним рабочим гидромонитором Схема 8. Технология разработки двух уступов двумя рабочими гидромониторами Схемы разработки уступов поперечными заходками гидромониторами с жестким подсоединением к водопроводу (схемы 9 — 12) Схема 9. Технология разработки уступа одним рабочим гидромонитором Схема 10. Технология разработки уступа двумя рабочими гидромониторами Схема 11. Технология разработки двух уступов одним рабочим гидромонитором Схема 12. Технология разработки двух уступов двумя рабочими гидромониторами Схемы разработки уступов поперечными заходками гидромониторами с шарнирным подсоединением к водопроводу (схемы 13 — 16) Схема 13. Технология разработки уступа одним рабочим гидромонитором Схема 14. Технология разработки уступа двумя рабочими гидромониторами Схема 15. Технология разработки двух уступов одним рабочим гидромонитором Схема 16. Технология разработки двух уступов двумя рабочими гидромониторами Технологические схемы ведения гидровскрышных работ по тяжелым глинам с предварительным рыхлением (схемы 17 — 20) Схемы разработки тяжелых глин с применением буровзрывных работ (схемы 17 — 18) Схема 17. Технология разработки уступа продольными заходками Схема 18. Технология разработки уступа поперечными заходками Схемы разработки тяжелых глин с применением экскаваторного рыхления (схемы 19 — 20) Схема 19. Технология разработки уступа с укладкой породы в навал перед забоем Схема 20. Технология разработки уступа с укладкой породы в навал вдоль забоя с экскаватором ЭШ-15/90 и ЭШ-10/60 Технологические схемы ведения вскрышных работ по полускальным породам с применением гидротранспорта (схемы 21— 23) Схемы разработки полускальных пород экскаватором (схемы 21— 22) Схема 21. Технология разработки уступа с применением промежуточного бункера гидроэлеватора Схема 22. Технология разработки уступа на гидротранспорт с применением промежуточного конвейерного транспорта Схема 23. Технология разработки уступа на гидротранспорт с применением погрузчиков | | Разработан: | НИИОГР
| | Утверждён: | 29.09.1978 Министерство угольной промышленности СССР (USSR Ministry of the Coal Industry )
| | Издан: | Издательство Недра (1982 г. )
|
                                                                                                                                                                                                                                                                                                                                                                                                                     
|