Скачать Сборник инструкций к правилам безопасности в угольных и сланцевых шахтахДата актуализации: 01.01.2021
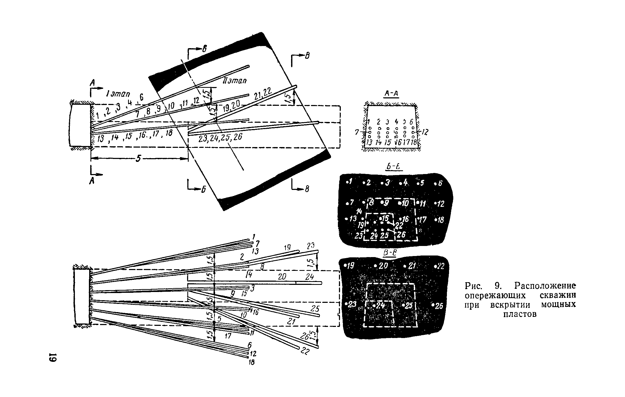
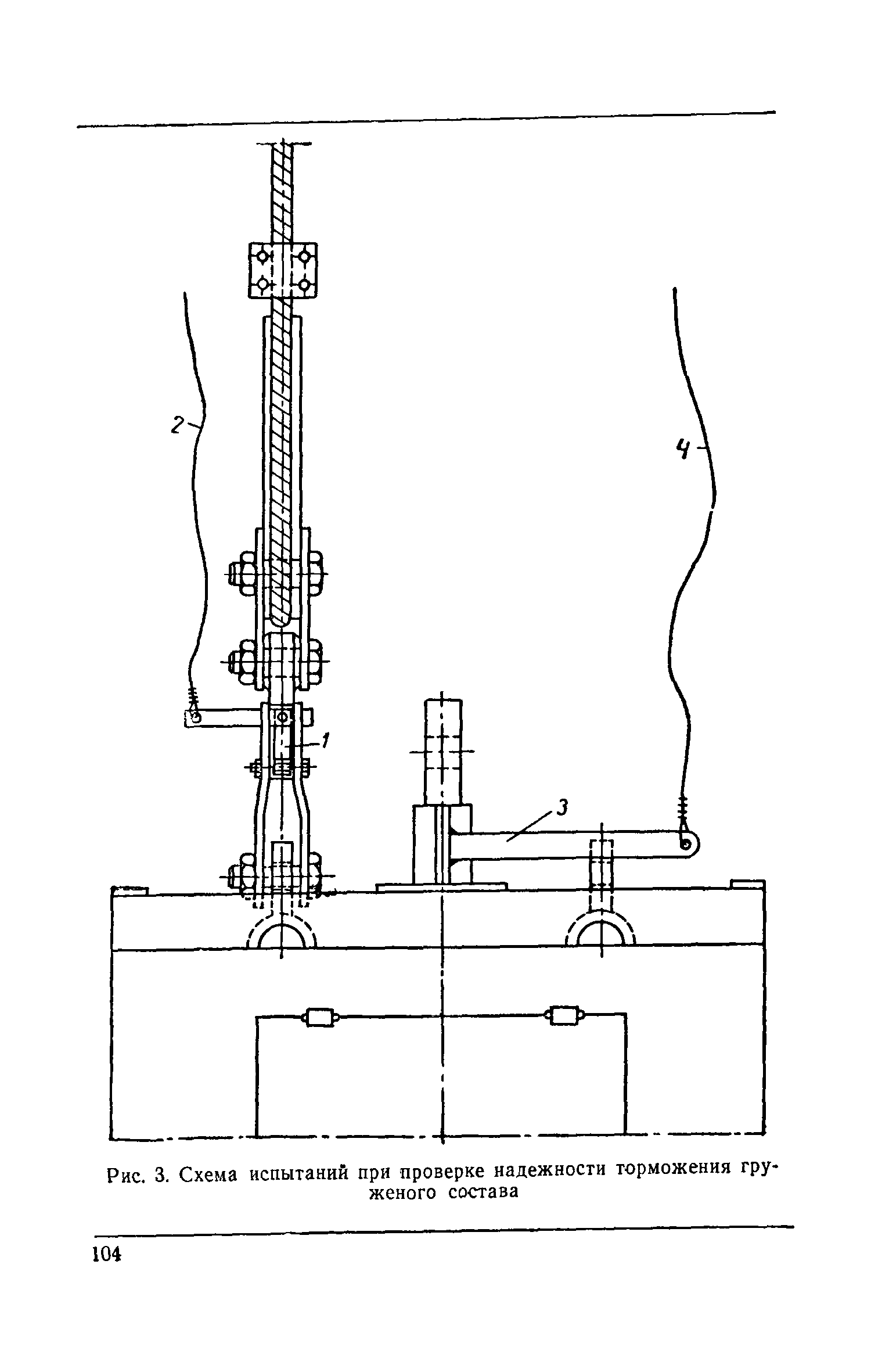
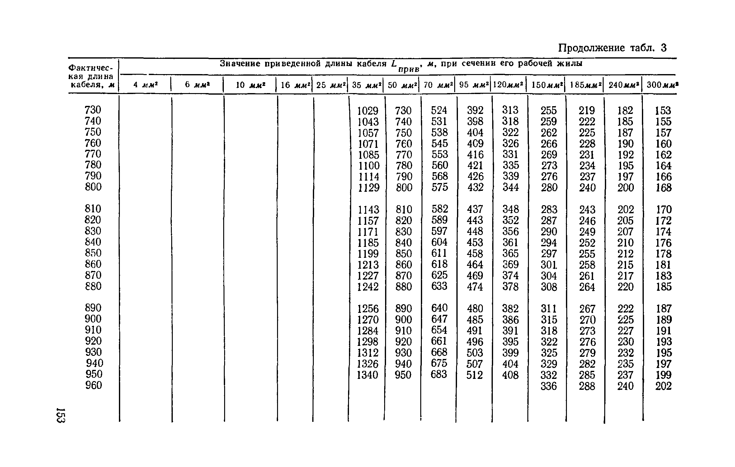
Сборник инструкций к правилам безопасности в угольных и сланцевых шахтах| Статус: | справочные материалы, мп, тпр | | Название рус.: | Сборник инструкций к правилам безопасности в угольных и сланцевых шахтах | | Дата добавления в базу: | 01.02.2020 | | Дата актуализации: | 01.01.2021 | | Область применения: | В "Сборник инструкций к Правилам безопасности в угольных и сланцевых шахтах включены инструкции, определяющие вопросы безопасности при ведении работ в специфических для отдельных бассейнов или шахт условиях (внезапные выбросы угля и газа, горные удары), специфические для отдельных видов работ, в первую очередь обеспечивающие безопасность при эксплуатации электромеханического хозяйства шахт (испытания парашютных устройств, монтаж разделок кабелей, выбор и проверка уставок реле и плавких вставок, ремонт электрооборудования и кабелей, проверка защиты шахтных аппаратов), а также ряд инструкций по соблюдению газового режима в шахтах (проверка реверсивных устройств, дегазация, составление схем вентиляционных соединений). Все инструкции, включенные в сборник, являются неотъемлемой частью "Правил безопасности в угольных и сланцевых шахтах и на них полностью распространяются положения, изложенные в главе Х Правил - "Ответственность за нарушение правил безопасности". | | Оглавление: | Инструкция по безопасному ведению горных работ на пластах, склонных к внезапным выбросам угля и газа Инструкция по безопасному ведению горных работ на пластах, опасных по горным ударам Инструкция по проверке действия реверсивных устройств вентиляторных установок Временная инструкция по безопасному ведению дегазационных работ на шахтах Инструкция по отбору проб рудничного воздуха Инструкция по составлению схем вентиляционных соединений Инструкция по испытанию парашютных устройств вагонеток для перевозки людей по наклонным выработкам Инструкция по монтажу сухих разделок бронированного кабеля с бумажной изоляцией напряжением до 1000 в Инструкция по выбору и проверке уставок реле максимального тока и плавких вставок предохранителей в шахтных электрических сетях Инструкция по ремонту рудничного взрывобезопасного электрооборудования Инструкция по применению электроэнергии в проветриваемых вентиляторами местного проветривания выработках шахт, опасных по газу Инструкция по осмотру, ремонту и испытанию шахтных гибких кабелей Инструкция по осмотру и ревизии взрывобезопасното шахтного электрооборудования напряжением до 1000 в Инструкция по проверке максимально-токовой защиты шахтных аппаратов | | Утверждён: | 07.08.1963 Госгортехнадзор УССР 12.08.1963 Госгортехнадзор РСФСР 09.08.1963 Госгортехнадзор КазССР
| | Принят: | 25.07.1963 ЦК профсоюза рабочих угольной промышленности
| | Издан: | Недра (1964 г. )
|
                                                                                                                                                                                                                                                                  
|