Скачать Правила безопасности в угольных и сланцевых шахтах

Дата актуализации: 01.01.2021

Правила безопасности в угольных и сланцевых шахтах

Статус:не действует
Название рус.:Правила безопасности в угольных и сланцевых шахтах
Дата добавления в базу:01.02.2020
Дата актуализации:01.01.2021
Область применения:Правила обязательны для административно-технических работников и других должностных лиц действующих и строящихся шахт, а также для работников научно-исследовательских, проектных и других организаций и учреждений.
Оглавление:Глава I. Общие правила
Глава II. Ведение горных работ
Глава III. Проветривание подземных выработок и пылегазовый режим
Глава IV. Рудничный транспорт и подъем
Глава V. Электротехническое хозяйства
Глава VI. Предупреждение и тушение пожара
Глава VII. Предотвращение затоплении действующих выработок
Глава VIII. Производственная санитария
Глава IХ. Ответственность за нарушение Правил безопасности
Инструкция по составлению паспортов выемочного участка, проведения и крепления подземных выработок
Инструкция по составлению планов ликвидации аварий
Инструкция по проверке состава рудничного воздуха, определению газообильности и установлению категорий шахт по метану
Инструкция по безопасному применению установок кондиционирования рудничного воздуха
Инструкция по реверсированию вентиляционной струн и проверке действия реверсивных устройств вентиляционных установок
Инструкция по разгазированию горных выработок, расследованию, учету и предупреждению загазирований
Инструкция по составлению вентиляционных платов
Инструкция по замеру концентрации газов в шахтах и применению автоматических приборов контроля содержания метана
Инструкция по электроснабжению и применению электрооборудования на шахтах, опасных по внезапным выбросам, разрабатывающих крутые пласты
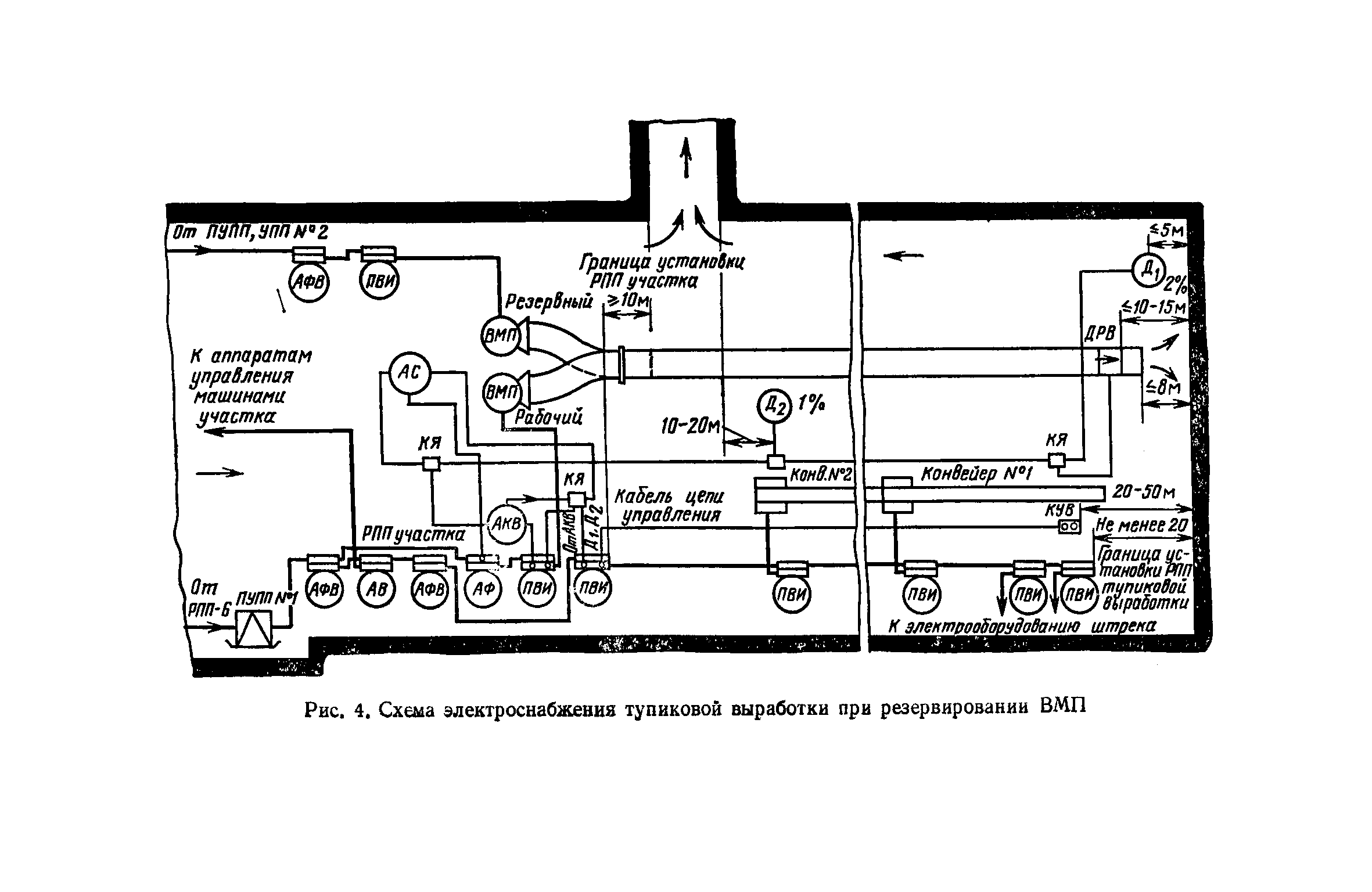
Инструкция по электроснабжению и применению электрооборудования в проветриваемых ВМП тупиковых выработках шахт, опасных по газу
Инструкция по применению электрооборудования в рудничном нормальном исполнении и электрооборудования общего назначения в шахтах, опасных по газу или пыли
Инструкция по определению токов короткого замыкания, выбору и проверке уставок максимальной токовой защиты в сетях напряжением до 1140 В
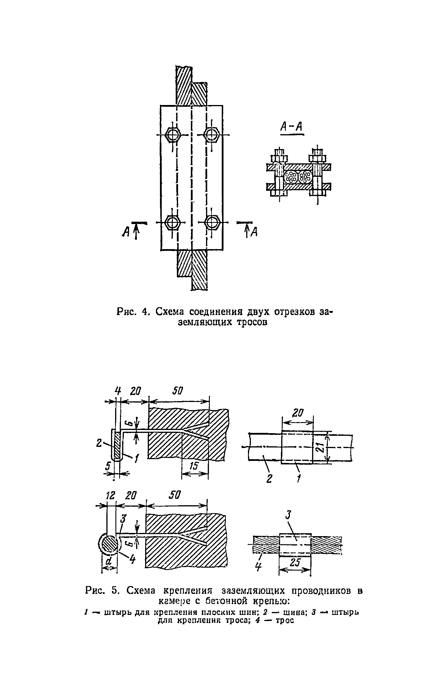
Инструкция по устройству, осмотру и измерению сопротивления шахтных заземлений
Инструкция по осмотру и ревизии рудничного взрывобезопасного электрооборудования
Инструкция по безопасному производству работ в подземных электроустановках
Инструкция по проверке максимальной токовой защиты шахтных аппаратов
Инструкция по противопожарной защите угольных и сланцевых шахт
Инструкция по ведению огневых работ в подземных выработках н надшахтных зданиях
Книга инструктажа по безопасности работ
Книга осмотра стволов шахт
Книга осмотра вентиляционных установок и проверки реверсирования
Книга учета работы вентиляционной установки
Книга замеров метана и учета загазирований (повышенных концентраций углекислого газа)
Вентиляционный журнал
Книга осмотра подъемной установки
Книга приемки и сдачи смен
Книга осмотра канатов и их расхода
Книга регистрации состояния электрооборудования и заземления
Книга по наблюдениям за пожарными участками и проверки состояния изоляционных перемычек
Книга осмотра и учета работы водоотливных установок
Утверждён:12.09.1986 Госгортехнадзор СССР (USSR Gosgortekhnadzor )
18.08.1986 Минуглепром СССР (USSR Minugleprom )
Принят:23.07.1986 Госстрой СССР
05.08.1986 ЦК профсоюза рабочих угольной промышленности
Издан: Недра (1986 г. )
Список изменений:
Заменяет собой:
Нормативные ссылки:

Текстовое изменение Опечатки

ОпечаткиОпечаткиОпечаткиОпечаткиОпечаткиОпечаткиОпечаткиОпечаткиОпечаткиОпечаткиОпечаткиОпечаткиОпечаткиОпечаткиОпечаткиОпечаткиОпечаткиОпечаткиОпечаткиОпечаткиОпечатки

Текстовое изменение №

№ № № № № № № № № № № № № № № № № № № № № № № № № № № № № № № № № № № № № №