Скачать РД 39-30-40-78 Методика гидравлического расчета магистральных нефтепроводов при изотермическом режиме течения нелинейновязкопластичных нефтейДата актуализации: 01.01.2021
|
| Обозначение: | РД 39-30-40-78 |
| Обозначение англ: | RD 39-30-40-78 |
| Статус: | введен впервые |
| Название рус.: | Методика гидравлического расчета магистральных нефтепроводов при изотермическом режиме течения нелинейновязкопластичных нефтей |
| Дата добавления в базу: | 01.02.2020 |
| Дата актуализации: | 01.01.2021 |
| Дата введения: | 01.07.1978 |
| Область применения: | Методика предназначена для выполнения гидравлического расчета магистральных нефтепроводов при установившемся режиме перекачки в области температур, где перекачиваемые нефти являются нелинейновязкопастичными, бингамовскими, степенными или ньютоновскими жидкостями. |
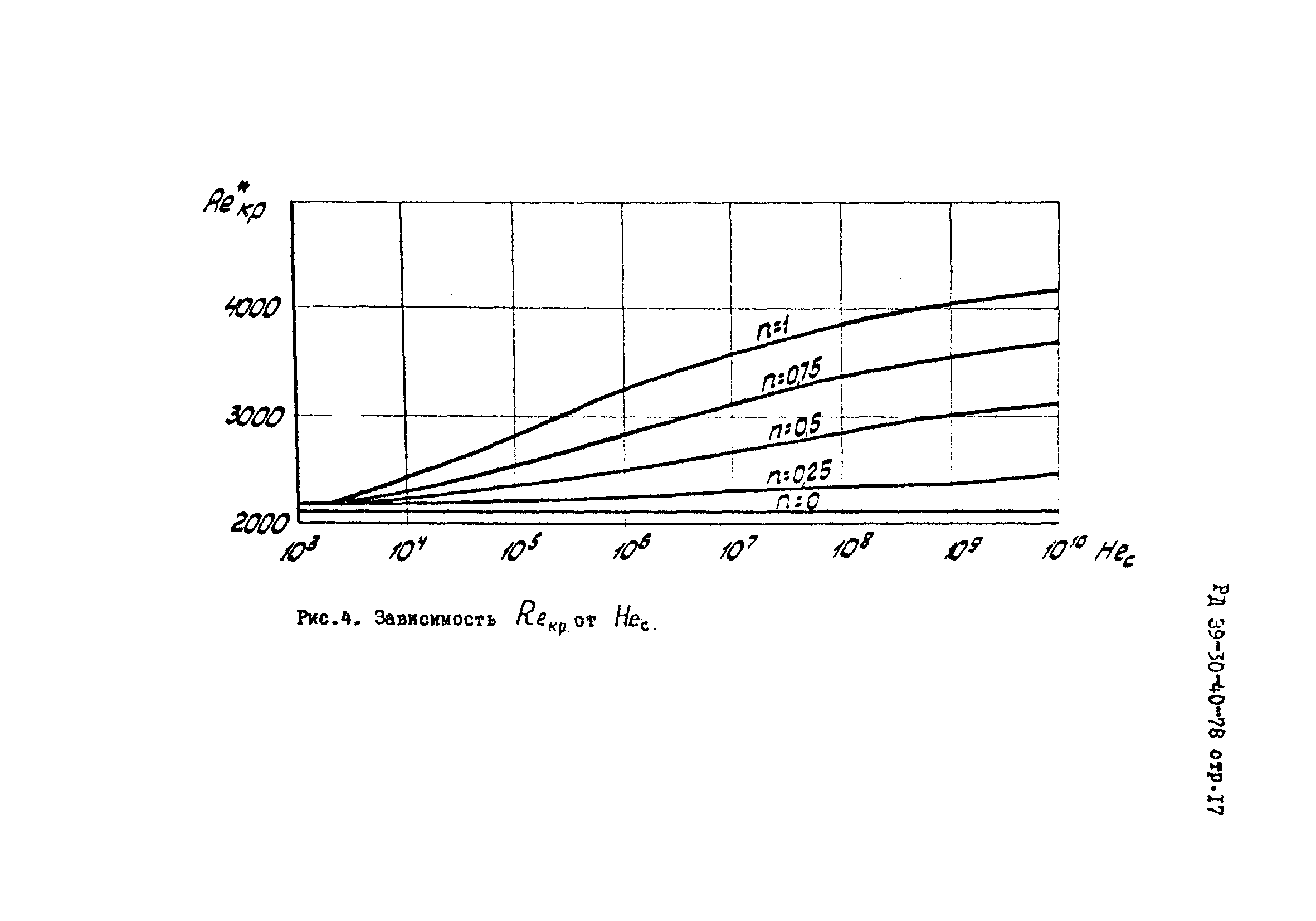
| Оглавление: | 1 Общие положения 2 Гидравлический расчет 2.1 Ламинарный режим течения 2.2 Определение границы существования ламинарного режима 2.3 Турбулентный режим течения 3 Примеры расчетов Список литературы |
| Разработан: | ВНИИСПТнефть |
| Утверждён: | 17.01.1978 Министерство нефтяной промышленности СССР (USSR Ministry of the Petroleum Industry ) |































