Скачать ОСТ 34 739-75 Отопление и вентиляция цехов горячего цинкования металлических опор линий электропередачи. Нормы проектированияДата актуализации: 01.01.2021
|
| Обозначение: | ОСТ 34 739-75 |
| Обозначение англ: | OST 34 739-75 |
| Статус: | не определен законодательством |
| Название рус.: | Отопление и вентиляция цехов горячего цинкования металлических опор линий электропередачи. Нормы проектирования |
| Дата добавления в базу: | 01.02.2020 |
| Дата актуализации: | 01.01.2021 |
| Дата введения: | 01.05.1976 |
| Дата окончания срока действия: | 30.06.2003 |
| Область применения: | Стандарт распространяется на проектирование отопления и вентиляции вновь строящихся и реконструируемых производственных зданий производства горячего цинкования стальных конструкций на заводах металлоконструкций Министерства энергетики и электрификации СССР. |
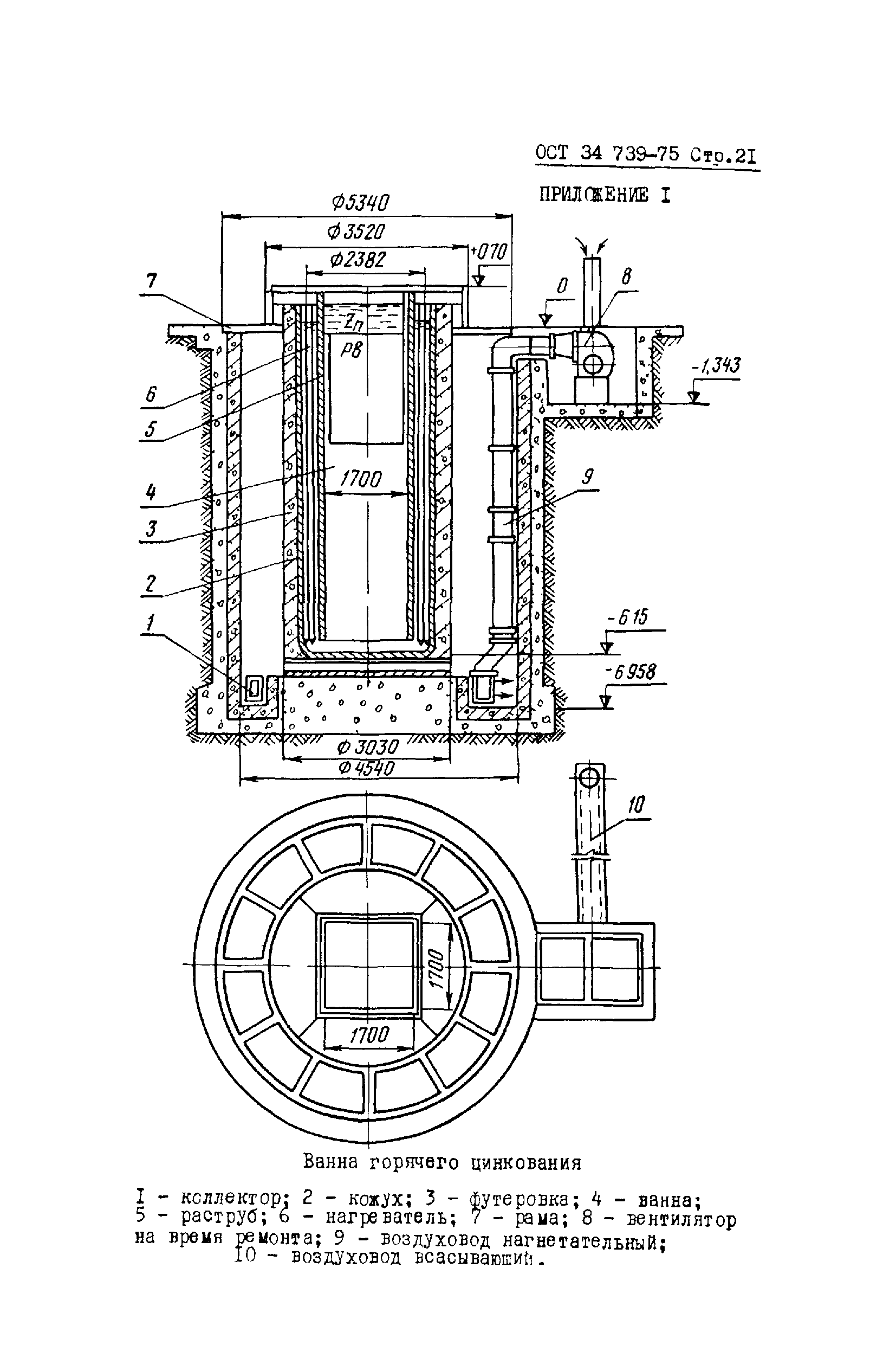
| Оглавление: | 1 Гигиенические требования к воздушной среде производственных помещений и охране атмосферного воздуха 2 Основные требования к объемно-планировочным решениям производственных помещений 3 Требования к организации технологического процесса и производственному оборудованию 4 Отопление и вентиляция 4.1 Отопление 4.2 Вентиляция 4.3 Очистка воздуха от пыли Приложение 1. Ванна горячего цинкования Приложение 2 (справочное). Предельно допустимые концентрации вредных веществ в воздухе рабочей зоны по СН 245—71 Приложение 3. Нормы температуры относительной влажности и скорости движения воздуха в рабочей зоне производственных помещений (СН 245—71) Приложение 4 (справочное). Предельно допустимые концентрации вредных веществ в атмосферном воздухе населенных мест по СН 245—71 Приложение 5. Компоновка вентиляционного оборудования у ванны горячего цинкования Приложение 6. Местные отсосы от зеркала и от зараструбного пространства ванны Приложение 7. Местный отсос от ящика для сбора цинковой золы |
| Разработан: | Одесский филиал института Оргэнергострой Минэнерго СССР |
| Утверждён: | Министерство энергетики и электрификации СССР (USSR Ministry of Energy and Electrical Power ) |
| Принят: | ПКБ Главэнергостроймеханизации Трест Энергостальконструкция Домодедовский завод металлоконструкций |
| Нормативные ссылки: |
|































