Скачать Общеотраслевые руководящие методические материалы по созданию АСУТПДата актуализации: 01.01.2021 |
| Статус: | справочные материалы, мп, тпр |
| Название рус.: | Общеотраслевые руководящие методические материалы по созданию АСУТП |
| Дата добавления в базу: | 01.01.2021 |
| Дата актуализации: | 01.01.2021 |
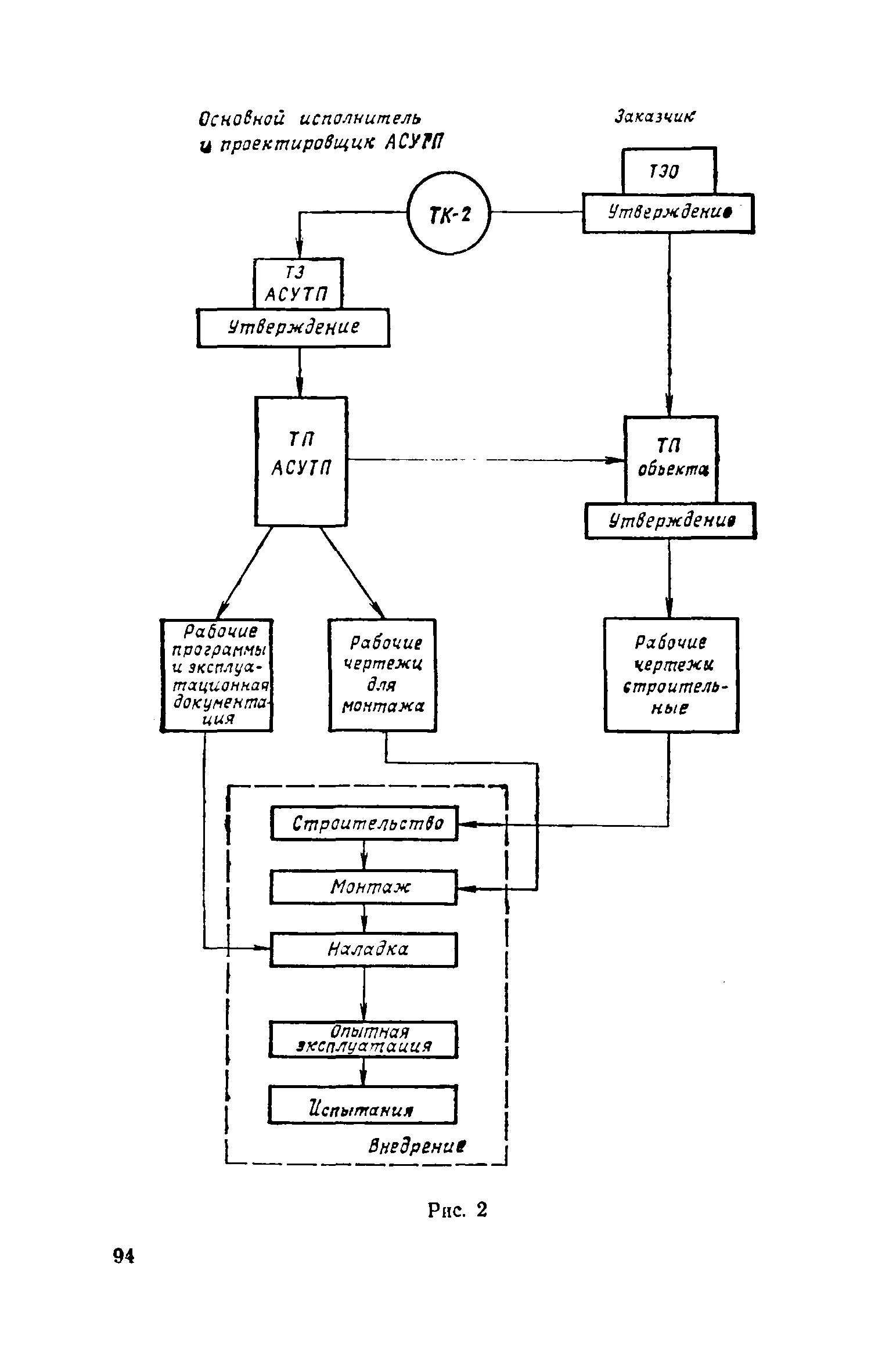
| Область применения: | Общеотраслевые руководящие методические материалы предназначены для использования при разработке и внедрении автоматизированных систем управления технологическими процессами, агрегатами и производствами (АСУТП) для вновь строящихся, реконструируемых и действующих технологических объектов. Общеотраслевые руководящие методические материалы АСУТП устанавливают общие принципы организации работ по созданию АСУТП, содержание этих работ и порядок их выполнения и документирования. В общеотраслевых руководящих методических материалах АСУТП приведены основные понятия в области АСУТП, общие требования к таким системам, состав работ по их созданию. |
| Оглавление: | I. Общие положения II. Состав и содержание работ по стадиям III. Организация работ Приложение 1. Примерное положение о головной организации по АСУТП в отрасли и подотраcли промышленности Союза ССР Приложение 2. Примерное положение о главном конструкторе АСУТП в отрасли н подотрасли промышленности Союза ССР Приложение 3. Примерное положение о главном конструкторе автоматизированной системы управления технологическими процессами (АСУТП) Приложение 4. Примерное положение о подразделении АСУТП на промышленном предприятии Приложение 5. Примерный перечень разделов пояснительной записки к техническому проекту АСУТП к их основное содержание Приложение 6. Примерный перечень разделов пояснительной записки к рабочему проекту АСУТП и их основное содержание . Приложение 7. Указания по составу раздела Автоматизация технологкческих процессов в техническом (технорабочем) проекте промышленного строительства |
| Разработан: | Гипробум НПО Нефтехимавтоматика ЦНИИКА НПО Химавтоматика ВНПО Союзгазавтоматика ВНИИКАнефтегаз ВНИИА Гипроуглеавтоматизация Институт проблем управления ГПИ Проектавтоматика Институт автоматики им. XXV съезда КПСС ЦПКБ НИПИНефтехимавтомат СКБ САУ ПКБ АСУ НИИУВМ ВНИИБ НПО Пищепромавтоматика ВНИИАчермет НПО Союзцветметавтоматика ГПИ Тяжпромавтоматика ВПТИтяжмаш НПО Ритм |
| Утверждён: | 19.01.1981 Государственный комитет СССР по науке и технике (USSR National Committee on Science and Engineering 5) |
| Принят: | Госстандарт СССР (USSR Gosstandart ) Госплан СССР (USSR Gosplan ) Министерство приборостроения, средств автоматизации и систем управления СССР (USSR Ministry of Manufacturing of Intsruments, Means of Measurement, and Control Systems ) Госстрой СССР |
| Издан: | Финансы и статистика (1982 г. ) |
| Нормативные ссылки: |
|
































































































































