Скачать Общемашиностроительные типовые нормы времени на изготовление штампов горячей штамповки и пресс-форм

Дата актуализации: 01.01.2021

Общемашиностроительные типовые нормы времени на изготовление штампов горячей штамповки и пресс-форм

Статус:справочные материалы, мп, тпр
Название рус.:Общемашиностроительные типовые нормы времени на изготовление штампов горячей штамповки и пресс-форм
Дата добавления в базу:01.01.2021
Дата актуализации:01.01.2021
Область применения:Сборник содержит типовые нормы штучного и подготовительно-заключительного времени на изготовление штампов горячей штамповки и пресс-форм для прессования деталей из реактопластов (пластмассы) на машиностроительных предприятиях в инструментальных цехах для нужд своего производства. Сборник нормативов рассчитан на нормировщиков и технологов, а также других инженерно-технических работников, занятых расчетом технически обоснованных норм времени на работы, связанные с изготовлением штампов горячей штамповки и пресс-форм в инструментально-штамповых цехах машиностроительных предприятий.
Оглавление:I. Типовые нормы времени на изготовление штампов
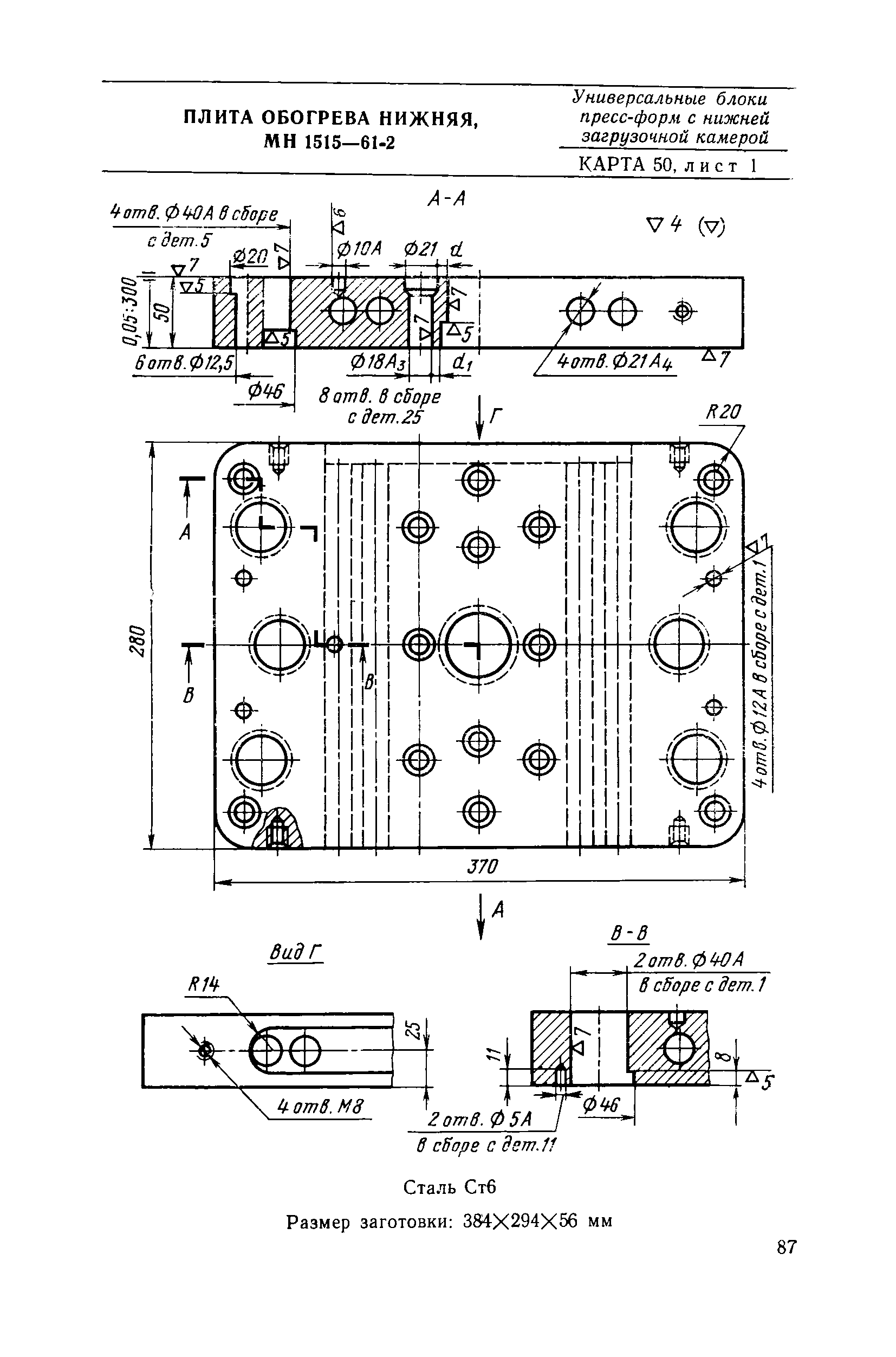
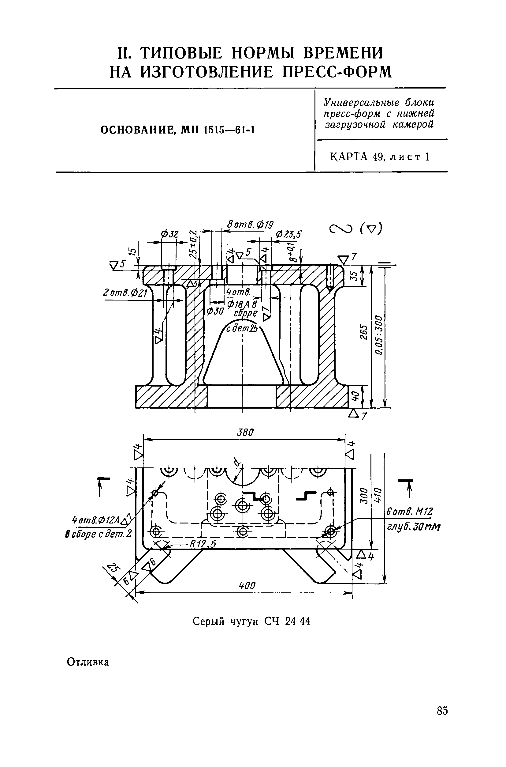
II. Типовые нормы времени на изготовление пресс-форм
   Универсальные блоки пресс-форм с нижней загрузочной камерой
   Пакеты к блокам пресс-форм с нижней загрузочной камерой
   Пресс-формы съемные
III. Нормативы неполного штучного времени и нормы времени на операции, не охваченные типовыми нормами времени
IV. Подготовительно-заключительное время на партию
Приложение 1. Штамп комбинированный, Трудоемкость изготовления
Приложение 2. Пресс-формы для прессования изделий из реактопластов. Универсальные блоки с нижней загрузочной камерой, МН 1515-61. Трудоемкость изготовления
Приложение 3. Пакеты к блокам пресс-форм с нижней загрузочной камерой, МН 1516-61
Приложение 4. Пресс-формы съемные круглые прямого прессования с двумя плоскостями разъема, МН 1452-61. Трудоемкость изготовления
Приложение 5. Пресс-формы съемные прямоугольные литьевого прессования с двумя плоскостями разъема и двумя пуансонодержателями, МН 1461-61. Трудоемкость изготовления
Приложение 6. Режимы резания, принятые при изготовлении штампов и пресс-форм
Приложение 7. Припуски на механическую обработку
Приложение 8. Перечень типовых моделей оборудования инструментального цеха штампов и пресс-форм
Приложение 9. Теоретический вес заготовк
Разработан: НИИ труда
Утверждён:11.04.1967 Государственный комитет Совета Министров СССР по вопросам труда и заработной платы (182)
Принят: ВЦСПС (VTsSPS )
Издан: Машиностроение (1974 г. )
Нормативные ссылки: