Скачать РД 39-30-873-83 Основные положения по разработке и внедрению технологии централизованного технического обслуживания и ремонта внутрипромысловых трубопроводовДата актуализации: 01.01.2021
|
| Обозначение: | РД 39-30-873-83 |
| Обозначение англ: | RD 39-30-873-83 |
| Статус: | истек срок действия |
| Название рус.: | Основные положения по разработке и внедрению технологии централизованного технического обслуживания и ремонта внутрипромысловых трубопроводов |
| Дата добавления в базу: | 01.02.2020 |
| Дата актуализации: | 01.01.2021 |
| Дата введения: | 01.08.1983 |
| Дата окончания срока действия: | 01.08.1988 |
| Область применения: | Документ предусматривает организацию производства технического обслуживания и ремонта внутрипромысловых трубопроводов |
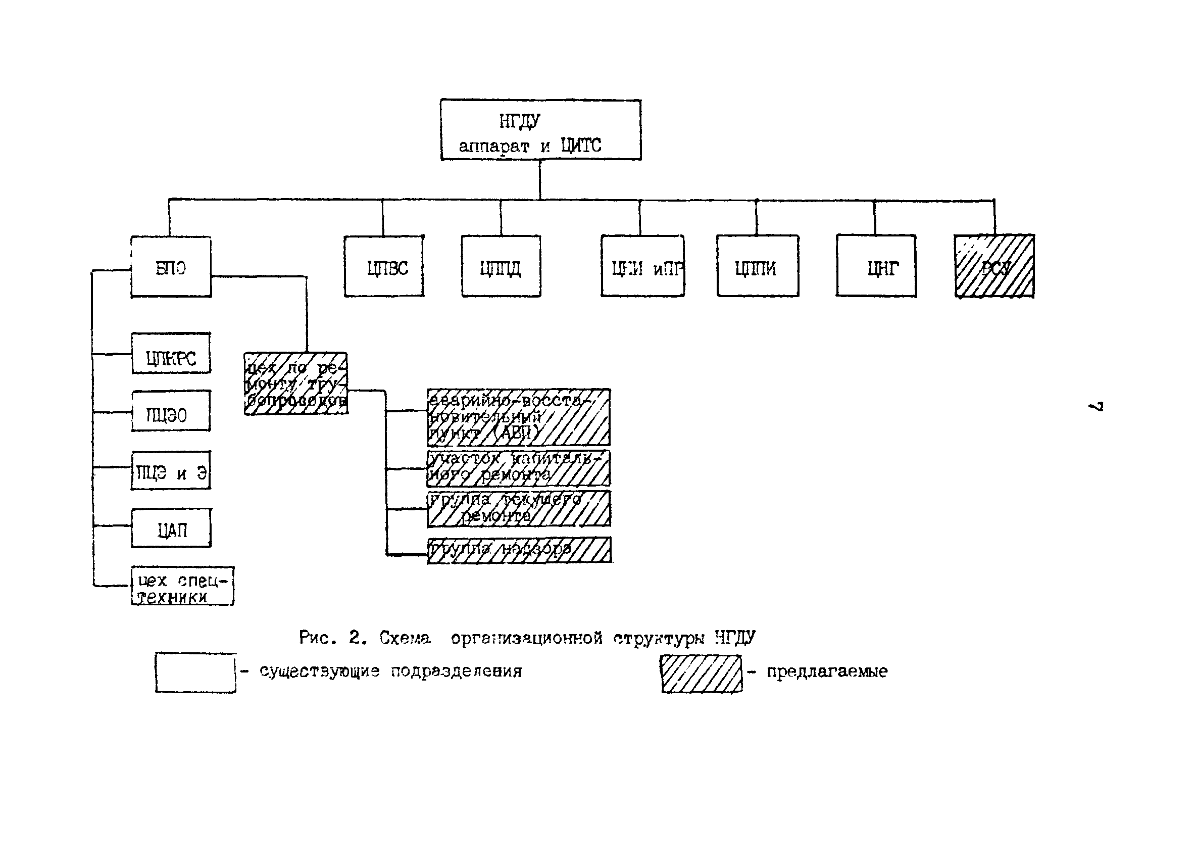
| Оглавление: | 1 Общие положения 2 Цели и задачи ТЦТОР внутрипромысловых трубопроводов 3 Структура и порядок функционирования ТЦТОР 4 Организация разработки и внедрения ТЦТОР 5 Требования к ТЦТОР рот разработке, внедрении и функционировании Приложение. Сокращенные названия |
| Разработан: | ВНИИСПТнефть |
| Утверждён: | 05.04.1983 Министерство нефтяной промышленности СССР (USSR Ministry of the Petroleum Industry ) |
| Нормативные ссылки: |

















