Скачать ГОСТ 25809-2019 Смесители и краны водоразборные. Типы и основные размерыДата актуализации: 01.01.2021
|
| Обозначение: | ГОСТ 25809-2019 |
| Обозначение англ: | GOST 25809-2019 |
| Статус: | взамен |
| Название рус.: | Смесители и краны водоразборные. Типы и основные размеры |
| Название англ.: | Water supply mixing valves and taps. Types and principal dimensions |
| Дата добавления в базу: | 01.01.2021 |
| Дата актуализации: | 01.01.2021 |
| Дата введения: | 01.06.2020 |
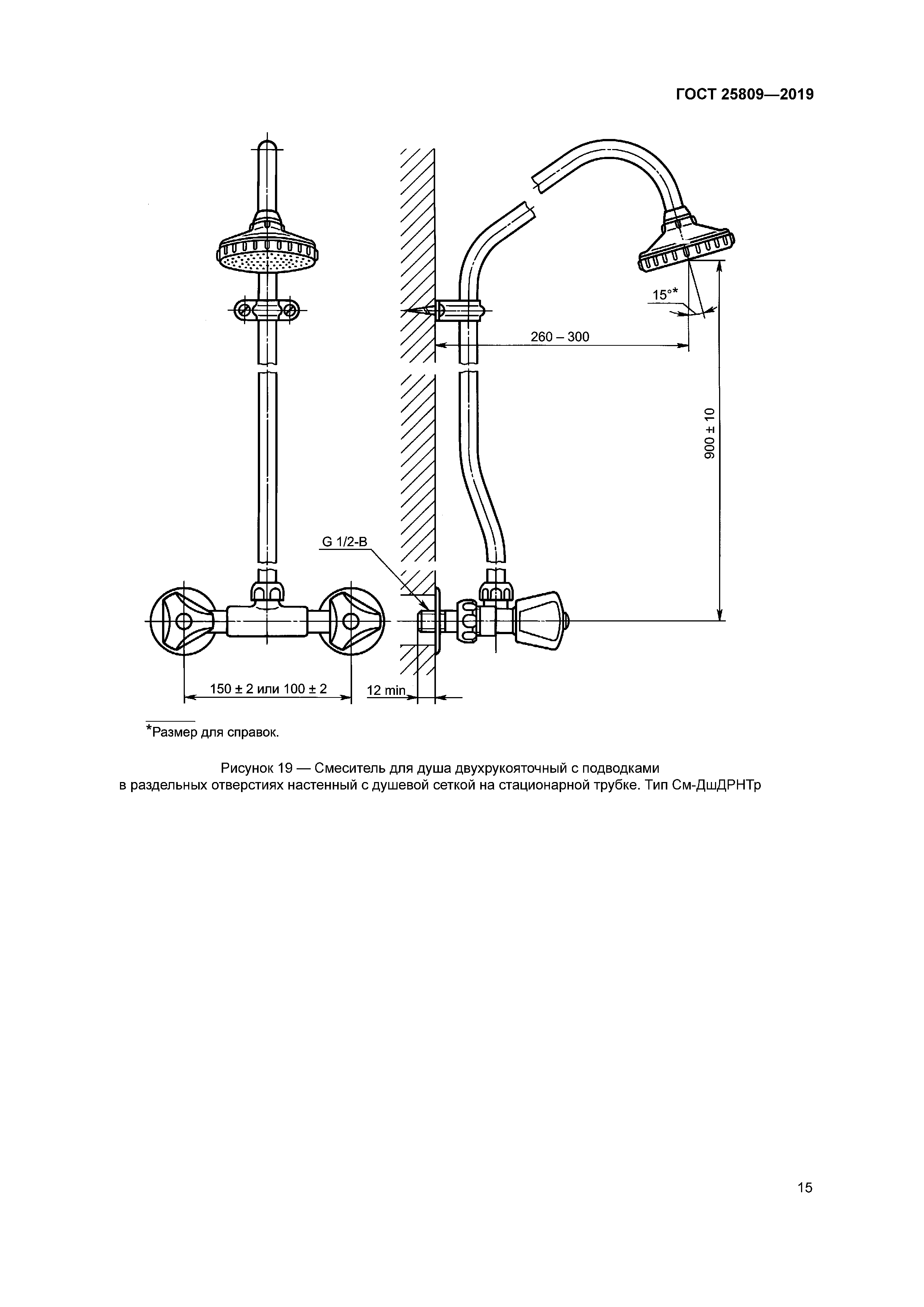
| Область применения: | Стандарт распространяется на водоразборные смесители и краны для умывальников, рукомойников, моек, раковин, ванн, душа, биде, предназначенные для подачи и смешения холодной и горячей (температурой до 75 °С) воды, поступающей из централизованных или местных систем холодного и горячего водоснабжения при рабочем давлении от 0,05 до 1,0 МПа. Форма и конструкция корпусов смесителей и кранов, переключателей воды, изливов, аэраторов, душевых трубок, шлангов, душевых сеток, щеток, маховичков вентильных головок или рукояток, деталей присоединения смесителей и кранов к сетям холодной и горячей воды, крепления душевых сеток к стене или на корпусе смесителя стандартом не регламентируются, а определяются рабочими чертежами. |
| Оглавление: | 1 Область применения 2 Нормативные ссылки 3 Типы и основные размеры |
| Разработан: | АО ЦНС |
| Утверждён: | 30.04.2019 Межгосударственный Совет по стандартизации, метрологии и сертификации (Inter-Governmental Council on Standardization, Metrology, and Certification 118-П) 19.11.2019 Федеральное агентство по техническому регулированию и метрологии (1193-ст) |
| Издан: | Стандартинформ (2019 г. ) |
| Заменяет собой: | |
| Нормативные ссылки: |
|























