Скачать Основные схемы и оборудование для очистки от пыли отходящих газов на предприятиях угольной промышленности. Технические описания

Дата актуализации: 01.01.2021

Основные схемы и оборудование для очистки от пыли отходящих газов на предприятиях угольной промышленности. Технические описания

Статус:справочные материалы, мп, тпр
Название рус.:Основные схемы и оборудование для очистки от пыли отходящих газов на предприятиях угольной промышленности. Технические описания
Дата добавления в базу:01.01.2021
Дата актуализации:01.01.2021
Область применения:Технические описания содержат характеристики вредных выбросов предприятий угольной промышленности и основные схемы очистки газов от сушильных установок и аспирационных систем углеобогатительных фабрик, а также от котельных установок и плавильных агрегатов. Приводятся основные сведения по оборудованию, применяемому в схемах очистки с указанием типа, назначения, устройства и принципа действия, технической характеристики и завода-изготовителя. Технические описания предназначены для специалистов проектных и технологических организаций, административно-технических работников производственных объединений и предприятий, занимающихся разработкой практических мероприятий по предотвращению загрязнения окружающей воздушной среды
Оглавление:Введение
Часть 1. Характеристика вредных выбросов и схемы очистки
   Характеристика вредных выбросов в атмосферу углеобогатительными фабриками
   Характеристика вредных выбросов в атмосферу котельными установками
   Характеристике вредных выбросов в атмосферу плавильными агрегатами
   Схемы очистки вредных выбросов от сушильных установок углеобогатительных фабрик
   Схемы очистки дымовых газов от котельных агрегатов
   Схемы очистки дымовых газов от плавильных агрегатов
   Схемы очистки газов аспирационных систем углеобогатительных фабрик
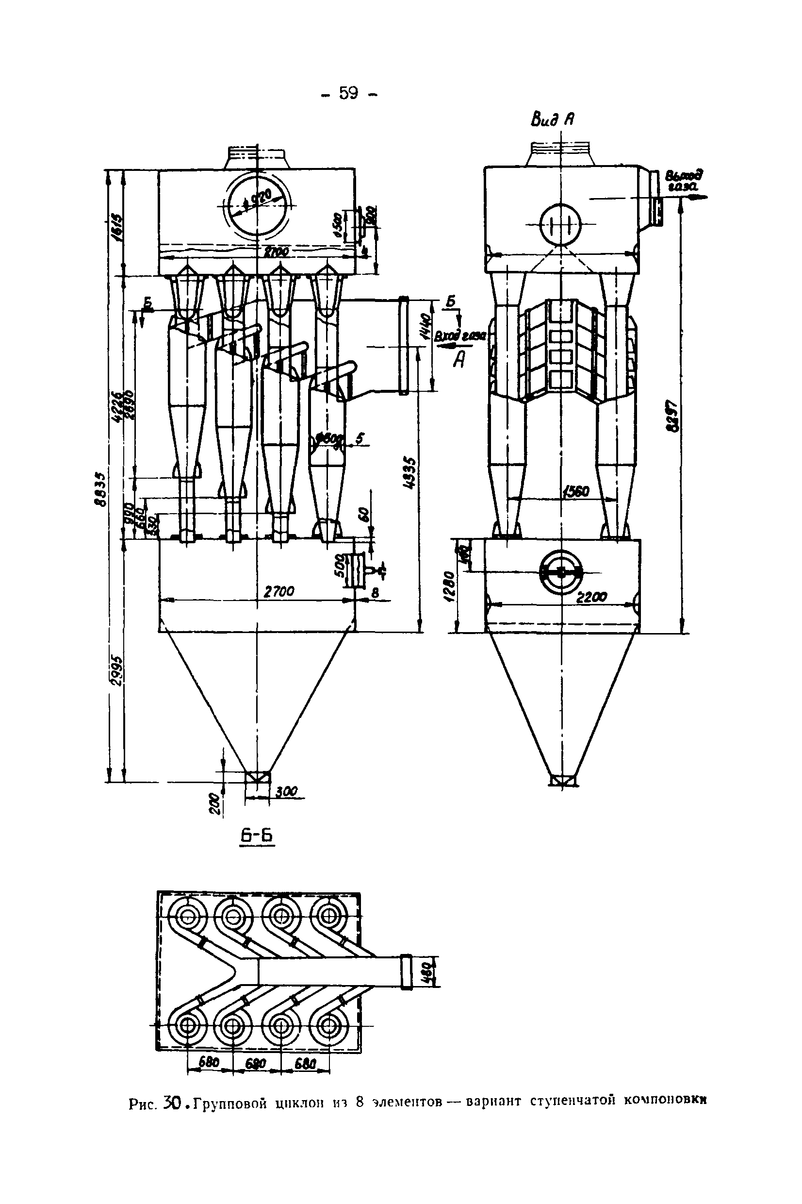
Часть 2. Оборудование Сухие инерционные пылеуловители
   Циклоны НИИОГАЗа и ИОТТ
   Батарейные циклоны типа БЦ
   Батарейный циклонный пылеуловитель типа БЦУ-М
   Батарейные пылеуловители БПР
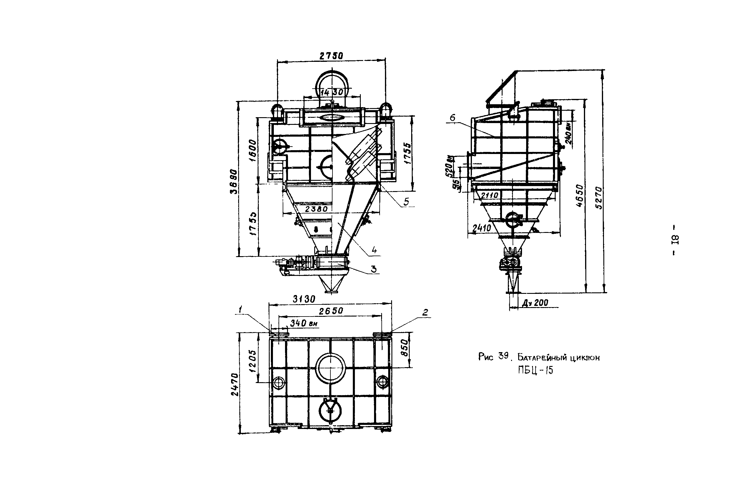
   Батарейные циклоны типа ПБЦ
   Мокрые пылеуловители
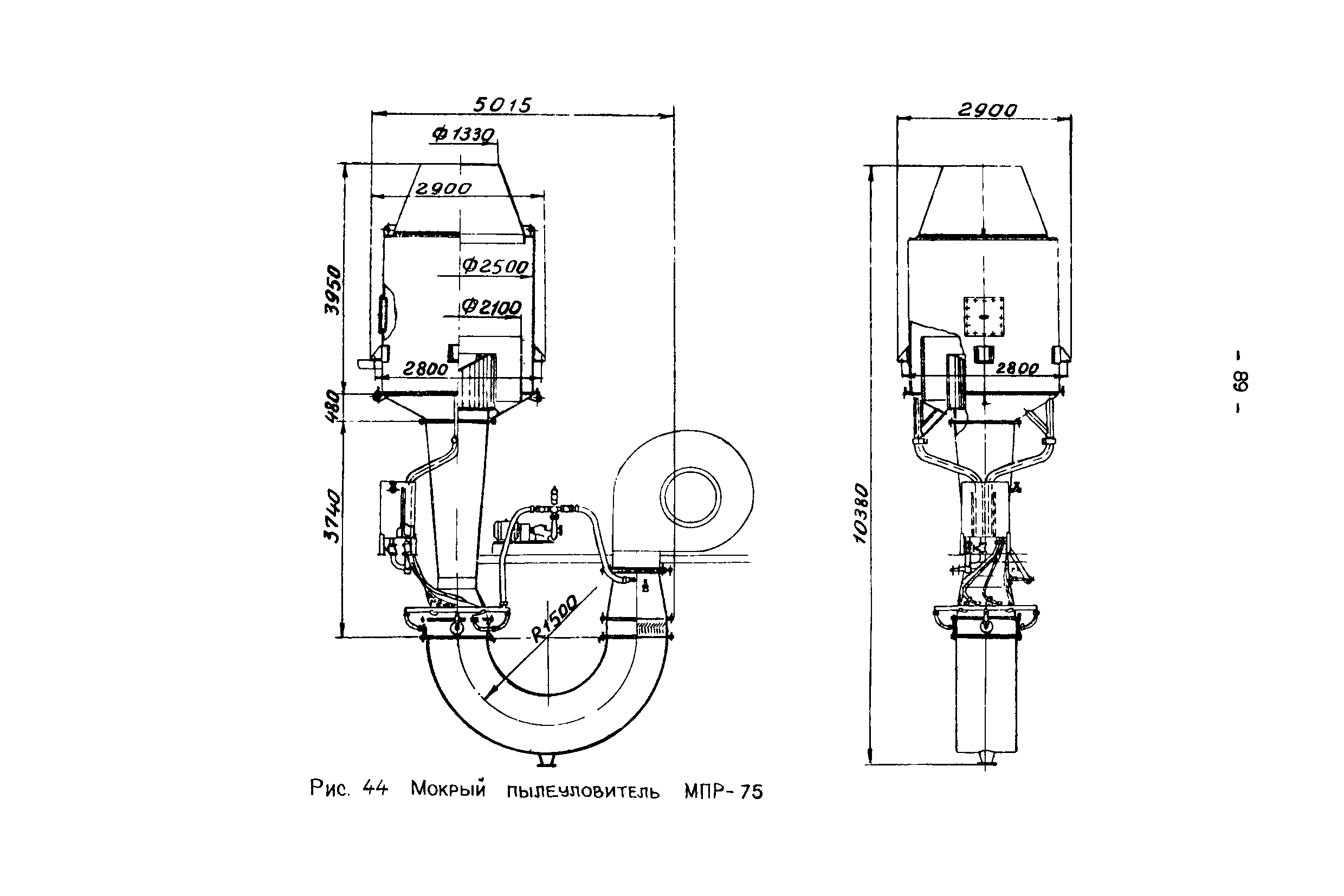
   Аппараты мокрого пылеулавливания типа МПР
   Скоростной промыватель СИОТ
   Пылеуловители типа ПВМ
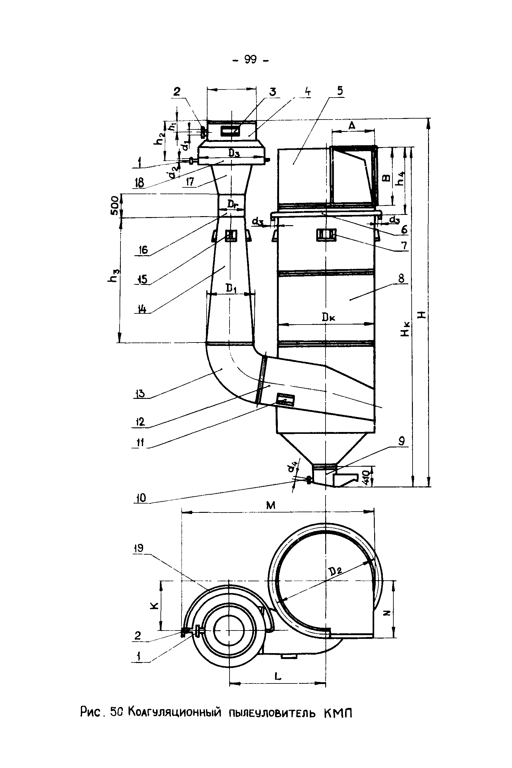
   Коагуляционный пылеуловитель типа КМП
   Ротоклон »Урал»
   Циклоны с водяной пленкой типа ЦВП
   Прямоточный пылеуловитель ПМ-35А
   Тканевые фильтры
   Многосекционный рукавный фильтр РФГ
   Рукавные фильтры ФРКИ
   Фильтры всасызэющие рукавные ФВК
   Фильтр рукавный высоковакуумный ФБС-45
Приложение 1. Расчет пылевых камер
Приложение 2. Расчет циклонов НИИОГАЗ
Приложение 3. Расчет очистки газов от сталеплавильных печей
Приложение 4. Расчет скорости фильтрации и периодичности регенерации рукавного фильтра
Приложение 5. Расчет фракционного коэффициента улавливания частиц пыли в турбулентном газопромывателе
Приложение 6. ПДК некоторых вредных веществ
Приложение 7. Перечень основного пылеулавливающего оборудования
Литература
Разработан: ВНИИОСуголь
Утверждён:23.01.1979 Министерство угольной промышленности СССР (USSR Ministry of the Coal Industry )
Нормативные ссылки: