Скачать Инструкция по перевозке воздушным транспортом грузов в сосудах Дьюара, заполненных жидким азотом

Дата актуализации: 01.01.2021

Инструкция по перевозке воздушным транспортом грузов в сосудах Дьюара, заполненных жидким азотом

Статус:взамен
Название рус.:Инструкция по перевозке воздушным транспортом грузов в сосудах Дьюара, заполненных жидким азотом
Дата добавления в базу:01.01.2021
Дата актуализации:01.01.2021
Дата введения:01.01.1984
Область применения:Инструкция устанавливает порядок перевозки упаковок грузов в сосудах Дьюара, заполненных жидким азотом
Оглавление:1. Общие положения
2. Условия перевозок упаковок
   2.1. Общие условия
   2.2. Оформление заявлений и разрешений на право перевозки и транспортных документов. Прием и сдача грузов к перевозке
   2.3. Маркировка упаковок
   2.4. Погрузка-выгрузка упаковок
   2.5. Правила размещения и швартовки упаковок в самолетах
   2.6. Мероприятия при задержках в доставке упаковок
   2.7. Временное хранение упаковок
3. Особенности перевозки воздушным транспортом отдельных упаковок грузов в сосудах Дьюара, заполненных жидким азотом
   3.1. Перевозка полупроводниковых детекторов (ППД) и блоков детектирования (БД) ионизирующих излучений
   3.2. Перевозка семени сельскохозяйственных животных и вакцины против болезни Марека птиц
4. Правила техники безопасности при перевозке и временном хранении упаковок
5. Ответственность сторон при перевозке упаковок
Приложение 1. Образцы этикеток транспортной и специальной маркировки упаковок
Приложение 2. Технические характеристики сосудов Дьюара, заполненных жидким азотом, для перевозки грузов воздушным транспортом
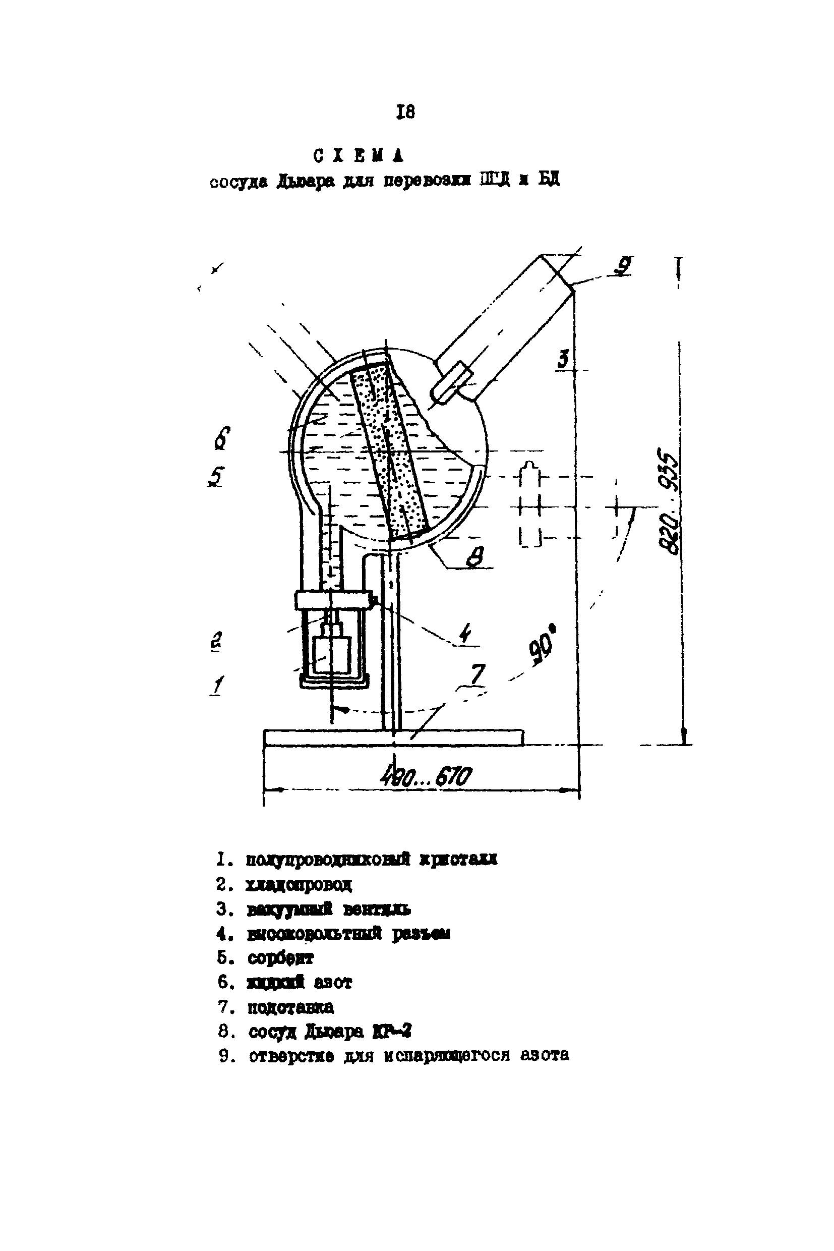
Приложение 3. Схема сосуда Дьюара для перевозки ППД и БД
Утверждён:06.12.1983 Министерство гражданской авиации СССР (USSR Ministry of Civil Aviation 60/И)
Принят:28.11.1983 Министерство сельского хозяйства СССР (USSR Ministry of Agriculture )
01.12.1983 Главатомприбор комитета по использованию атомной энергии СССР
Издан: Издательство Воздушный транспорт (1988 г. )
Заменяет собой:
  • «Инструкция по перевозке воздушным транспортом детекторов и блоков детектирования гама-излучения германиевых дрейфовых в сосудах Дьюара, заполненных жидким азотом»
  • «Инструкция по перевозке воздушным транспортом семени сельскохозяйственных животных в сосудах Дьюара, заполненных жидким азотом»
Нормативные ссылки: