Скачать Общие авиационные требования к средствам обеспечения вертолетов на судах и приподнятых над водой платформах (ОАТ ГА-90)Дата актуализации: 01.01.2021
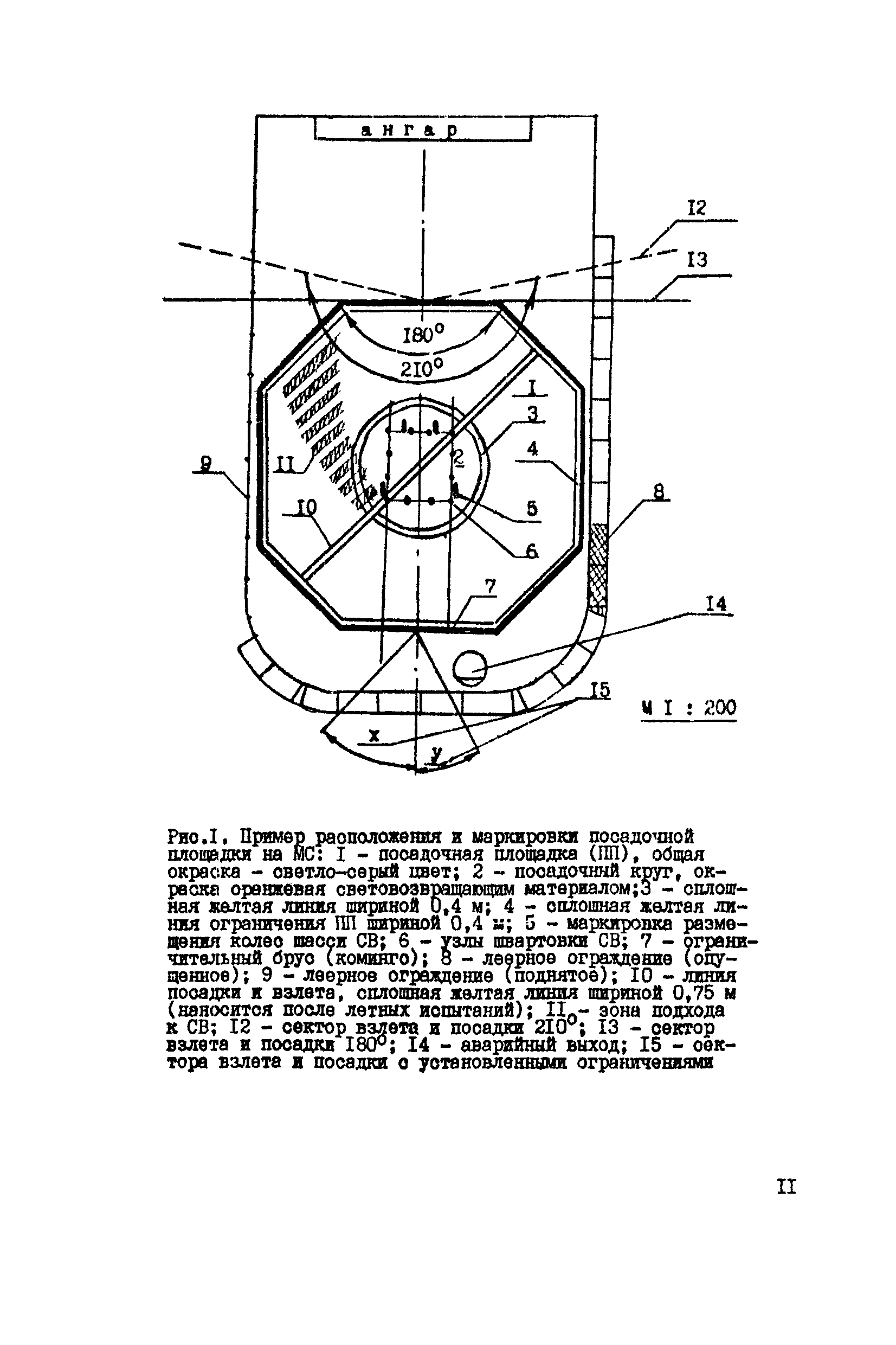
Общие авиационные требования к средствам обеспечения вертолетов на судах и приподнятых над водой платформах (ОАТ ГА-90)| Статус: | взамен | | Название рус.: | Общие авиационные требования к средствам обеспечения вертолетов на судах и приподнятых над водой платформах (ОАТ ГА-90) | | Дата добавления в базу: | 01.01.2021 | | Дата актуализации: | 01.01.2021 | | Дата введения: | 01.05.1990 | | Область применения: | Документ является основным руководством для заказчиков, проектантов, строителей морских и речных судов и приподнятых над водой платформ различных министерств и ведомств, на которых выполняют полеты вертолеты с базированием или без базирования на них. На МС и МБУ, где вертолеты не базируются, не требуется ряд систем и устройств, имеющихся на МС с базированием вертолетов (ангар, системы заправки спец жидкостями и газами, оборудование для техобслуживания, ремонта и т.п.). | | Оглавление: | Введение 1 Общие положения 2 Общие требования 3 Посадочная площадка 4 Ангар 5 Средства транспортировки и швартовки судовых вертолетов 6 Противопожарные и аварийно-спасательные средства 7 Судовые системы обеспечения СВ горюче—смазочными материалами и спецжидкостями 8 Система сжатых газов 9 Система подогрева, охлаждения и обмыва СВ 10 Система электроснабжения вертолетов 11Радиосветотехническое, метеорологическое и информационное обеспечение полетов вертолетов 12 Служебно—технические и жилые помещения | | Разработан: | ГОСНИИГА
| | Утверждён: | 26.12.1989 Министерство гражданской авиации СССР (USSR Ministry of Civil Aviation )
| | Заменяет собой: | - «Общие авиационные требования к средствам обеспечения вертолетов на судах и приподнятых над водой платформах (ОАТ ГА-85)»
|
                                                
|