Скачать АЗ-907 Руководство по подбору радиальных вентиляторов общего назначения для санитарно-технических системДата актуализации: 01.01.2021
|
| Обозначение: | АЗ-907 |
| Обозначение англ: | АЗ-907 |
| Статус: | справочные материалы, мп, тпр |
| Название рус.: | Руководство по подбору радиальных вентиляторов общего назначения для санитарно-технических систем |
| Дата добавления в базу: | 01.01.2021 |
| Дата актуализации: | 01.01.2021 |
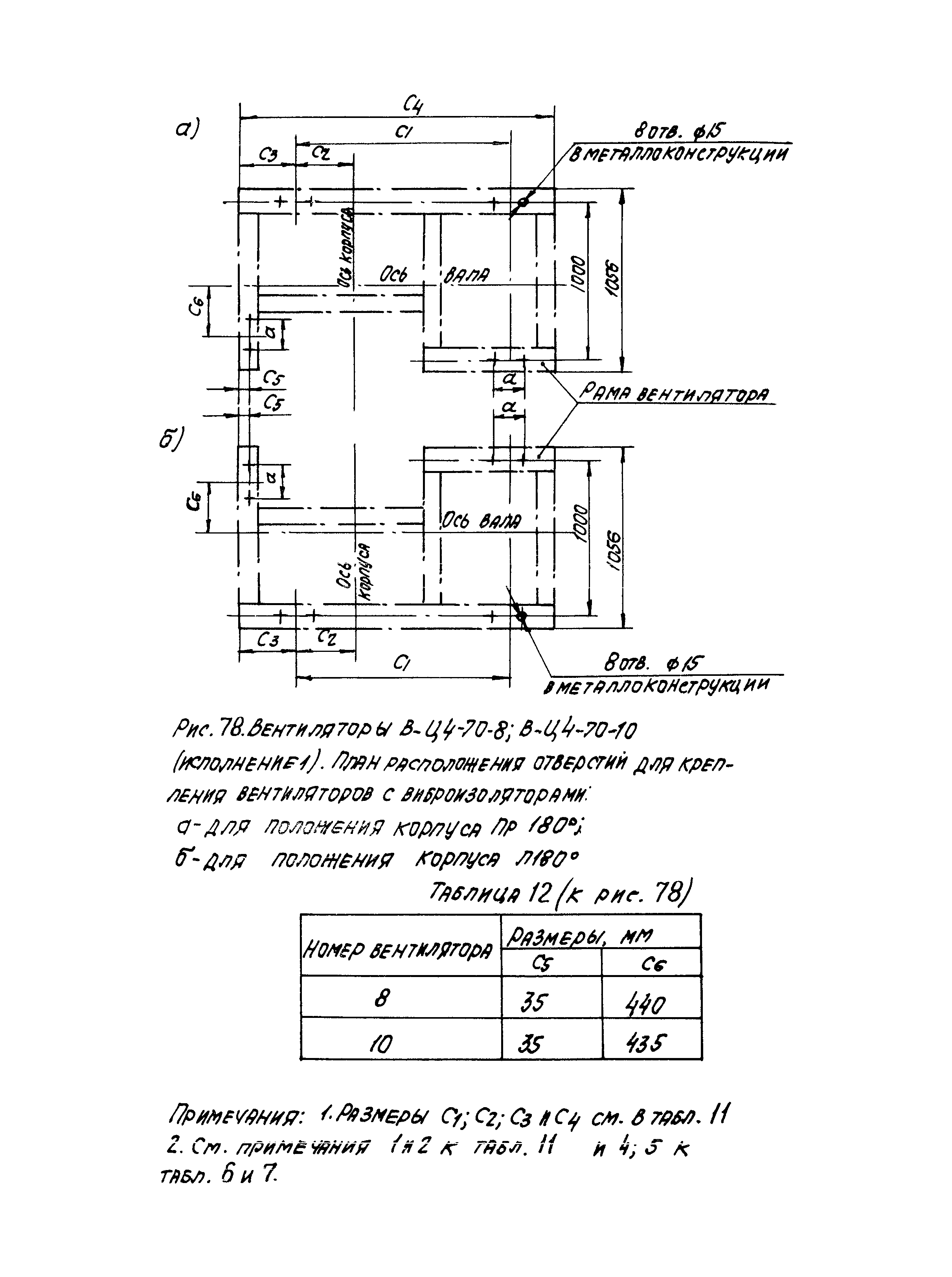
| Область применения: | Руководство содержит технические данные, указания по подбору, аэродинамические характеристики, габаритные, установочные и присоединительные размеры радиальных вентиляторов общего назначения (стальных) низкого и среднего давления, а также их индексы и коды ОКП в соответствии с действующими техническими условиями |
| Оглавление: | 1. Общие указания 2. Условные обозначения 3. Подбор вентиляторов Приложение 1. Индексы и коды ОКП по техническим условиям на вентиляторы Приложение 2. Динамические нагрузки от виброизолированных вентиляторов Приложение 3 (справочное). Размеры и технические характеристики виброизоляторов |
| Разработан: | ГПИ Сантехпроект |
| Утверждён: | Госстрой СССР |
| Издан: | ГПИ Сантехпроект (1984 г. ) |
| Нормативные ссылки: |
|




































































































































































































