Скачать РД 39-3-597-81 Руководство по применению метода магнитной обработки нефтегазоводяной смеси МУПС-АзНИПИнефтьДата актуализации: 01.01.2021
|
| Обозначение: | РД 39-3-597-81 |
| Обозначение англ: | RD 39-3-597-81 |
| Статус: | введен впервые |
| Название рус.: | Руководство по применению метода магнитной обработки нефтегазоводяной смеси "МУПС-АзНИПИнефть" |
| Дата добавления в базу: | 01.01.2021 |
| Дата актуализации: | 01.01.2021 |
| Дата введения: | 01.12.1981 |
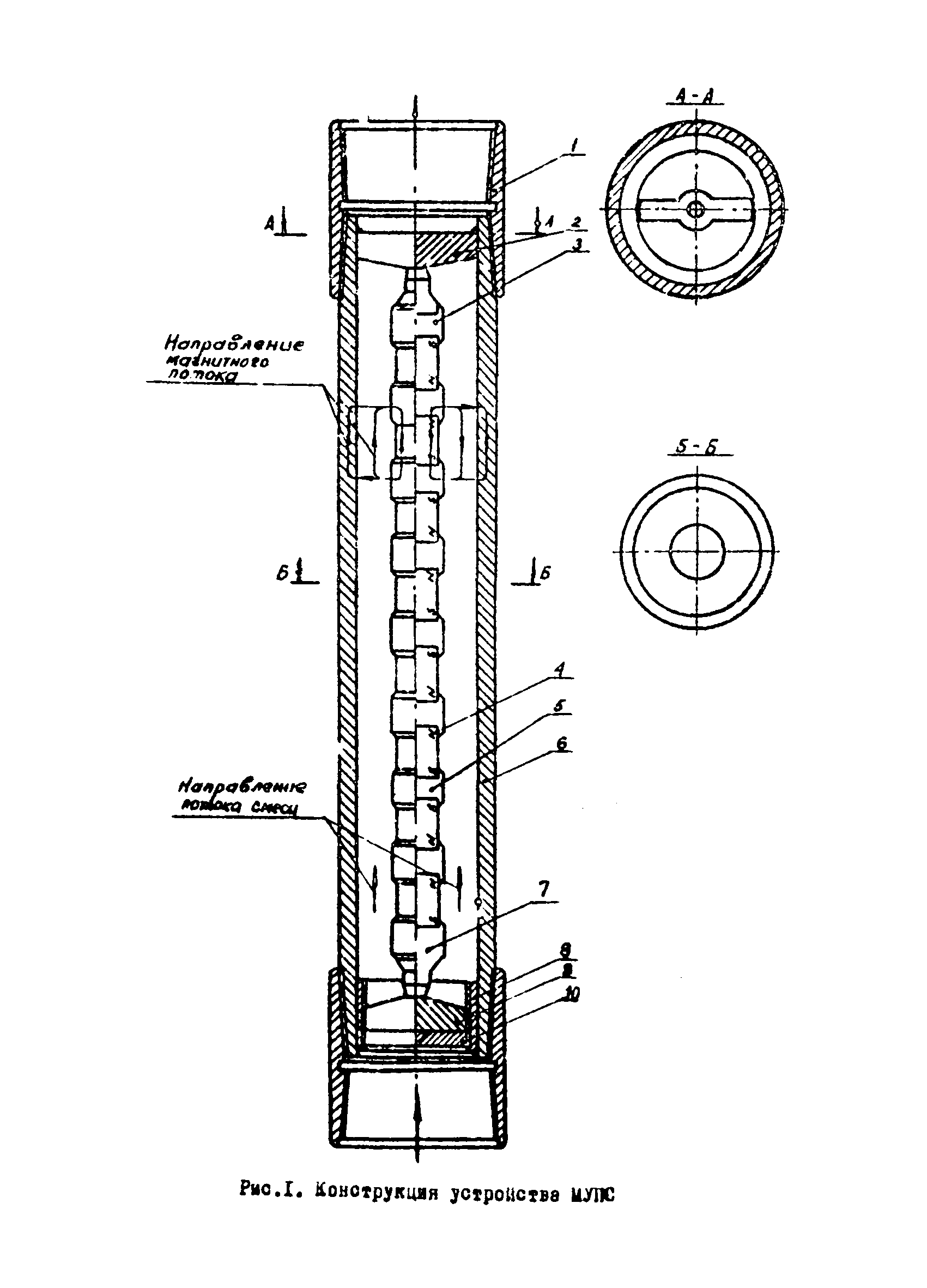
| Область применения: | В руководстве описано применение метода магнитной обработки нефтегазоводяной смеси магнитным устройством МУПС-АзНИПИнефть, предназначенным для предотвращения отложения солей в нефтепромысловом оборудовании в нефтяных и водяных скважинах (специального назначения) |
| Оглавление: | 1 Общие положения 2 Особенности эксплуатации солеобразующих нефтяных скважин 3 Магнитное устройство против солеотложения МУПС-АзНИПИнефть 4 Исследование тормозящего действия магнитного поля на осаждение солей из пластовых вод нефтяных горизонтов лабораторные исследования промысловые исследования 5 Технико-экономические показатели применения МУПС в солеобразующих нефтяных скважинах 6 Подбор размеров элементов МУПСа |
| Разработан: | АзНИПИнефть |
| Утверждён: | 03.09.1981 Министерство нефтяной промышленности |
| Принят: | Упрнефтегаздобыча |
| Нормативные ссылки: |





































