Скачать Т73.036.014 МП Преобразователи первичные Кварц ПП. Методика поверкиДата актуализации: 01.01.2021
|
| Обозначение: | Т73.036.014 МП |
| Обозначение англ: | Т73.036.014 МП |
| Статус: | действует |
| Название рус.: | Преобразователи первичные "Кварц ПП". Методика поверки |
| Дата добавления в базу: | 01.01.2021 |
| Дата актуализации: | 01.01.2021 |
| Область применения: | Методика поверки распространяется на преобразователи первичные "Кварц ПП" и устанавливает методы и средства их первичной и периодической поверок |
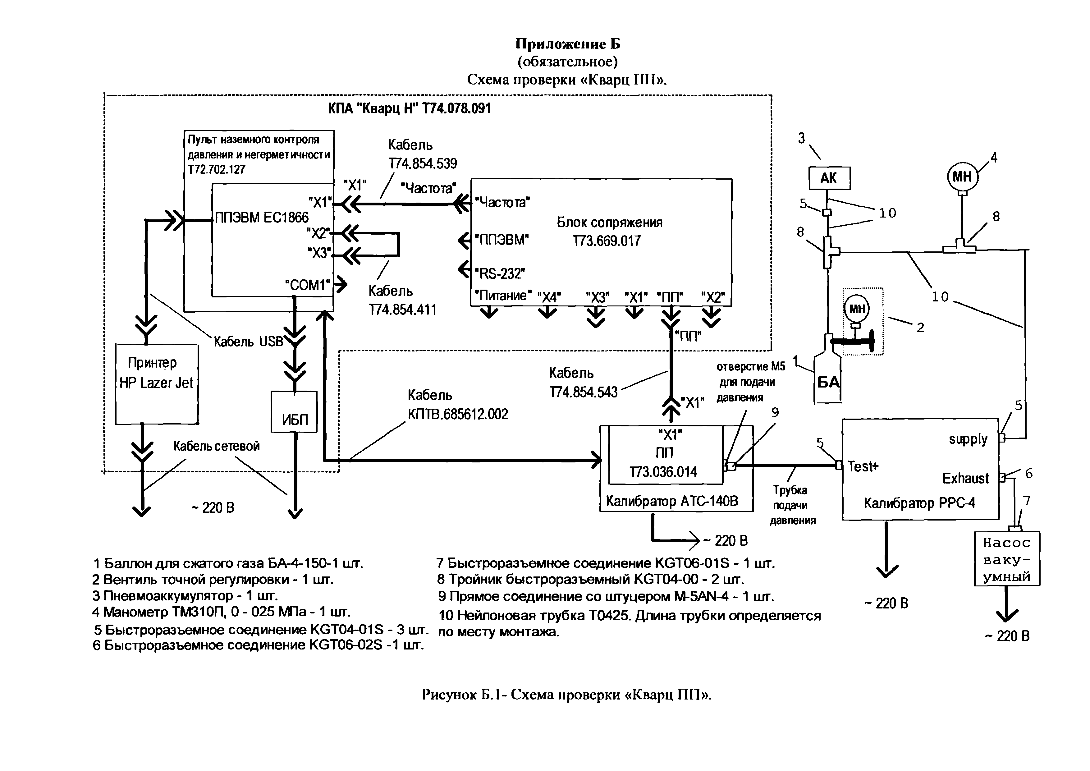
| Оглавление: | 1 Общие положения 2 Операции поверки 3 Средства поверки 4 Требования к квалификации поверителей 5 Требования безопасности 6 Подготовка к поверке 7 Условия поверки 8 Проведение поверки 9 Оформление результатов поверки Приложение А (справочное). Устройство выравнивающее. Сборочный чертеж Приложение Б (обязательное). Схема проверки "Кварц ПП" |
| Разработан: | ФГУП ВНИИФТРИ |
| Утверждён: | 16.01.2020 ФГУП ВНИИФТРИ |


















