Скачать ГОСТ Р 58908.1-2020 Промышленные системы, установки, оборудование и промышленная продукция. Принципы структурирования и коды. Часть 1. Основные правилаДата актуализации: 01.01.2021
|
| Обозначение: | ГОСТ Р 58908.1-2020 |
| Обозначение англ: | GOST R 58908.1-2020 |
| Статус: | принят |
| Название рус.: | Промышленные системы, установки, оборудование и промышленная продукция. Принципы структурирования и коды. Часть 1. Основные правила |
| Название англ.: | Industrial systems, installations, equipment and industrial products. Structuring principles and codes. Part 1. Basic rules |
| Дата добавления в базу: | 01.01.2021 |
| Дата актуализации: | 01.01.2021 |
| Дата введения: | 01.01.2021 |
| Область применения: | Стандарт устанавливает общие принципы структурирования систем, включая структурирование информации о самих системах. На основе данных принципов приведены правила и указания для формирования однозначных кодовых обозначений для объектов произвольной системы. Кодовое обозначение идентифицирует объекты с целью создания и поиска информации об объекте и, в случае реализации, о его соответствующем компоненте. Кодовое обозначение, расположенное на компоненте рассматриваемой системы, является ключевым параметром для поиска информации об этом объекте среди различных видов документации. Принципы, изложенные в стандарте, являются общими и применимы ко всем техническим областям (например, машиностроение, электротехника, строительство, технологическое проектирование). Их можно использовать как для систем, основанных на различных технологиях, так и для систем, объединяющих несколько технологий. |
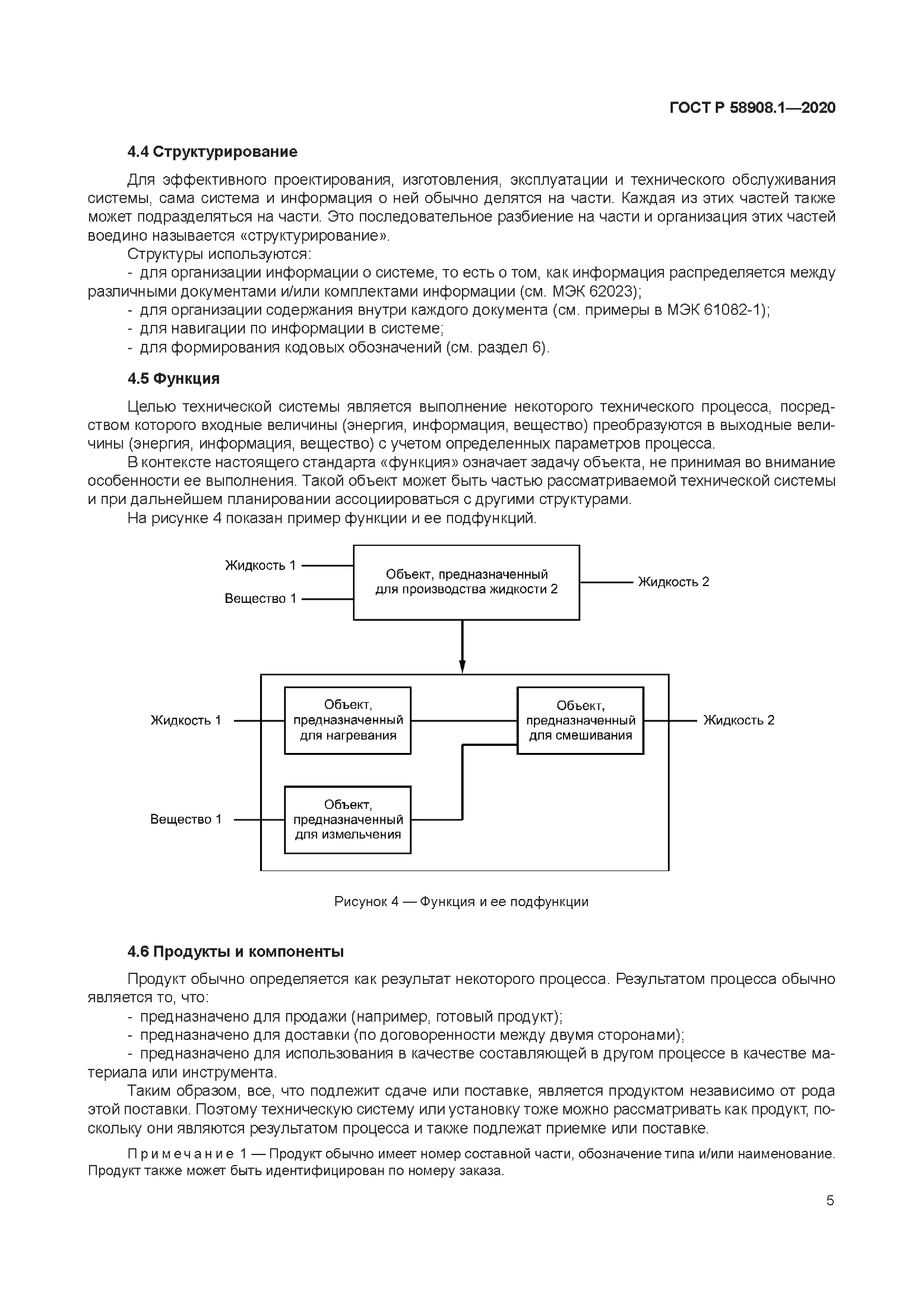
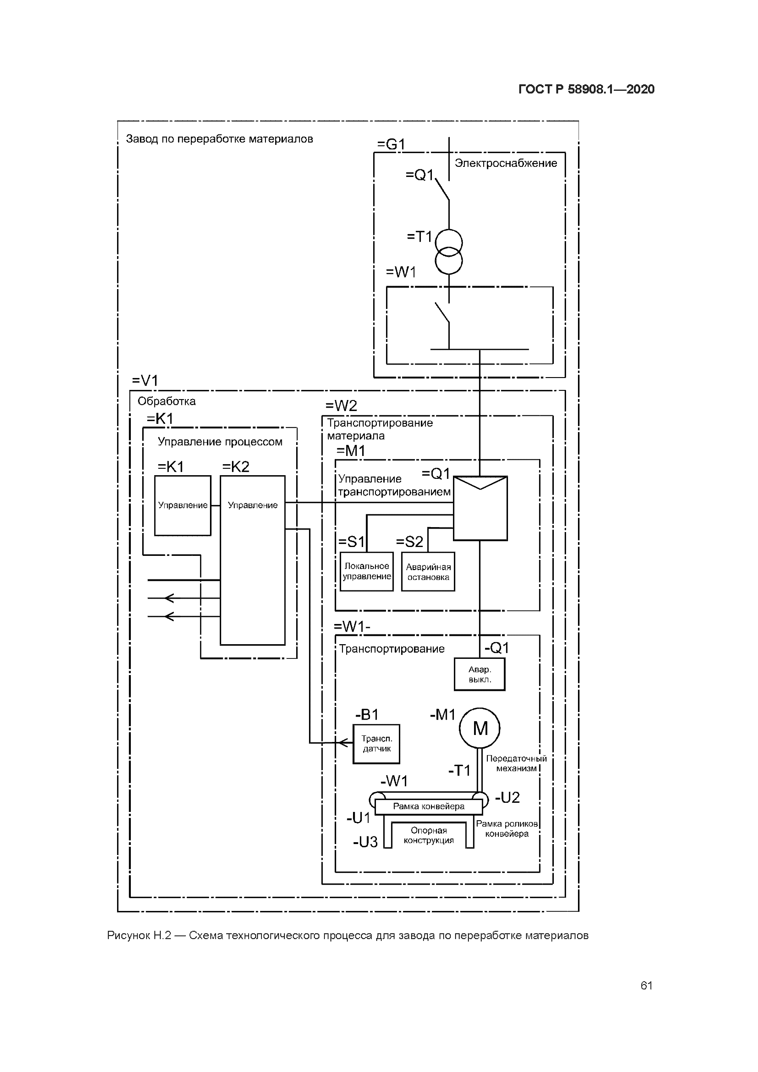
| Оглавление: | 1 Область применения 2 Нормативные ссылки 3 Термины и определения 4 Понятия 4.1 Объект 4.2 Аспект 4.3 Техническая система 4.4 Структурирование 4.5 Функция 4.6 Продукты и компоненты 4.7 Местоположение 4.8 Типы, экземпляры и отдельные объекты 5 Принципы структурирования 5.1 Основные положения 5.2 Формирование структуры (типы и экземпляры) 5.3 Функционально-ориентированная структура 5.4 Структура, ориентированная на продукт 5.5 Структура, ориентированная на местоположение 5.6 Структуры, основанные на других аспектах 5.7 Структуры, основанные более чем на одном аспекте 6 Формирование кодовых обозначений 6.1 Общие положения 6.2 Формат кодовых обозначений 6.3 Различные структуры в рамках одного аспекта 7 Система кодовых обозначений 8 Обозначение местоположений 8.1 Общие положения 8.2 Сборные конструкции 9 Представление кодовых обозначений 9.1 Кодовые обозначения 9.2 Набор кодовых обозначений 9.3 Представление идентификаторов верхнего узла 10 Маркировка Приложение A (справочное) Историческая справка Приложение B (справочное) Создание и жизненный цикл объектов Приложение C (справочное) Обращение с объектами Приложение D (справочное) Интерпретация кодовых обозначений с использованием различных аспектов Приложение E (обязательное) Объект, представленный несколькими верхними узлами в аспекте Приложение F (справочное) Примеры нескольких структур на основе одного и того же аспекта Приложение G (справочное) Пример структур и кодовых обозначений Приложение H (справочное) Пример кодовых обозначений в системе Приложение ДА (справочное) Сведения о соответствии ссылочных международных стандартов национальным стандартам Библиография |
| Разработан: | ООО НИЦ ЦПС |
| Утверждён: | 30.06.2020 Федеральное агентство по техническому регулированию и метрологии (324-ст) |
| Издан: | Стандартинформ (2020 г. ) |
| Нормативные ссылки: |












































































