Скачать ГОСТ Р 50530-93 Патроны к ручному огнестрельному оружию, устройствам промышленного и специального назначения. Виды и методы контроля при сертификационных испытаниях на безопасностьДата актуализации: 01.06.2025 ГОСТ Р 50530-93
Патроны к ручному огнестрельному оружию, устройствам промышленного и специального назначения. Виды и методы контроля при сертификационных испытаниях на безопасность
| Обозначение: |  ГОСТ Р 50530-93 |
| Статус: | заменён |
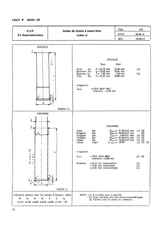
| Название рус.: | Патроны к ручному огнестрельному оружию, устройствам промышленного и специального назначения. Виды и методы контроля при сертификационных испытаниях на безопасность | | Название англ.: | Cartridges for portable fire-arms, firing devices of industrial and trade special purposes. Types and methods of control during safety certificating tests | | Дата актуализации текста: | 06.04.2015 | | Дата актуализации описания: | 01.07.2023 | | Дата издания: | 05.06.1995 | | Дата введения: | 01.07.1993 | | Дата окончания срока действия: | 01.01.2010 | | Код ОКП: | 727200 | | Заменяющий: | ГОСТ Р 50530-2007 | | Область применения: | Настоящий стандарт устанавливает виды и методы контроля патронов к ручному огнестрельному оружию, устройствам промышленного и специального назначения (далее патронов) при сертификационных испытаниях на безопасность в соответствии с нормативными документами Постоянной международной комиссии (ПМК) Брюссельской конвенции по взаимному признанию испытательных клейм ручного огнестрельного оружия. Стандарт не распространяется на патроны к оружию, используемому в наземных, морских и воздушных вооруженных силах: - испытательные патроны, снаряженные и непосредственно используемые Государственной испытательной станцией ГИС); - испытательные патроны, проданные изготовителем ГИС, минуя посредников; - экспериментальные патроны новых типов, которые находятся в стадии разработки и которые могут быть поставлены в небольших количествах для апробации различными пользователями, не входящими в персонал изготовителя; - патроны, изготовленные или повторно снаряженные в небольших количествах для личного пользования; - патроны, на которые Заявитель имеет сертификат соответствия, выданный испытательной станцией страны-члена Брюссельской конвенции | |
                                                                                       
|