| Обозначение: |  ГОСТ Р 50569.2-94 |
| Статус: | заменён |
| Название рус.: | Инструменты стоматологические вращающиеся. Алмазные инструменты. Диски. Общие технические требования и методы испытаний |
| Название англ.: | Dental rotary instruments. Diamond instruments. Specifications. Test methods |
| Дата актуализации текста: | 06.04.2015 |
| Дата актуализации описания: | 01.07.2023 |
| Дата издания: | 08.06.1994 |
| Дата введения: | 01.07.1995 |
| Дата окончания срока действия: | 01.03.2012 |
| Код ОКП: | 943375 |
| Заменяющий: | ГОСТ Р ИСО 7711-2-2010 |
| Нормативные ссылки: | ISO 7711-2:1992; ГОСТ 9.014-78; ГОСТ 9.302-88; ГОСТ 9206-80; ГОСТ 19126-79; ГОСТ 24297-87; ГОСТ 25706-83; ГОСТ 26634-91; ГОСТ Р 50350.2-92; ГОСТ Р 50352-92;ОСТ 42-21-2-85;РМ 25.1-001-86 |
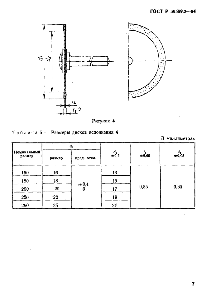
| Область применения: | Настоящий стандарт распространяется на алмазные стоматологические плоские диски, предназначенные для обработки твердых тканей зуба, используемые с зубоврачебными наконечниками в клинических условиях, и устанавливает общие технические требования к дискам и методы их испытаний. Стандарт не распространяется на алмазные круги, предназначенные для обработки зубных протезов |
|