| Обозначение: |  ГОСТ 15489.2-93 |
| Статус: | заменён |
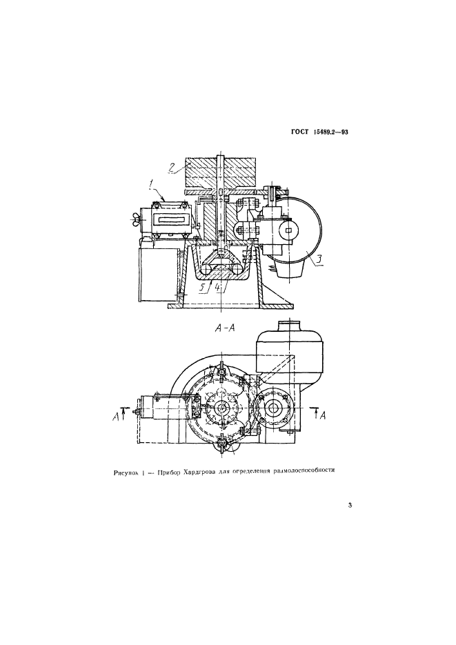
| Название рус.: | Угли каменные. Метод определения коэффициента размолоспособности по Хардгрову |
| Название англ.: | Hard coals. Determination of Hardgrove grindability index |
| Дата актуализации текста: | 06.04.2015 |
| Дата актуализации описания: | 01.07.2023 |
| Дата регистрации: | 21.10.1993 |
| Дата издания: | 14.03.1995 |
| Дата введения: | 01.01.1996 |
| Дата окончания срока действия: | 01.06.2019 |
| Код ОКП: | 032000 |
| Заменяющий: | ГОСТ 15489.2-2018 |
| Содержит требования: | ISO 5074:1980 |
| Нормативные ссылки: | ГОСТ 10742-71; ГОСТ 6613-86 |
| Область применения: | Настоящий стандарт устанавливает метод определения коэффициента размолоспособности каменного угля на приборе Хардгрова, а также методы тарирования прибора Хардгрова и подготовки стандартных проб угля |
|