| Обозначение: |  ГОСТ 8519-93 |
| Статус: | действующий |
| Название рус.: | Топливопроводы высокого давления дизелей и их соединения. Общие технические условия |
| Название англ.: | Jesel high-pressure fuel lines and connections. General specifications |
| Дата актуализации текста: | 06.04.2015 |
| Дата актуализации описания: | 01.01.2021 |
| Дата регистрации: | 21.10.1993 |
| Дата издания: | 06.02.1995 |
| Дата введения: | 01.01.1995 |
| Код ОКП: | 479114;475300 |
| Взамен: | ГОСТ 8519-88 |
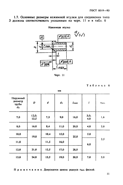
| Область применения: | Настоящий стандарт распространяется на топливопроводы высокого давления наружным диаметром не более 13 мм и внутренним диаметром не более 5 мм и их соединения с конусообразной уплотняющей поверхностью для дизелей всех назначений. Стандарт не распространяется на топливопроводы и их соединения для судовых дизелей, поднадзорных Регистру и требующих внешней противопожарной защиты |
|