| Обозначение: |  ГОСТ 30049-93 |
| Статус: | действующий |
| Название рус.: | Деревообрабатывающее оборудование. Станки круглопильные радиальные. Терминология и условия приемки |
| Название англ.: | Woodworking machines. Radial circular saws. Terminology and acceptance conditions |
| Дата актуализации текста: | 06.04.2015 |
| Дата актуализации описания: | 01.07.2023 |
| Дата регистрации: | 21.10.1993 |
| Дата издания: | 23.06.1995 |
| Дата введения: | 01.07.1996 |
| Код ОКП: | 383111 |
| Содержит требования: | ISO 7957:1987 |
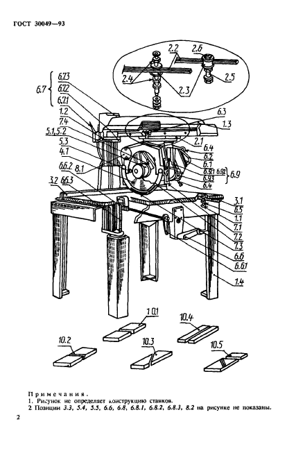
| Область применения: | Настоящий стандарт распространяется на круглопильные радиальные станки и устанавливает термины на основные детали и узлы станков, а также условия испытаний станков (проверки геометрических параметров) и допустимые отклонения. Стандарт пригоден для целей сертификации |
|