| Обозначение: |  ГОСТ 26589-94 |
| Статус: | действующий |
| Название рус.: | Мастики кровельные и гидроизоляционные. Методы испытаний |
| Название англ.: | Roofing and waterproof mastics. Methods of testing |
| Дата актуализации текста: | 06.04.2015 |
| Дата актуализации описания: | 01.07.2023 |
| Дата регистрации: | 17.03.1994 |
| Дата издания: | 10.01.1996 |
| Дата введения: | 01.01.1996 |
| Код ОКП: | 577400 |
| Взамен: | ГОСТ 26589-85 |
| Нормативные ссылки: | ГОСТ 12.1.044-89; ГОСТ 166-89; ГОСТ 267-73; ГОСТ 380-88; ГОСТ 427-75; ГОСТ 450-77; ГОСТ 2405-88; ГОСТ 4142-77; ГОСТ 4234-77; ГОСТ 6613-86; ГОСТ 6709-72; ГОСТ 11358-89; ГОСТ 11506-73; ГОСТ 19265-73; ГОСТ 21235-75; ГОСТ 21285-75; ГОСТ 23683-89; ГОСТ 24064-80; ГОСТ 25336-82; ГОСТ 25709-83 |
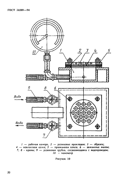
| Область применения: | Настоящий стандарт распространяется на кровельные и гидроизоляционные мастики, предназначенные для приклеивания рулонных кровельных и гидроизоляционных материалов, устройства защитных слоев кровель, устройства и ремонта мастичных кровель, устройства мастичных слоев гидроизоляции строительных конструкций, зданий и сооружений, и устанавливает методы испытаний |
|