Скачать ГОСТ 30324.10-95 Изделия медицинские электрические. Часть 2. Частные требования безопасности к стимуляторам нервов и мышцДата актуализации: 01.06.2025 ГОСТ 30324.10-95
Изделия медицинские электрические. Часть 2. Частные требования безопасности к стимуляторам нервов и мышц
| Обозначение: |  ГОСТ 30324.10-95 |
| Статус: | действующий |
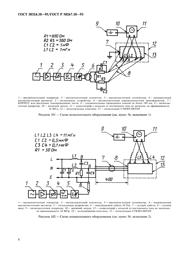
| Название рус.: | Изделия медицинские электрические. Часть 2. Частные требования безопасности к стимуляторам нервов и мышц | | Название англ.: | Medical electrical equipment. Part 2. Particular requirements for the safety of nerve and muscle stimulators | | Дата актуализации текста: | 06.04.2015 | | Дата актуализации описания: | 01.07.2023 | | Дата издания: | 23.11.2000 | | Дата введения: | 01.07.1996 | | Код ОКП: | 944410 | | Аутентичен стандартам: | ГОСТ Р 50267.10-93 | | Содержит требования: | IEC 60601-2-10(1984) | | Нормативные ссылки: | ГОСТ 30324.0-95; ГОСТ Р 50267.0-92 | | Область применения: | Настоящий стандарт устанавливает требования к стимуляторам нервов и мышц, предназначенным для использования в физиотерапии. Требования стандарта не распространяются на: - изделия, предназначенные для имплантирования или для подключения к имплантируемым электродам; - изделия, предназначенные для стимуляции мозга (например, изделия для электрошоковой терапии); - изделия, предназначенные для неврологических исследований; - изделия, задающие сердечный ритм; - изделия, носимые на теле; - стимуляторы, предназначенные для использования во время хирургических операций; - изделия, предназначенные для диагностики по усредненным вызванным потенциалам; - изделия, предназначенные для электромиографии; - изделия, предназначенные для кардиодефибрилляции; - изделия, предназначенные для использования только в качестве чрезкожных стимуляторов нервов и мышц для облегчения боли | |
             
|