| Обозначение: |  ГОСТ 18297-96 |
| Статус: | действующий |
| Название рус.: | Приборы санитарно-технические чугунные эмалированные. Технические условия |
| Название англ.: | Enamelled cast-iron sanitary appliances. Specifications |
| Дата актуализации текста: | 06.04.2015 |
| Дата актуализации описания: | 01.07.2023 |
| Дата регистрации: | 11.12.1996 |
| Дата издания: | 27.11.1997 |
| Дата введения: | 01.11.1997 |
| Код ОКП: | 494000 |
| Взамен: | ГОСТ 18297-80; ГОСТ 1154-80; ГОСТ 7506-83; ГОСТ 10161-83 |
| Нормативные ссылки: | ГОСТ 9.104-79; ГОСТ 380-94; ГОСТ 503-81; ГОСТ 1050-88; ГОСТ 1412-85; ГОСТ 3282-74; ГОСТ 5915-70; ГОСТ 6613-86; ГОСТ 7798-70; ГОСТ 10905-86; ГОСТ 11371-78; ГОСТ 14192-96; ГОСТ 15150-69; ГОСТ 15846-79; ГОСТ 16523-89; ГОСТ 26645-85 |
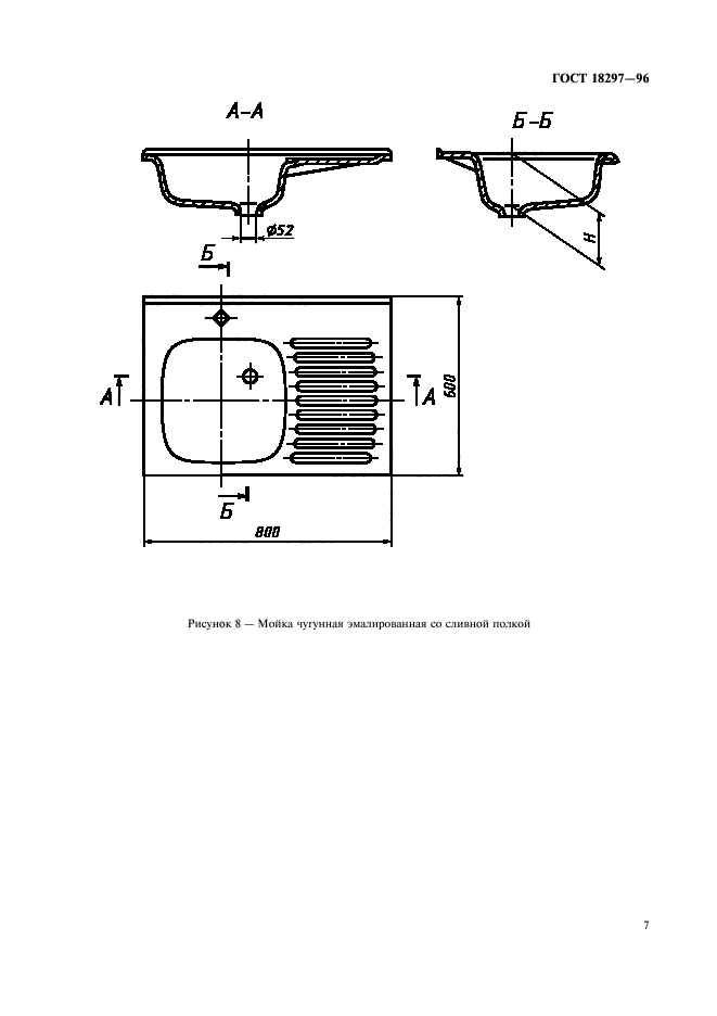
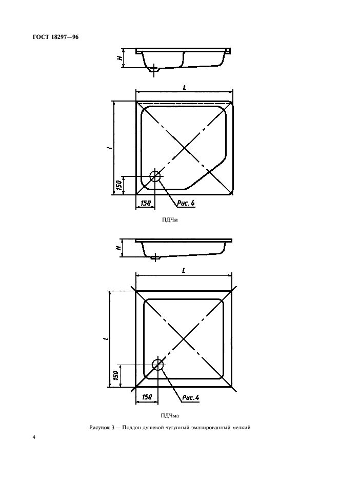
| Область применения: | Настоящий стандарт распространяется на санитарно-технические чугунные эмалированные приборы: ванны, душевые поддоны, мойки, устанавливаемые в зданиях различного назначения. Стандарт не распространяется на приборы специального назначения, подвергаемые воздействию морской или минеральной воды, а также других агрессивных сред |
|